消防吊顶结构的制作方法

本发明属于消防建筑领域,具体涉及消防吊顶结构。
背景技术:
1、吊顶结构通常是指设置于房屋天花板的装饰结构,吊顶属于室内装饰的重要部分之一。在吊顶的内部,通常设置有各种线路以及各种管路。因此,当线路或者管路出现损坏,极易导致吊顶出现火情。同时,由于部分的吊顶采用了木质结构,此种吊顶出现火灾时,燃烧的速度较快。
2、为了解决吊顶着火的问题,现有技术中通常会在吊顶的内部设置消防喷淋头,通过消防喷淋头在吊顶出现着火时,对火灾进行及时扑灭,避免火势扩散。在吊顶内部配置消防喷淋头的方式可以参考现有专利。申请号:202323053279.3,名称为,一种防止吊顶起火的灭火装置。
3、但是,由于在吊顶内部配置有消防喷淋头。同时,为了实现对房间内部进行防火,吊顶的表面也会配置消防喷淋头。而再由于为了保证消防喷淋头能够覆盖更大的面积,故无论是吊顶内部的消防喷淋头还是吊顶表面的消防喷淋头,都通常会设置多个,且每个消防喷淋头都需要有与之连通的水管。
4、因此,在使用现有技术对吊顶进行消防时,吊顶内需要配置错综复杂的管线,这毫无疑问会导致吊顶内部的可利用空间大幅减少。同时,管道较为复杂时,不便于进行后续的维修和维护。
技术实现思路
1、本发明提供消防吊顶结构,其目的在于解决现有技术中消防吊顶结构需要设置大量管路,导致吊顶内空间减少和不便维护的问题。
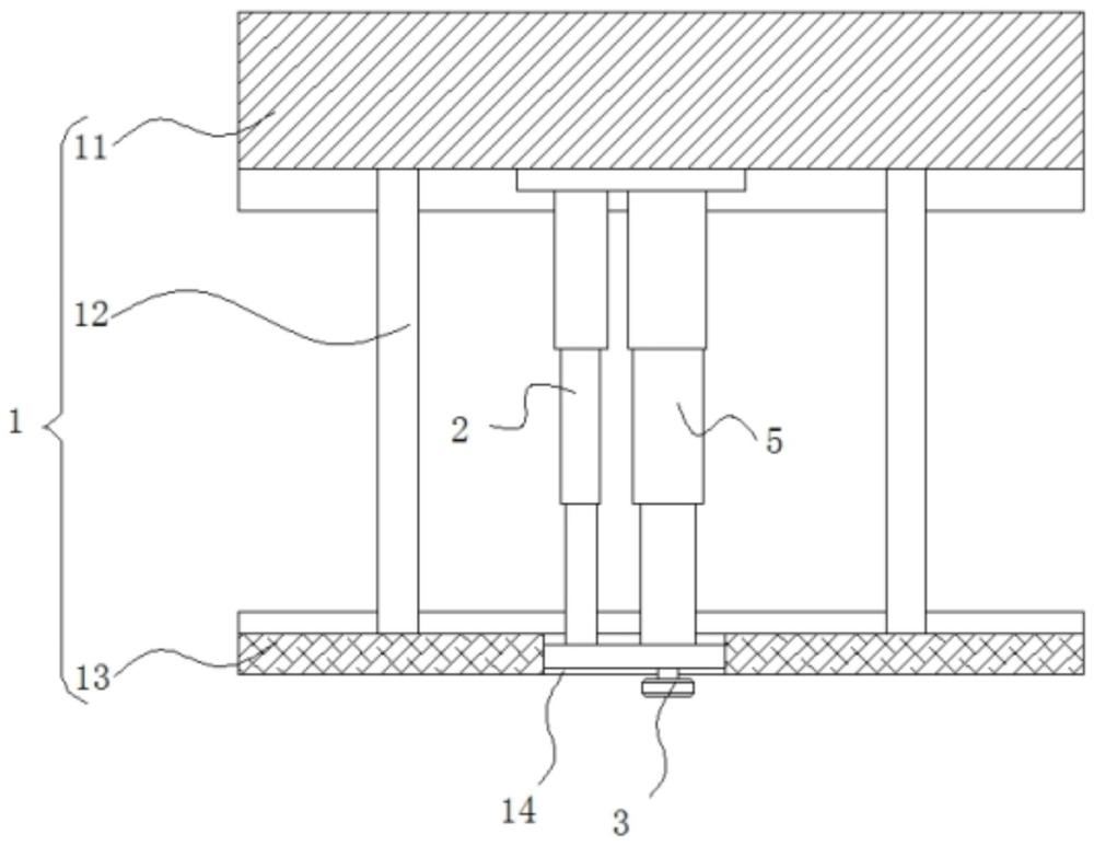
2、为了达到上述目的,本发明提供一种消防吊顶结构,其特征在于:包括;
3、消防喷淋头,所述消防喷淋头与柔性管道连接;
4、回缩机构,所述消防喷淋头安装于所述回缩机构的伸缩端;
5、所述回缩机构包括伸缩套管、弹簧与pvc销钉,所述弹簧与伸缩套管连接,所述弹簧可驱动伸缩套管回缩,所述pvc销钉安装于所述伸缩套管,所述pvc销钉用于锁定所述伸缩套管;
6、吊顶,所述吊顶构造有使得吊顶内部与外界连通的消防口,所述消防喷淋头安装于所述消防口处,且所述回缩机构可驱动所述消防喷淋头回缩进入所述吊顶内部。
7、本方案中将消防喷淋头安装于回缩机构的伸缩端,回缩机构可以驱动消防喷淋头进行回缩,从而从吊顶外部回缩进入吊顶内部。因此,本方案中通过一个消防喷淋头同时满足对吊顶内部和吊顶外部的消防,故相较于在吊顶表面以及吊顶内部都设置消防喷淋头,由于消防喷淋头的数量更少,故所需要配置的管道也更少。管道更少时,对于吊顶内部占据的空间更少,从而使得吊顶内部能够有更多的利用空间。
8、优选地,pvc销钉为了实现将伸缩套管锁定,本方案所述伸缩套管构造有锁定槽,所述pvc销钉前端可与所述锁定槽适配,使得所述伸缩套管被锁定。
9、本方案通过pvc销钉前端与锁定槽适配,实现将伸缩套管锁定。同时,当发生火情时,pvc销钉发生形变,pvc销钉便可与锁定槽分离。通过pvc销钉在高温环境下的形变,作为检测是否发生火情,检测精度高。
10、优选地,为了使得pvc销钉发生形变时,pvc销钉前端能够与锁定槽更为快速的分离。本方案所述锁定槽为半球形槽,所述pvc销钉前端呈圆形。
11、本方案通过半球形槽与半球形前端适配,当pvc销钉发生形变后,半球形的前端可以与锁定槽更易脱开,使得回缩机构的触发更为快速,实现更为快速的灭火。
12、为了降低pvc销钉的强度,本方案所述pvc销钉内部呈空心状态。
13、空心状态的pvc销钉强度更低,故pvc销钉受热时,pvc销钉更易发生形变,pvc销钉更易与锁定槽分离,保证回缩机构的触发更为快速,实现更为快速的灭火。
14、除此之外,由于设置有呈空心状态,故高温气流能够通过尾端而进入pvc销钉内部,在高温气流的作用下,pvc销钉能够更为快速被加热,pvc销钉更易发生形变。
15、优选地,为了便于pvc销钉能够朝向伸缩套管的伸缩方向形变,保证pvc销钉能够更为快速与锁定槽分离。本方案所述pvc销钉构造有贯穿所述pvc销钉的通槽,所述通槽的贯穿方向与所述伸缩套管的伸缩方向平行。
16、本方案通过设置贯穿pvc销钉的通槽,显然,设置通槽的位置的强度会降低。而再将通槽的贯穿方向设置为与伸缩套管的伸缩方向平行,pvc销钉更易朝向伸缩套管的伸缩方向弯曲,pvc销钉与与锁定槽分离速度更快,保证回缩机构的触发更为快速,实现更为快速的灭火。
17、优选地,为了保证pvc销钉安装时,pvc销钉中通槽的贯穿方向与伸缩套管的伸缩方向平行。本方案所述pvc销钉构造有导向部,所述伸缩套管构造有导向槽,所述导向部用于与所述导向槽适配,使得所述通槽的贯穿方向与所述伸缩套管的伸缩方向平行。
18、本方案通过导向部与导向槽实现对pvc销钉的安装导向,保证pvc销钉安装至伸缩套管时,pvc销钉中通槽的贯穿方向能够与伸缩套管的伸缩方向平行。
19、优选地,为了使得消防喷淋头回缩后,消防喷淋头的回缩高度更高,使得消防喷淋头能够喷淋更大的面积。本方案所述伸缩套管包括至少三个的伸缩节。
20、本方案中由于设置有至少三个伸缩节。因此,消防喷淋头被伸缩套管带动回缩时,消防喷淋头被带动回缩更高。显然,当消防喷淋头回缩高度更高时,消防喷淋头能够喷淋更大的面积。
21、优选地,由于柔性管道为柔性,故在火情发生时,柔性管道极易被损坏。因此,为了保护柔性管道,本方案优选还包括保护套管,所述柔性管道容纳于所述保护套管内部,所述保护套管可跟随所述消防喷淋头回缩。
22、通过保护套管将柔性管道容纳在内,从而实现对柔性管道的保护,解决柔性管道被高温损坏的问题。同时,保护套管可跟随消防喷淋头回缩,保护套管不会对消防喷淋头的回缩运动造成阻挡。
23、优选地,为了保证保护套管与伸缩套管能够同步进行伸缩,避免保护套管阻碍伸缩套管回缩。所述保护套管和伸缩套管的伸缩节数量保持一致。
24、优选地,为了避免柔性管道被高温气流损坏,本方案所述保护套管内部容纳有热隔离液。
25、本方案将柔性管道容纳于热隔离液中,故高温气流被热隔离液阻隔,从而保证柔性管道不会被高温气流损坏。
26、本发明的有益效果在于:第一,本方案中将消防喷淋头安装于回缩机构的伸缩端,回缩机构可以驱动消防喷淋头进行回缩,从而从吊顶外部回缩进入吊顶内部。因此,本方案中通过一个消防喷淋头同时满足对吊顶内部和吊顶外部的消防,故相较于在吊顶表面以及吊顶内部都设置消防喷淋头,由于消防喷淋头的数量更少,故所需要配置的管道也更少。管道更少时,对于吊顶内部占据的空间更少,从而使得吊顶内部能够有更多的利用空间。
27、第二,本方案中通过pvc销钉锁定回缩机构。当发生火情时,pvc销钉受到高温而发生形变,故pvc销钉实现对回缩机构的解锁。当回缩机构解锁时,消防喷淋头便可回缩进入吊顶内部,从而实现对吊顶内部的消防。本方案通过pvc销钉作为回缩机构的触发开关,保证了回缩机构能够在高温环境下被精确和快速的触发。
技术特征:
1.一种消防吊顶结构,其特征在于:包括;
2.根据权利要求1所述的消防吊顶结构,其特征在于:所述伸缩套管构造有锁定槽,所述pvc销钉前端可与所述锁定槽适配,使得所述伸缩套管被锁定。
3.根据权利要求2所述的消防吊顶结构,其特征在于:所述锁定槽为半球形槽,所述pvc销钉前端呈圆形;
4.根据权利要求1或3所述的消防吊顶结构,其特征在于:所述pvc销钉构造有贯穿所述pvc销钉的通槽,所述通槽的贯穿方向与所述伸缩套管的伸缩方向平行。
5.根据权利要求4所述的消防吊顶结构,其特征在于:所述pvc销钉构造有导向部,所述伸缩套管构造有导向槽,所述导向部用于与所述导向槽适配,使得所述通槽的贯穿方向与所述伸缩套管的伸缩方向平行。
6.根据权利要求1所述的消防吊顶结构,其特征在于:所述伸缩套管包括至少三个伸缩节。
7.根据权利要求1所述的消防吊顶结构,其特征在于:还包括保护套管,所述柔性管道容纳于所述保护套管内部,所述保护套管可跟随所述消防喷淋头回缩。
8.根据权利要求7所述的消防吊顶结构,其特征在于:所述保护套管和伸缩套管的伸缩节数量保持一致。
9.根据权利要求7所述的消防吊顶结构,其特征在于:所述保护套管内部容纳有热隔离液。
技术总结
本发明属于消防建筑领域,具体涉及消防吊顶结构。包括;消防喷淋头,所述消防喷淋头与柔性管道连接;回缩机构,所述消防喷淋头安装于所述回缩机构的伸缩端;所述回缩机构包括伸缩套管、弹簧与PVC销钉,所述弹簧与伸缩套管连接,所述弹簧可驱动伸缩套管回缩,所述PVC销钉安装于所述伸缩套管,所述PVC销钉用于锁定所述伸缩套管;吊顶,所述吊顶构造有使得吊顶内部与外界连通的消防口,所述消防喷淋头安装于所述消防口处,且所述回缩机构可驱动所述消防喷淋头回缩进入所述吊顶内部。本发明提供消防吊顶结构,其目的在于解决现有技术中消防吊顶结构需要设置大量管路,导致吊顶内空间减少和不便维护的问题。
技术研发人员:李百毅,马玉骁,成艳英,金羿,马锐,何小平,刘嘉,李伟,李诗涵,陈翱宇,刘天扬
受保护的技术使用者:成都市消防安全治理技术保障中心
技术研发日:
技术公布日:2024/9/2
技术研发人员:李百毅,马玉骁,成艳英,金羿,马锐,何小平,刘嘉,李伟,李诗涵,陈翱宇,刘天扬
技术所有人:成都市消防安全治理技术保障中心
备 注:该技术已申请专利,仅供学习研究,如用于商业用途,请联系技术所有人。
声 明 :此信息收集于网络,如果你是此专利的发明人不想本网站收录此信息请联系我们,我们会在第一时间删除
