冰箱用硅窗保湿果蔬抽屉的制作方法

本技术涉及冰箱保鲜,尤其涉及一种果蔬抽屉。
背景技术:
1、市场对冰箱分类存储需求越来越高,精细化的分类存储成为冰箱产品的一大功能卖点。用户经常为一些需要保湿存放的蔬菜、水果容易失去水分,食用口感下降而烦恼,而且容易腐烂变质。
2、冰箱用果蔬盒通常密封性较差,如果密封性较好,则将果蔬放入果蔬盒、将果蔬盒放入冰箱后,冰箱内的冷气不能进入果蔬盒,导致果蔬降温很慢,不能起到应有的低温保鲜作用。但密封性不好也有缺点:①冰箱内部的氧气持续与果蔬相互作用,果蔬容易腐烂变质。②果蔬盒内的湿气很快向果蔬盒外的冰箱内部空间释放,不能保持果蔬盒内的高湿状态,不利于果蔬的保鲜。
技术实现思路
1、本实用新型的目的在于提供一种冰箱用硅窗保湿果蔬抽屉,通过气体交换结构与冰箱内部空间交换气体,防止果蔬降温过慢,同时又避免密封性不好带来的缺点。
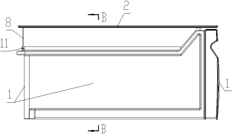
2、为实现上述目的,本实用新型的冰箱用硅窗保湿果蔬抽屉,包括抽屉斗,以使用中朝向使用者的方向为后向,反向为前向;抽屉斗顶端盖有抽屉盖,抽屉斗与抽屉盖密封压接,抽屉盖的中上部具有气调腔,气调腔的前侧壁开设有前通气孔,前通气孔与冰箱内部空间相通;气调腔底壁上有镂空部,镂空部向下连接有通气腔,通气腔向下与抽屉斗相通,通气腔内设有保湿膜;
3、冰箱内部空间-前通气孔-气调腔-通气腔及其内的保湿膜-抽屉斗形成冰箱内部空间的气体与抽屉斗内的气体的气体交换通路。
4、抽屉斗与抽屉盖之间的密封压接由以下结构实现:
5、抽屉盖的前侧板、左侧板和右侧板的底端分别卡接有下密封条,下密封条向下与抽屉盖顶端相压接;抽屉盖的的后侧板向前凸起设有水平板,水平板卡接有后密封条;后密封条与抽屉斗的后侧壁的前表面相压接。
6、通气腔还设有硅窗保鲜膜,硅窗保鲜膜位于保湿膜的上方并与保湿膜叠设在一起,硅窗保鲜膜和保湿膜串联在气体交换通路上。
7、本实用新型具有如下的优点:
8、抽屉斗与抽屉盖密封压接,保证抽屉斗周边密封良好;冰箱内部空间的气体通过气体交换通路与抽屉斗内的空气进行气体交换,可以在放入果蔬后通过气体交换避免果蔬降温过慢(冰箱内部空间的气体的气温低)。气体交换通路经过保湿膜,可以避免抽屉斗内空气中的水分散失至冰箱内部空间,从而保持抽屉斗内处于高湿状态,有利于果蔬保鲜。
9、抽屉斗与抽屉盖之间的密封压接结构在前后左右方向上均通过相应的密封条相压接,因而只需要使用者盖好抽屉盖,空气由抽屉斗与抽屉盖的接触面的周边的泄漏量就会非常少(尤其是存在有气流阻力远小于抽屉斗与抽屉盖的接触面接缝阻力的气体交换通路,气流自然绝大部分会经过气流阻力相对更小的气体交换通路),不影响抽屉斗内保持高湿状态和低氧状态。
10、硅窗保鲜膜和保湿膜串联在气体交换通路上,既利用保湿膜保持抽屉斗内的高湿状态,又利用硅窗保鲜膜本身的特性阻止抽屉斗与冰箱内部空间进行氧气交换,抽屉斗内的果蔬消耗氧气后可以保持抽屉斗内处于低氧浓度状态,果蔬更不容易腐烂变质。
技术特征:
1.冰箱用硅窗保湿果蔬抽屉,包括抽屉斗,以使用中朝向使用者的方向为后向,反向为前向;抽屉斗顶端盖有抽屉盖,其特征在于:
2.根据权利要求1所述的冰箱用硅窗保湿果蔬抽屉,其特征在于:抽屉斗与抽屉盖之间的密封压接由以下结构实现:
技术总结
本技术公开了一种冰箱用硅窗保湿果蔬抽屉,包括抽屉斗,以使用中朝向使用者的方向为后向,反向为前向;抽屉斗顶端盖有抽屉盖,抽屉斗与抽屉盖密封压接,抽屉盖的中上部具有气调腔,气调腔的前侧壁开设有前通气孔,前通气孔与冰箱内部空间相通;气调腔底壁上有镂空部,镂空部向下连接有通气腔,通气腔向下与抽屉斗相通,通气腔内设有保湿膜;硅窗保鲜膜和保湿膜串联在气体交换通路上。本技术既利用气体交换促进果蔬降温,又通过硅窗保鲜膜和保湿膜串联在气体交换通路上,保持抽屉斗内的高湿状态和低氧浓度状态,果蔬更不容易腐烂变质。
技术研发人员:韩根业
受保护的技术使用者:河南新飞智家科技有限公司
技术研发日:20231227
技术公布日:2024/9/2
技术研发人员:韩根业
技术所有人:河南新飞智家科技有限公司
备 注:该技术已申请专利,仅供学习研究,如用于商业用途,请联系技术所有人。
声 明 :此信息收集于网络,如果你是此专利的发明人不想本网站收录此信息请联系我们,我们会在第一时间删除
