在推进系统的着火区域中灭火操作的远程触发的制作方法

本发明涉及一种用于飞行器推进系统的组件以及包括这种组件的飞行器,该组件包括短舱和安装在短舱上的灭火器。本发明还涉及一种用于激活灭火器的方法,该灭火器适合于通过这种组件来实施。
背景技术:
1、飞行器通常包括至少一个推进系统,以确保飞行器的推进。推进系统包括涡轮机,例如涡轮喷气发动机或涡轮螺旋桨发动机,或者可以是混合动力或电发动机。
2、涡轮机包括风扇、至少一个压缩机、燃烧室、至少一个涡轮和排气喷嘴。例如,涡轮机可以包括低压压缩机和高压压缩机,以及高压涡轮和低压涡轮。
3、涡轮喷气发动机可以是旁通涡轮喷气发动机,在该旁通涡轮喷气发动机中,由风扇吸入的大量空气被分成主流和次级流,该主流穿过至少一个压缩机、燃烧室和至少一个涡轮,该次级流与主流同心。
4、涡轮机被容纳在短舱中。短舱附接到支撑推进系统的挂架或桅杆上,挂架本身附接在飞行器的机翼下。
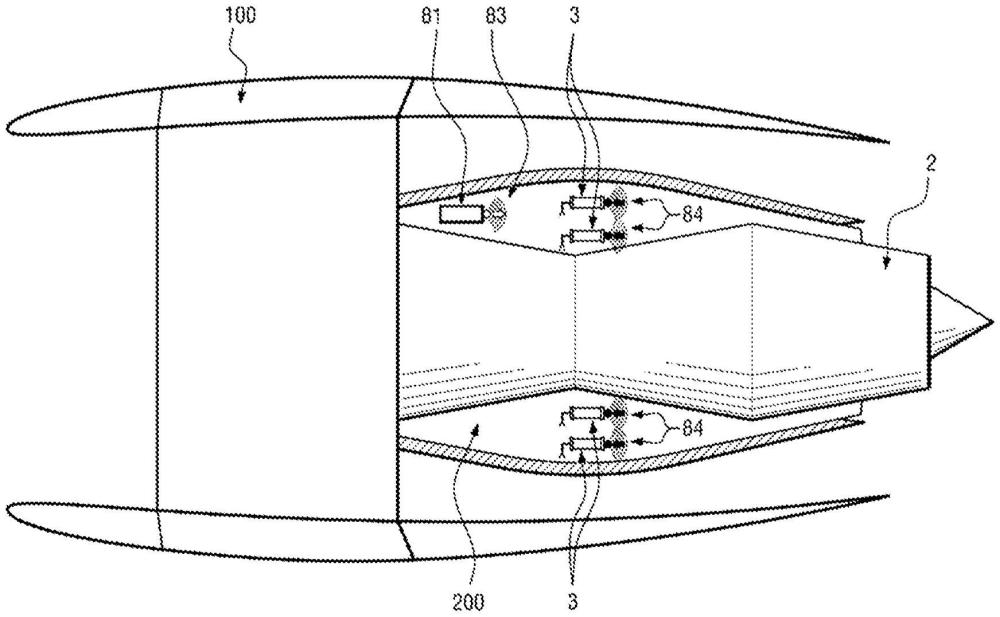
5、如图1a和图1b所示,短舱1可以包括涡轮机2上游的进气口、包围涡轮机2的风扇的风扇壳体15、至少部分地包围涡轮机2的压缩机的中间壳体,以及内部固定结构(internalfixed structure,ifs)11,上游和下游相对于运行中的涡轮机2中的气体的流动方向而限定。内部固定结构11至少包围涡轮机2的燃烧室。涡轮机的排出喷嘴23位于内部固定结构11的下游。
6、推进系统的着火区域是指必须能够扑灭可能在那里发生的任何火灾的区域。因此,着火区域被限定为可能同时存在易燃流体(油、煤油、液压油等)和点火源(电路、热部件、火花源等)。
7、短舱的内部固定结构和涡轮机的燃烧室可以界定出所谓的“热”着火区域。该热着火区域在涡轮机运行过程中会受到高温,该高温通常大于110℃,例如在250℃或甚至500℃的环境中,包括在涡轮机中没有着火的情况下。
8、短舱的风扇壳体15和风扇界定出了所谓的“冷”着火区域。当涡轮机运行时,当没有着火时,该冷着火区域的温度低于热着火区域的温度。
9、为了避免在推进系统着火时损坏飞行器的重要结构,现行条例要求有灭火设备,该灭火设备能够扑灭在推进系统的任何着火区域中发生的火灾。
10、目前的灭火设备通常安装在飞行器机翼下方,靠近安装有推进系统的挂架,或者直接安装在挂架下方,以便由挂架或机翼承载。这些灭火设备可以由加压气体的球形瓶组成,加压气体的球形瓶通过限制瓶的质量来抵抗内部压力:例如,加压气体的球形瓶可以是分布在挂架下方并且包含哈龙的缸体,哈龙是一种基于溴三氟甲烷的气态制剂。图2示出了这种灭火设备,该灭火设备包括加压气体的球形瓶3’,该加压气体的球形瓶安装在飞行器的机翼500的下方、靠近挂架600。
11、这些灭火设备还包括控制单元,该控制单元安装在挂架上或安装在机翼上、靠近加压气体的球形瓶,并且通过电缆线连接到加压气体的球形瓶。当火灾传感器检测到推进系统中发生火灾时,飞行员被告知发生火灾,飞行员可以通过从驾驶舱向控制单元发送指令来触发灭火操作。该指令经由电缆线从控制单元传输到加压气体的球形瓶。根据指令,加压气体的球形瓶对着火的着火区域进行喷洒。
12、然而,灭火剂经由短舱的上部在可以相对远离待扑灭的火的位置处注入。因此,为了灭火,必须注入大量灭火剂以能够淹没着火区域,这导致灭火剂的大量损失。这导致灭火设备的重量显著增加,并因此导致推进系统的重量显著增加。可以设置管道,将灭火剂从缸体输送到着火区域,以便尽可能靠近着火区域,注入灭火剂。然而,这些管道复杂、沉重,并且如果希望尽可能靠近短舱进行注入,则出于维护涡轮机的原因,在短舱的拆卸和重新组装过程中,这些管线的延伸需要额外的连接,如果进行了错误的连接,则会导致复杂性和安全风险。此外,结合在机翼下方或挂架下方的缸体降低了挂架处的气流的空气动力学特性,从而降低了涡轮机的推进效率。
13、最后,哈龙是一种温室效应非常高的气体,因此污染非常严重。因此,倾向于由其他污染较少的灭火剂替代哈龙,诸如novec 1230,也称为fk-5-1-12,其是一种在离开喷嘴时变成气态的液体剂。
14、已知的灭火设备适合于经由加压注射器注入除哈龙以外的液体灭火剂。例如,文献fr 3,077,989 a1描述了一种灭火设备,该灭火设备包括灭火剂的储存罐、可变容积腔室、位于罐和可变容积腔室之间的活塞,以及气体发生器,该气体发生器被构造成对灭火剂进行加压,以将灭火剂散布到罐的外部。为了被激活从而触发灭火操作,这些设备需要约几瓦特的激活能量。该激活能量使得能够触发气体发生器的点火。然后,气体发生器将推进剂气体注入到可变容积腔室中,这引起活塞的位移,活塞倾向于经由喷嘴将灭火剂排出罐。激活能量经由将控制单元连接到气体发生器的电缆线从控制单元供应到气体发生器。
15、其他灭火设备(诸如文献fr 3,060,652 a1中所描述的灭火设备)使用合适的气体将柔性灭火壁移向短舱的着火区域,通过缺氧来抑制短舱的着火区域中的火,从而避免了使用化学灭火剂。
16、最后,文献fr 3,041,936 a1描述了一种灭火设备,该灭火设备包括位于短舱的上游部段或中间部段处的灭火剂罐。灭火剂可以通过产生加压气体的烟火筒的爆炸来释放。然而,灭火设备位于远离短舱的所谓的“热”着火区域的位置,并且灭火器未被构造成将灭火剂注入到该区域中。因此,该灭火设备不能有效地扑灭在该热着火区域中发生的火灾。在热着火区域中灭火的前提是增加复杂的管道,以将灭火器连接到短舱的内部固定结构。此外,灭火设备本身不能移动到短舱的内部固定结构,因为灭火设备具有有限的耐高温能力,并且不能承受短舱的热着火区域所暴露的温度。
17、最后,则将灭火器安装在短舱上,从而与安装在挂架上的控制单元相距一距离。将激活指令从控制单元传输到灭火器的电缆线将安装在挂架上的控制单元连接到安装在短舱上的灭火器。因此,当必须拆卸推进系统和/或短舱时,该灭火设备使维护变得复杂。具体地,安装在挂架上的控制单元不受推进系统的拆卸的影响。另一方面,由于灭火器安装在短舱上,因此必须与短舱或推进系统一起拆卸。因此,连接控制单元和灭火器的电缆线在拆卸推进系统或其上安装灭火器的推进系统的部件的过程中必须被拔出,然后在维护操作之后重新安装时再次插入。然而,被拔出或被错误地再次插入的缆线将造成相当大的安全问题,因为它可能导致无法起飞或由于阻止灭火操作的触发而引起事故。因此,该灭火设备增加了维护操作的复杂性,因为该灭火设备需要拔出缆线的步骤、插入缆线的步骤,以及在维护操作之后检查缆线是否已经正确地插入的步骤。此外,该灭火设备会给乘客的安全带来风险。
技术实现思路
1、本发明的一个主题是提供一种适合于在涡轮机的着火区域中执行灭火操作的组件,该组件不会使推进系统的维护操作复杂化并且不会损害灭火操作的安全性。
2、本发明的另一个主题是提供一种能够远程触发灭火操作的组件。
3、根据第一方面,本发明涉及一种用于飞行器推进系统的组件,该组件包括:
4、-短舱,该短舱围绕纵向轴线延伸并适合于围绕推进系统布置,所述短舱包括内部面,该内部面适合于与推进系统的外部面界定出着火区域;
5、-灭火器,该灭火器被设计成扑灭着火区域中的火,灭火器包括罐和喷洒喷嘴,该罐适合于容纳灭火剂,该喷洒喷嘴被构造成将灭火剂喷洒出罐并进入着火区域;
6、-激活设备,该激活设备用于激活灭火器;
7、-控制单元,该控制单元适合于将控制指令传输到激活设备,激活设备适合于接收由控制单元传输的控制指令,并且激活设备适合于响应于接收控制指令而将激活指令传输到灭火器,所述激活指令适合于激活灭火器,从而使灭火剂经由喷嘴排出,
8、该组件的特征在于,灭火器安装在短舱上,并且该组件还包括用于将控制指令从控制单元传输到激活设备的以下元件中的至少一个:
9、-控制单元和激活设备之间的无线通信装置;
10、-连接控制单元和激活设备的缆线,以及用于检测缆线的拔出状态的系统。
11、上述组件的某些优选但非限制性的特征单独或组合如下:
12、-控制单元和激活设备之间的无线通信装置包括以下元件中的至少一个:通过无线电信号进行通信的装置,例如wi-fi、无线航空电子设备内部通信和/或rfid类型的装置;通过光信号进行通信的装置,例如激光、可见光通信、li-fi和/或光电系统类型的装置;通过波进行通信的装置,例如微波类型的装置,所述波适合于传输到短舱的结构;
13、-用于传输控制指令的元件是无线通信装置,并且还被配置成确定控制单元和激活设备是否在通信范围内;
14、-灭火器还包括可变容积腔室、位于罐和可变容积腔室之间的活塞,以及被构造成将推进剂气体注入到可变容积腔室中的气体发生器,推进剂气体的所述注入适合于产生对灭火剂进行加压的活塞的运动;
15、-传输元件包括缆线,激活设备包括气体发生器,并且缆线连接控制单元和灭火器的气体发生器;
16、-组件包括多个灭火器,激活设备适合于例如通过以下方式选择性地激活组件的灭火器中的一个或多个:用于传输根据灭火器而不同的激活指令的元件,根据灭火器而不同的激活指令的传输频率,和/或根据灭火器而不同的标识符;
17、-由激活设备传输到灭火器的激活指令包括能量大于或等于灭火器的激活能量的波;
18、-由激活设备传输到灭火器的激活指令包括能量严格小于灭火器的激活能量的波,并且激活设备还包括局部能量源,该局部能量源适合于响应于接收激活指令而激活灭火器;
19、-该组件还包括挂架,短舱附接到挂架。
20、根据第二方面,本发明涉及一种飞行器,该飞行器包括根据第一方面的组件、推进系统、机翼和附接到飞行器的机翼下方的挂架,短舱附接到挂架。
21、可选地,控制单元安装在挂架上。
22、根据第三方面,本发明涉及一种用于激活灭火器的方法,该方法适合于通过根据第一方面的组件来实现,该方法包括以下步骤:
23、-通过控制单元将控制指令传输到灭火器的激活设备,所述传输通过无线传输和/或通过连接控制单元和激活设备的缆线的传输来完成,该方法然后还包括检测所述缆线的拔出状态的步骤;
24、-通过激活设备接收控制指令;
25、-响应于接收控制指令,通过激活设备将激活指令传输到灭火器;以及
26、-响应于灭火器接收到激活指令,经由喷嘴排出灭火剂。
技术研发人员:帕特里克·戈尼代克,帕特里克·安德烈·博利奥
技术所有人:赛峰短舱公司
备 注:该技术已申请专利,仅供学习研究,如用于商业用途,请联系技术所有人。
声 明 :此信息收集于网络,如果你是此专利的发明人不想本网站收录此信息请联系我们,我们会在第一时间删除
