一种盘管式蒸汽发生器的制作方法

本技术涉及蒸汽发生器,具体来说,涉及一种盘管式蒸汽发生器。
背景技术:
1、蒸汽发生器也叫蒸汽热源机(俗称锅炉)是利用燃料或其他能源的热能把水加热成为热水或蒸汽的机械设备,锅的原义是指在火上加热的盛水容器,炉是指燃烧燃料的场所,锅炉包括锅和炉两大部分。
2、经过检索后发现,公开号为cn215929518u,名称为一种盘管式直流蒸汽发生器,该申请提出了蒸汽发生器在使用过程中容易结垢,但是目前现有技术中的蒸汽发生器中的蒸汽管通常是固定式的,不方便拆装,不利于后续维护和维修的问题,通过蒸汽管的两端分别通过连接套与两根供应管的相对端可拆卸连接,方便拆装蒸汽管,便于后续蒸汽管的维护和维修,操作简便,省时省力,但是,该申请在实际拆卸的过程中,需要解除盘管两端的连接,较为麻烦,且加热盘管上固定安装加热电阻,取出加热盘管意味着连同加热电阻一同取出,还需要拆除加热电阻的电连接部分,更加麻烦,同时,加热电阻的加热速度慢,蒸汽产生速度慢,蒸汽产生效率低,也还可以进一步做出改进。
3、针对相关技术中的问题,目前尚未提出有效的解决方案。
技术实现思路
1、(一)解决的技术问题
2、针对现有技术的不足,本实用新型提供了一种盘管式蒸汽发生器,具备蒸汽发生速度快、拆卸检修更加方便、提高了蒸汽发生效率的优点,进而解决上述背景技术中的问题。
3、(二)技术方案
4、为实现上述蒸汽发生速度快、拆卸检修更加方便、提高了蒸汽发生效率的优点,本实用新型采用的具体技术方案如下:
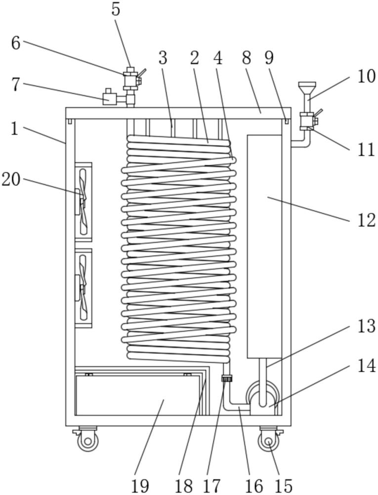
5、一种盘管式蒸汽发生器,包括外箱和盘管主体,所述外箱顶面通过弹簧锁扣固定连接有上盖,且上盖底面通过吊装架固定吊装有盘管主体,并且盘管主体外侧位于外箱内部固定安装有电磁加热感应线圈,所述盘管主体一端贯通连接有蒸汽管,且蒸汽管贯穿上盖并延伸至上盖上方,并且盘管主体另一端向下弯折并贯通连接有螺旋快接头,所述外箱一侧内壁固定安装有水箱,且水箱下方位于外箱内部固定安装有水泵,并且水泵进水端通过出水管与水箱贯通连接,所述水泵出水端贯通连接有进水管,且进水管向上弯折并与螺旋快接头贯通连接,所述外箱正立面对应螺旋快接头位置铰接有拆卸门,所述上盖底面固定安装有定位插杆,所述外箱顶面对应定位插杆位置开设有插孔。
6、进一步的,所述外箱另一侧内壁固定安装有风机,且风机出风方向对准盘管主体。
7、进一步的,所述水箱顶面贯通连接有加水管,且加水管贯穿外箱并延伸至外箱外侧。
8、进一步的,所述加水管表面安装有第二阀门。
9、进一步的,所述蒸汽管表面安装有第一阀门。
10、进一步的,所述第一阀门下方位于蒸汽管表面贯通连接有泄压阀。
11、进一步的,所述外箱内底面固定安装有蓄电池,且蓄电池外侧罩设有保护箱,并且保护箱内壁粘贴有隔热棉。
12、进一步的,所述外箱底面拐角处安装有万向轮,且外箱背立面固定安装有推把,并且外箱正立面固定安装有控制器。
13、(三)有益效果
14、与现有技术相比,本实用新型提供了一种盘管式蒸汽发生器,具备以下有益效果:
15、(1)、本实用新型采用了上盖和螺旋快接头,在产生蒸汽时,水箱中的水通过水泵注入到盘管主体中,位于盘管主体外侧的电磁加热感应线圈通电,快速加热盘管主体,进而快速加热水产生蒸汽沿蒸汽管喷出,电磁加热感应线圈对金属制的盘管主体加热速度快,可快速产生蒸汽,蒸汽产生效率更高,同时,当盘管主体需要拆卸检修时,工作人员只需要打开拆卸门,转动螺旋快接头使盘管主体与进水管分离,即可打开弹簧锁扣,取出上盖和盘管主体,重新安装时,将上盖底面的定位插杆与外箱顶面的插孔对齐,安装好上盖后重新连接螺旋快接头即可完成重新组装,安拆更加快速便捷,显著提高了维护检修的便利性。
16、(2)、本实用新型采用了风机,在蒸汽发生时,可启动风机,风机产生风力吹向盘管主体,将盘管主体表面的余热吹到水箱表面,通过热量传递预热水箱中的水,进而提高后期水进入到盘管主体内部的温度,进一步加速蒸汽发生,进一步提高了蒸汽发生效率。
技术特征:
1.一种盘管式蒸汽发生器,其特征在于,包括外箱(1)和盘管主体(2),所述外箱(1)顶面通过弹簧锁扣(21)固定连接有上盖(8),且上盖(8)底面通过吊装架(3)固定吊装有盘管主体(2),并且盘管主体(2)外侧位于外箱(1)内部固定安装有电磁加热感应线圈(4),所述盘管主体(2)一端贯通连接有蒸汽管(5),且蒸汽管(5)贯穿上盖(8)并延伸至上盖(8)上方,并且盘管主体(2)另一端向下弯折并贯通连接有螺旋快接头(17),所述外箱(1)一侧内壁固定安装有水箱(12),且水箱(12)下方位于外箱(1)内部固定安装有水泵(14),并且水泵(14)进水端通过出水管(13)与水箱(12)贯通连接,所述水泵(14)出水端贯通连接有进水管(16),且进水管(16)向上弯折并与螺旋快接头(17)贯通连接,所述外箱(1)正立面对应螺旋快接头(17)位置铰接有拆卸门(23),所述上盖(8)底面固定安装有定位插杆(9),所述外箱(1)顶面对应定位插杆(9)位置开设有插孔。
2.根据权利要求1所述的一种盘管式蒸汽发生器,其特征在于,所述外箱(1)另一侧内壁固定安装有风机(20),且风机(20)出风方向对准盘管主体(2)。
3.根据权利要求1所述的一种盘管式蒸汽发生器,其特征在于,所述水箱(12)顶面贯通连接有加水管(10),且加水管(10)贯穿外箱(1)并延伸至外箱(1)外侧。
4.根据权利要求3所述的一种盘管式蒸汽发生器,其特征在于,所述加水管(10)表面安装有第二阀门(11)。
5.根据权利要求1所述的一种盘管式蒸汽发生器,其特征在于,所述蒸汽管(5)表面安装有第一阀门(6)。
6.根据权利要求5所述的一种盘管式蒸汽发生器,其特征在于,所述第一阀门(6)下方位于蒸汽管(5)表面贯通连接有泄压阀(7)。
7.根据权利要求1所述的一种盘管式蒸汽发生器,其特征在于,所述外箱(1)内底面固定安装有蓄电池(19),且蓄电池(19)外侧罩设有保护箱(18),并且保护箱(18)内壁粘贴有隔热棉。
8.根据权利要求1所述的一种盘管式蒸汽发生器,其特征在于,所述外箱(1)底面拐角处安装有万向轮(15),且外箱(1)背立面固定安装有推把(24),并且外箱(1)正立面固定安装有控制器(22)。
技术总结
本技术公开了一种盘管式蒸汽发生器,包括外箱和盘管主体。有益效果:本技术采用了上盖和螺旋快接头,水箱中的水通过水泵注入到盘管主体中,位于盘管主体外侧的电磁加热感应线圈通电,快速加热盘管主体,进而快速加热水产生蒸汽沿蒸汽管喷出,电磁加热感应线圈对金属制的盘管主体加热速度快,可快速产生蒸汽,蒸汽产生效率更高,同时,当盘管主体需要拆卸检修时,工作人员只需要打开拆卸门,转动螺旋快接头使盘管主体与进水管分离,即可打开弹簧锁扣,取出上盖和盘管主体,重新安装时,将上盖底面的定位插杆与外箱顶面的插孔对齐,安装好上盖后重新连接螺旋快接头即可完成重新组装,安拆更加快速便捷,显著提高了维护检修的便利性。
技术研发人员:李涛涛
受保护的技术使用者:江苏德斯盾热能设备有限公司
技术研发日:20231023
技术公布日:2024/9/2
技术研发人员:李涛涛
技术所有人:江苏德斯盾热能设备有限公司
备 注:该技术已申请专利,仅供学习研究,如用于商业用途,请联系技术所有人。
声 明 :此信息收集于网络,如果你是此专利的发明人不想本网站收录此信息请联系我们,我们会在第一时间删除
