低应力的MEMS传感器封装结构的制作方法

本技术涉及一种mems芯片封装技术,尤其涉及一种针对mems芯片减低残余应力影响的封装结构。
背景技术:
1、mems芯片是指微机电系统(micro-electro-mechanical systems)芯片,也被称为微机电系统集成电路。它通过微纳制造技术将微小的机械部件制造在芯片表面上,并与电路元件相互连接。这些微小的机械结构可以实现感应、测量、控制和执行等功能。mems已被广泛应用于汽车电子、航空航天等领域的各种传感器芯片,其核心功能是将物理信号转换为电子设备能够识别的电信号。由于mems芯片具有体积小、重量轻、能耗低、性能高等诸多优点,因此它们在移动设备、汽车领域、医疗设备、工业控制、消费电子、环境监测等领域都有着广泛的应用。
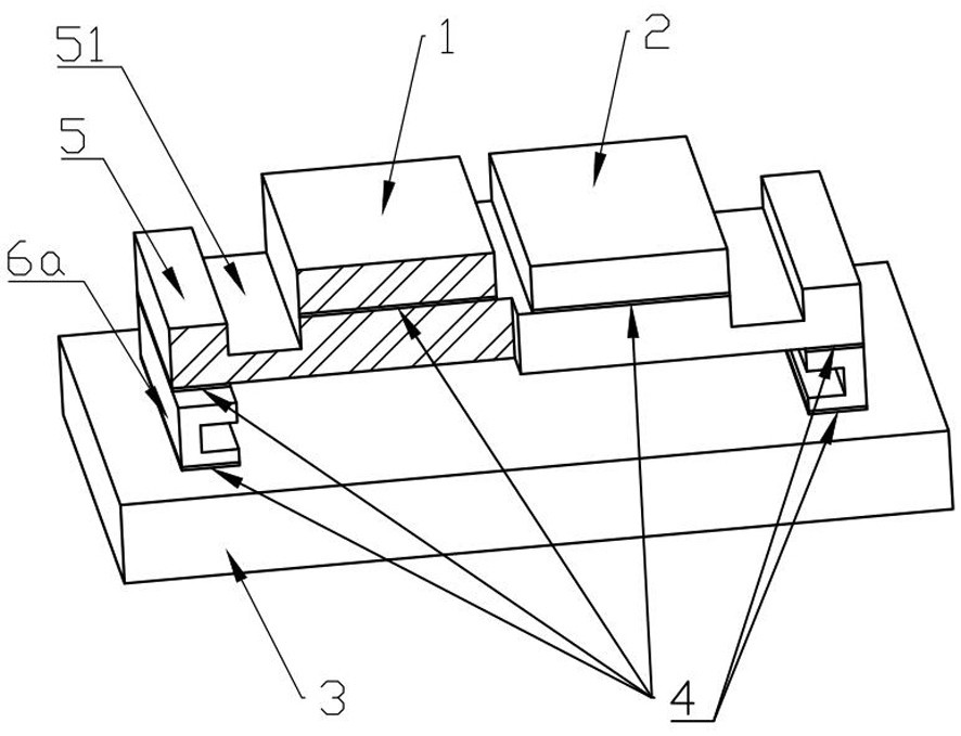
2、但是,目前在应用封装中,如图1所示,常通过粘结胶4直接将mems传感器1(或称其为mems芯片)和asic芯片2固定在封装管壳3上。由于不同结构之间是直接接触,且不同材料之间热膨胀系数(cte)存在较大差异。因而在粘结胶固化过程中就会产生较大的残余应力,导致敏感的器件结构产生较大变形,很大程度上会降低mems传感器的测量精度。
技术实现思路
1、本实用新型的目的旨在提出一种低应力的mems传感器封装结构,旨在优化mems传感器封装后的抗变形能力和联结可靠性。
2、本实用新型实现上述目的的技术解决方案是,低应力的mems传感器封装结构,与mems芯片、asic芯片和封装管壳一体封装相关联,其特征在于:两种芯片通过粘结胶贴设于垫板表面且相互隔开,所述垫板通过支撑架与封装管壳一体胶粘并保持芯片所在区域呈浮空状,其中所述支撑架为对应垫板至少一对边底侧的条状支撑体,且条状支撑体的相对面上开设有减低自身高度方向刚性强度的横槽。
3、进一步地,所述横槽沿条状支撑体的长度方向延伸至端面,且横槽的开口高度小于自身高度的一半,横槽的深度超过条状支撑体的半宽且非透底状。
4、进一步地,所述横槽沿条状支撑体的长度方向延伸且两端未及端面,横槽的开口高度小于自身高度的一半,横槽的深度达到贯穿条状支撑体的宽度方向,且透底的缝隙宽度小于开口高度。
5、进一步地,所述垫板为顶、底两面平整的等厚片体,且与两种芯片整体固结。
6、进一步地,所述垫板在俯视投影方向上的面积大于芯片占幅的总面积,且垫板在超出mems芯片覆盖范围的区域作开槽或开孔设置。
7、进一步地,所述支撑架为正交相对地支撑垫板四边底侧的单体块,全部单体快呈开环环向分布。
8、应用本实用新型的mems传感器封装结构,所具备的技术效果为:通过引入支撑架并在其上作开槽处理,能减弱自身高度方向的刚性强度,有利于吸收部分封装应力;结合垫板的变形可以取得进一步的缓冲作用,更多地减小两种芯片在封装过程中所受的应力,从而保障并提高mems传感器的测量精度。
技术特征:
1.低应力的mems传感器封装结构,与mems芯片、asic芯片和封装管壳一体封装相关联,其特征在于:两种芯片通过粘结胶贴设于垫板表面且相互隔开,所述垫板通过支撑架与封装管壳一体胶粘并保持芯片所在区域呈浮空状,其中所述支撑架为对应垫板至少一对边底侧的条状支撑体,且条状支撑体的相对面上开设有减低自身高度方向刚性强度的横槽。
2.根据权利要求1所述低应力的mems传感器封装结构,其特征在于:所述横槽沿条状支撑体的长度方向延伸至端面,且横槽的开口高度小于自身高度的一半,横槽的深度超过条状支撑体的半宽且非透底状。
3.根据权利要求1所述低应力的mems传感器封装结构,其特征在于:所述横槽沿条状支撑体的长度方向延伸且两端未及端面,横槽的开口高度小于自身高度的一半,横槽的深度达到贯穿条状支撑体的宽度方向,且透底的缝隙宽度小于开口高度。
4.根据权利要求1所述低应力的mems传感器封装结构,其特征在于:所述垫板为顶、底两面平整的等厚片体,且与两种芯片整体固结。
5.根据权利要求1所述低应力的mems传感器封装结构,其特征在于:所述垫板在俯视投影方向上的面积大于芯片占幅的总面积,且垫板在超出mems芯片覆盖范围的区域作开槽或开孔设置。
6.根据权利要求1所述低应力的mems传感器封装结构,其特征在于:所述支撑架为正交相对地支撑垫板四边底侧的单体块,全部单体快呈开环环向分布。
技术总结
本技术揭示了一种低应力的MEMS传感器封装结构,与MEMS芯片、ASIC芯片和封装管壳一体封装相关联。特别该两种芯片通过粘结胶贴设于垫板表面且相互隔开,该垫板通过支撑架与封装管壳一体胶粘并保持芯片所在区域呈浮空状,其中支撑架为对应垫板至少一对边底侧的条状支撑体,且条状支撑体的相对面上开设有减低自身高度方向刚性强度的横槽。应用本技术该封装结构,通过引入支撑架并在其上作开槽处理,能减弱自身高度方向的刚性强度,有利于吸收部分封装应力;结合垫板的变形可以取得进一步的缓冲作用,更多地减小两种芯片在封装过程中所受的应力,从而保障并提高MEMS传感器的测量精度。
技术研发人员:伍星,周俊
受保护的技术使用者:苏州感测通信息科技有限公司
技术研发日:20231121
技术公布日:2024/8/21
技术研发人员:伍星,周俊
技术所有人:苏州感测通信息科技有限公司
备 注:该技术已申请专利,仅供学习研究,如用于商业用途,请联系技术所有人。
声 明 :此信息收集于网络,如果你是此专利的发明人不想本网站收录此信息请联系我们,我们会在第一时间删除
