一种小型宠物项圈自动压扣的制作方法

本发明属于宠物用具,具体涉及一种小型宠物项圈自动压扣。
背景技术:
1、小型宠物是意义上的萌宠,慢慢的从传统宠物大类中区分出来,为了宠物安全以及便于管理,需要在宠物的脖颈处套设项圈。
2、目前应用在宠物脖颈上的项圈一般采用压扣类的方式实现锁紧限位,但其结构往往过于笨重繁琐,难以满足追求简洁与小巧的使用需求,具体问题如下;
3、1、现有压扣在安装带条的时候必须安装在带条的末端,无法满足一些特殊的外观需要;
4、2、现有压扣转轴位置外露,在给宠物使用时活动的转轴会出现夹毛现象;
5、3、现有压扣安装结构与扣紧结构互相独立,导致体积臃肿。
技术实现思路
1、本发明的目的在于提供一种小型宠物项圈自动压扣,以解决上述背景技术中提出的现有宠物项圈上的压扣结构繁琐,操作不便,并且还存在与宠物毛发卡死的问题。
2、为实现上述目的,本发明提供如下技术方案:一种小型宠物项圈自动压扣,包括安装壳,套设在项圈带条上,其内部旋转连接有锁止件,该锁止件呈弯折状,且锁止件的一端倾斜延伸至安装壳的外部,而锁止件的另一端与安装壳之间设置有弹性件,通过弹性件实现将锁止件回弹至原位,并实现对带条的抵紧锁止,而下压锁止件时,通过锁止件压缩弹性件实现锁止件的旋转,并完成与带条的分离,能够快速的将带条抽离;面壳,安装在所述安装壳的端面,该面壳与安装壳之间预留有供带条穿过的通槽。
3、作为本发明中一种优选的技术方案,所述锁止件为压扣,该压扣的另一端完全处于所述安装壳的内部,且压扣的底端面开设有卡齿,所述卡齿与带条相抵,通过挤压实现带条的形变,并完成安装。
4、作为本发明中一种优选的技术方案,所述压扣的弯折状处安装有转轴,该转轴与所述面壳贯穿连接。
5、作为本发明中一种优选的技术方案,所述弹性件为板簧,所述板簧的一端与所述安装壳的内部顶端面之间安装有铆钉,而板簧的中部及另一端朝向压扣的弯折处弯曲,并与所述压扣的弯折处相抵,在压扣的一端下压时,会将板簧的另一端挤压,此时板簧会弯曲,并产生回弹力,而此时的卡齿会与带条分离,此时可以正常插入或抽离,当需要锁止时,只需要将压扣松开,此时板簧回弹带动压扣回复至原位即可实现锁止。
6、作为本发明中一种优选的技术方案,所述安装壳的外部底端面上固定有定位柱,在带条上开设有供定位柱贯穿插入的孔,以此实现对安装壳与带条的安装。
7、作为本发明中一种优选的技术方案,所述安装壳的外部拐角处一端形成有竖直状的缺口,而另一端形成有倒l型的缺口,所述面壳的一端插入至竖直状缺口内,而另一端处形成有形状与安装壳另一端缺口相匹配的凸起,所述安装壳与面壳的一端固定有紧固螺栓,以此固定,可以保证安装稳固性,而另一端的卡合连接,可以实现两者滑动连接,方便在通过紧固螺栓固定前实现辅助连接限位。
8、作为本发明中一种优选的技术方案,所述安装壳与面壳的外表面处于同一平面上,且安装壳、面壳的拐角处均为圆角状。
9、作为本发明中一种优选的技术方案,所述压扣处于安装壳内部区域的部分在正常状态朝向定位柱的方向倾斜,从而能够实现对带条的抵紧锁止。
10、与现有技术相比,本发明的有益效果是:
11、1、本发明将外壳作为锁紧与安装结构的一部分,实现回弹机构的定位与复位,减少大量冗余结构,使得体积与重量大大减少。
12、2、本发明采用环形包裹外壳,确保在使用过程中不会出现夹毛夹肉的情况;
13、3、本发明采用叠层设计,调节完合适松紧后多余的带条部分位于项圈内侧,美观不影响宠物活动。
技术特征:
1.一种小型宠物项圈自动压扣,其特征在于:包括
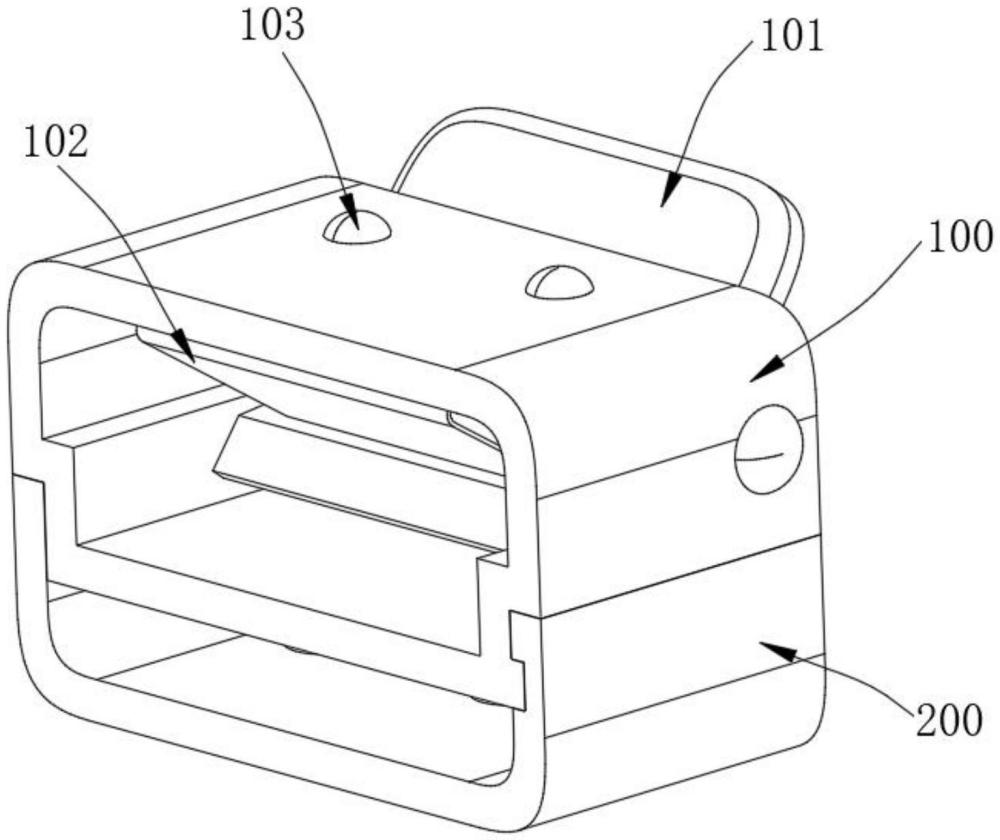
2.根据权利要求1所述的一种小型宠物项圈自动压扣,其特征在于:所述锁止件为压扣(101),该压扣(101)的另一端完全处于所述安装壳(100)的内部,且压扣(101)的底端面开设有卡齿(101a),所述卡齿(101a)与带条相抵,通过挤压实现带条的形变,并完成安装。
3.根据权利要求2所述的一种小型宠物项圈自动压扣,其特征在于:所述压扣(101)的弯折状处安装有转轴(105),该转轴(105)与所述面壳(200)贯穿连接。
4.根据权利要求3所述的一种小型宠物项圈自动压扣,其特征在于:所述弹性件为板簧(102),所述板簧(102)的一端与所述安装壳(100)的内部顶端面之间安装有铆钉(103),而板簧(102)的中部及另一端朝向压扣(101)的弯折处弯曲,并与所述压扣(101)的弯折处相抵。
5.根据权利要求1所述的一种小型宠物项圈自动压扣,其特征在于:所述安装壳(100)的外部底端面上固定有定位柱(104),在带条上开设有供定位柱(104)贯穿插入的孔。
6.根据权利要求5所述的一种小型宠物项圈自动压扣,其特征在于:所述安装壳(100)的外部拐角处一端形成有竖直状的缺口,而另一端形成有倒l型的缺口,所述面壳(200)的一端插入至竖直状缺口内,而另一端处形成有形状与安装壳(100)另一端缺口相匹配的凸起,所述安装壳(100)与面壳(200)的一端固定有紧固螺栓(201)。
7.根据权利要求6所述的一种小型宠物项圈自动压扣,其特征在于:所述安装壳(100)与面壳(200)的外表面处于同一平面上,且安装壳(100)、面壳(200)的拐角处均为圆角状。
8.根据权利要求1所述的一种小型宠物项圈自动压扣,其特征在于:所述压扣(101)处于安装壳(100)内部区域的部分在正常状态朝向定位柱(104)的方向倾斜。
技术总结
本发明公开了一种小型宠物项圈自动压扣,包括安装壳,套设在项圈带条上,其内部旋转连接有锁止件,该锁止件呈弯折状,且锁止件的一端倾斜延伸至安装壳的外部,而锁止件的另一端与安装壳之间设置有弹性件,通过弹性件实现将锁止件回弹至原位,并实现对带条的抵紧锁止;面壳,安装在所述安装壳的端面,该面壳与安装壳之间预留有供带条穿过的通槽;本发明将外壳作为锁紧与安装结构的一部分,实现回弹机构的定位与复位,减少大量冗余结构,使得体积与重量大大减少;本发明采用环形包裹外壳,确保在使用过程中不会出现夹毛夹肉的情况;本发明采用叠层设计,调节完合适松紧后多余的带条部分位于项圈内侧,美观不影响宠物活动。
技术研发人员:王禺森
受保护的技术使用者:深圳市噗叽科技有限公司
技术研发日:
技术公布日:2024/8/16
技术研发人员:王禺森
技术所有人:深圳市噗叽科技有限公司
备 注:该技术已申请专利,仅供学习研究,如用于商业用途,请联系技术所有人。
声 明 :此信息收集于网络,如果你是此专利的发明人不想本网站收录此信息请联系我们,我们会在第一时间删除
