一种组合式草木修剪定型装置

本发明属于园林养护设备,具体为一种组合式草木修剪定型装置。
背景技术:
1、草木修剪定型装置是用于修剪和定型花草树木的机械设备,其设计和应用对于提高园林绿化的工作效率和效果具有重要意义;
2、经检索如中国专利:cn220528607u一种园林用草木修剪设备,包括支撑环,所述支撑环的内壁固定装配有支撑板,所述支撑环的外壁固定装配有防护板,所述支撑环的外壁固定装配有支撑筒,所述支撑筒的内腔活动套接有支撑腿,所述支撑腿的底部安装有滚珠,所述支撑腿的内腔活动套接有限位钮,该园林用草木修剪设备,通过设置的支撑筒和支撑腿,通过将限位钮安装到不同的限位孔内,对支撑筒和支撑腿之间的高度进行调整,进而对转轴接触到草地的高度进行调整,即可根据对草地的修剪需求来调整,更好地对草地进行调整,且设备是直接接触到草地上,不需要工人进行背负,直接推动即可,底部的滚珠能够使得推动过程中更轻便;
3、在当前的园林维护和管理中,草木修剪定型装置发挥着不可或缺的作用,然而,现有的修剪工具功能相对单一,这在很大程度上限制了其在各种修剪场景中的应用,在面对不同种类的草木,比如灌木、乔木、草本植物等,需要频繁更换修剪装置,导致工作效率低下的问题。
技术实现思路
1、本发明的目的在于提供一种组合式草木修剪定型装置,以解决上述背景技术中提出的问题。
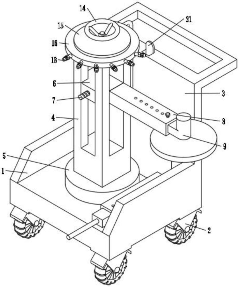
2、为了实现上述目的,本发明提供如下技术方案:一种组合式草木修剪定型装置,包括底座,所述底座的底端固定安装有车轮,所述底座的一侧固定安装有背板,所述底座的顶端设置有修剪组件;
3、其中,所述修剪组件包括设置在底座顶端的支撑座,所述支撑座的顶端固定连接有顶板,所述支撑座的内部设置有移动座,所述移动座的侧壁固定安装有连接轴,所述连接轴的外壁安装有连接块,所述连接块的内部安装有固定块,所述固定块的内部安装有电机,所述电机的底端连接有转动轴,所述转动轴的底端固定安装有修剪刀片。
4、在需要修剪草木时,首先将装置移动至需要修剪的草木旁边,然后通过启动电机带动转动轴转动,转动轴的转动带动修剪刀片的转动,通过修剪刀片旋转对草木进行修剪,通过组合不同种类的修剪装置,避免了现有的修剪工具功能相对单一,这在很大程度上限制了其在各种修剪场景中的应用,在面对不同种类的草木,比如灌木、乔木、草本植物等,需要频繁更换修剪装置,导致工作效率低下的问题,提高了草木修剪的工作效率。
5、作为本发明进一步的技术方案,所述固定块滑动安装在连接块的内部,所述连接块的内部开设有固定孔,所述固定孔的内部嵌入有固定轴。
6、在需要调整修剪装置的长度时,通过固定块在连接块的内部中滑动,来改变连接块和固定块的整体长度,并通过固定轴安装至固定孔的内部中对固定块进行固定。
7、作为本发明进一步的技术方案,所述固定孔均匀设置。
8、作为本发明进一步的技术方案,所述移动座的内部嵌入有螺纹杆,所述螺纹杆转动安装在支撑座的内部,所述螺纹杆的顶端固定连接有手轮,所述手轮设置在顶板的上方,所述顶板的外壁设置有喷洒组件。
9、在需要调整修剪装置的高度时,通过转动手轮带动螺纹杆的转动,螺纹杆的转动带动移动座在支撑座的内部移动,移动座的移动带动连接块的移动,连接块的移动带动固定块的移动,便于对不同高度的草木进行修剪,进一步提高了装置的适应性。
10、作为本发明进一步的技术方案,所述喷洒组件包括设置在顶板外壁的转动板,所述转动板的侧壁安装有喷头,所述转动板的一侧设置有水管,所述水管的底端设置有水泵,所述水泵的底端安装有水箱,所述水箱安装在底座的顶端。
11、在进行草木修剪时,可以通过水泵启动抽取水箱内部的水源经水管传输至喷头洒出,防止在修剪过程中,特别是在干燥的天气里,草木的碎片和土壤会产生大量的灰尘,喷洒水雾可以有效地减少这些灰尘的飞扬,保持工作区域的清洁,提高了修剪的工作环境质量。
12、作为本发明进一步的技术方案,所述顶板和转动板转动连接。
13、作为本发明进一步的技术方案,所述支撑座的底端固定连接有转动底座,所述转动底座转动安装在底座的内部,所述转动底座和底座之间设置有固定组件。
14、当移动座的侧壁安装有不同类型的修剪装置时,可以通过转动支撑座带动修剪装置转动,便于根据不同植物的修剪需求快速选择适合的修剪装置,提高草木修剪的工作效率。
15、作为本发明进一步的技术方案,所述固定组件包括设置在转动底座两侧的固定板,两个所述固定板皆滑动安装在底座的内部,两个所述固定板的一端皆固定安装有第二连接板,两个所述第二连接板的侧壁均设置有弹簧。
16、作为本发明进一步的技术方案,两个所述第二连接板远离固定板的一端皆固定连接有第一连接板,两个所述第一连接板之间设置有楔块,所述楔块的顶端固定连接有移动板,所述移动板滑动安装在背板的内部。
17、本发明的有益效果如下:
18、1、本发明通过修剪组件的设置,在需要修剪草木时,首先将装置移动至需要修剪的草木旁边,然后通过启动电机带动转动轴转动,转动轴的转动带动修剪刀片的转动,通过修剪刀片旋转对草木进行修剪,通过组合不同种类的修剪装置,避免了现有的修剪工具功能相对单一,这在很大程度上限制了其在各种修剪场景中的应用,在面对不同种类的草木,比如灌木、乔木、草本植物等,需要频繁更换修剪装置,导致工作效率低下的问题,提高了草木修剪的工作效率。
19、2、本发明通过喷洒组件的设置,在进行草木修剪时,可以通过水泵启动抽取水箱内部的水源经水管传输至喷头洒出,防止在修剪过程中,特别是在干燥的天气里,草木的碎片和土壤会产生大量的灰尘,喷洒水雾可以有效地减少这些灰尘的飞扬,保持工作区域的清洁,提高了修剪的工作环境质量。
20、3、本发明通过固定组件的设置,在装置使用时,可以通过弹簧的弹力推动第二连接板向靠近转动底座的一侧移动,使固定板的一侧对转动底座的侧壁进行固定,防止在使用的过程中,装置移动时发生晃动,影响设备稳定性的问题,提高了装置修剪草木时的稳定性与可靠性。
技术特征:
1.一种组合式草木修剪定型装置,包括底座(1),其特征在于:所述底座(1)的底端固定安装有车轮(2),所述底座(1)的一侧固定安装有背板(3),所述底座(1)的顶端设置有修剪组件;
2.根据权利要求1所述的一种组合式草木修剪定型装置,其特征在于:所述固定块(9)滑动安装在连接块(8)的内部,所述连接块(8)的内部开设有固定孔(10),所述固定孔(10)的内部嵌入有固定轴(11)。
3.根据权利要求2所述的一种组合式草木修剪定型装置,其特征在于:所述固定孔(10)均匀设置。
4.根据权利要求1所述的一种组合式草木修剪定型装置,其特征在于:所述移动座(6)的内部嵌入有螺纹杆(13),所述螺纹杆(13)转动安装在支撑座(4)的内部,所述螺纹杆(13)的顶端固定连接有手轮(14),所述手轮(14)设置在顶板(15)的上方,所述顶板(15)的外壁设置有喷洒组件。
5.根据权利要求4所述的一种组合式草木修剪定型装置,其特征在于:所述喷洒组件包括设置在顶板(15)外壁的转动板(16),所述转动板(16)的侧壁安装有喷头(18),所述转动板(16)的一侧设置有水管(17),所述水管(17)的底端设置有水泵(19),所述水泵(19)的底端安装有水箱(20),所述水箱(20)安装在底座(1)的顶端。
6.根据权利要求5所述的一种组合式草木修剪定型装置,其特征在于:所述顶板(15)和转动板(16)转动连接。
7.根据权利要求1所述的一种组合式草木修剪定型装置,其特征在于:所述支撑座(4)的底端固定连接有转动底座(5),所述转动底座(5)转动安装在底座(1)的内部,所述转动底座(5)和底座(1)之间设置有固定组件。
8.根据权利要求7所述的一种组合式草木修剪定型装置,其特征在于:所述固定组件包括设置在转动底座(5)两侧的固定板(26),两个所述固定板(26)皆滑动安装在底座(1)的内部,两个所述固定板(26)的一端皆固定安装有第二连接板(24),两个所述第二连接板(24)的侧壁均设置有弹簧(25)。
9.根据权利要求8所述的一种组合式草木修剪定型装置,其特征在于:两个所述第二连接板(24)远离固定板(26)的一端皆固定连接有第一连接板(23),两个所述第一连接板(23)之间设置有楔块(22),所述楔块(22)的顶端固定连接有移动板(21),所述移动板(21)滑动安装在背板(3)的内部。
技术总结
本发明属于园林养护设备技术领域,且公开了一种组合式草木修剪定型装置,包括底座,底座的底端固定安装有车轮,底座的一侧固定安装有背板,底座的顶端设置有修剪组件,修剪组件包括设置在底座顶端的支撑座,支撑座的顶端固定连接有顶板,支撑座的内部设置有移动座,移动座的侧壁固定安装有连接轴,连接轴的外壁安装有连接块,连接块的内部安装有固定块,固定块的内部安装有电机,电机的底端连接有转动轴,转动轴的底端固定安装有修剪刀片,在需要修剪草木时,首先将装置移动至需要修剪的草木旁边,然后通过启动电机带动转动轴转动,通过修剪刀片旋转对草木进行修剪,通过组合不同种类的修剪装置,提高了草木修剪的工作效率。
技术研发人员:罗婧,王昕
受保护的技术使用者:河南农业大学
技术研发日:
技术公布日:2024/8/16
技术研发人员:罗婧,王昕
技术所有人:河南农业大学
备 注:该技术已申请专利,仅供学习研究,如用于商业用途,请联系技术所有人。
声 明 :此信息收集于网络,如果你是此专利的发明人不想本网站收录此信息请联系我们,我们会在第一时间删除
