一种城市道路立体绿化架的制作方法

本技术涉及道路绿化,具体为一种城市道路立体绿化架。
背景技术:
1、现有的城市通常会在道路两侧都设置有立体绿化容器,从而增加绿化,帮助城市滞尘、截留部分雨水、降低噪音、吸收部分汽车尾气和空气中的废气等,经检索,中国专利授权号为cn216123560u的专利公开了一种道路高架桥立体绿化结构,阴雨天气时,雨水进行种植箱体内部,通过若干导流槽将雨水导入滤水板上端,通过若干渗透孔使雨水流到储水区内部进行收集与集中处理,通过打开阀门使雨水从排水管内流出,便于对雨水回收再利用。
2、上述技术方案虽然可以将雨水收集并进行利用,但是在使用时不能对花草进行自动浇水除尘,从而降低了使用性,并且只在箱体的底部设有排水管,在雨水过大时,不能及时将水排出使得花草被淹,影响花草的正常生长。
技术实现思路
1、针对现有技术的不足,本实用新型提供了一种城市道路立体绿化架,解决了背景技术中所提出现有绿化架在使用时不能对花草进行自动浇水除尘,从而降低了使用性,并且只在箱体的底部设有排水管,在雨水过大时,不能及时将水排出使得花草被淹,影响花草的正常生长的问题。
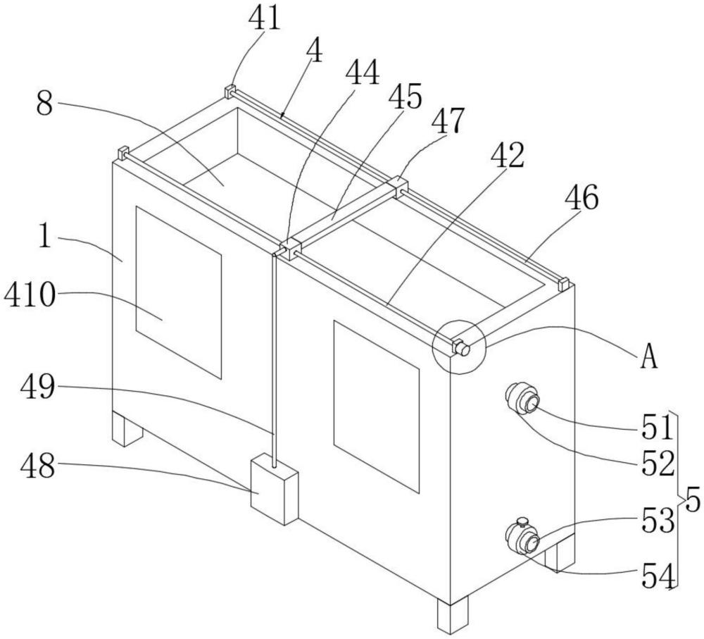
2、为实现以上目的,本实用新型通过以下技术方案予以实现:一种城市道路立体绿化架,包括用于种植花草的箱体,所述箱体的内壁四周均固定连接有支撑块,所述支撑块的上表面放置有与箱体内壁滑动连接的网格板,所述箱体的外表面安装有移动喷洒机构,所述箱体的外表面一侧贯穿安装有排水机构;
3、所述移动喷洒机构包括依次固定连接在箱体上表面四周的四个连接块,位于一侧的两个所述连接块之间贯穿转动连接有丝杆,单个所述连接块的外表面一侧固定安装有与丝杆相连接的电机,所述丝杆的外表面螺纹连接有第一滑块,所述第一滑块的外表面一侧固定连接有横管,所述横管的下表面依次固定互通有多个喷嘴。
4、优选的,位于另一侧的两个所述连接块之间固定连接有导杆,所述导杆的外表面贯穿滑动连接有与横管固定连接的第二滑块,便于对横管的移动进行导向。
5、优选的,所述箱体的外表面一侧且靠近底部的位置固定互通有水泵,所述水泵的输出端与横管之间固定互通有软管,所述箱体的外表面两侧均嵌入固定安装有太阳能电池板,所述箱体的内部嵌入固定安装有与电机、水泵和太阳能电池板相配合的蓄电池,水泵可以将箱体中的水抽出并通过软管输送到横管中,然后从喷嘴中喷出,太阳能电池板可以将光能转变为电能储存到蓄电池中进行使用,从而降低能耗。
6、优选的,所述排水机构包括贯穿固定安装在箱体外表面一侧的溢流管,所述溢流管的顶部位于网格板的下方,所述溢流管的一端固定连接有单向阀,所述箱体的外表面一侧且靠近底部的位置贯穿固定连接有排水管,所述排水管的一端固定连接有排水阀,溢流管可以将过多的水排出,从而避免淹到花草的根部,并且单向阀在正常时闭合,可以减少水汽蒸发,通过排水管和排水阀可以将箱体中的水排出,从而便于进行利用。
7、优选的,所述箱体的外表面一侧开设有t型开口,所述t型开口的内部通过螺栓密封连接有t型密封板,便于对箱体的内部进行清理。
8、优选的,所述网格板的上表面放置有与箱体内壁滑动连接的过滤网,可以减少水土流失。
9、本实用新型提供了一种城市道路立体绿化架。具备以下有益效果:
10、1、该一种城市道路立体绿化架,通过设置的移动喷洒机构,可以均匀对花草进行浇水,并将粘附在花草表面的灰尘除去,从而解决了现有绿化架不能对花草进行浇水和将粘附在花草表面的灰尘除去的问题。
11、2、该一种城市道路立体绿化架,通过设置的排水机构,可以将过多的水排出,从而避免淹到花草的根部,并且单向阀在正常时闭合,可以减少水汽蒸发,通过排水管和排水阀可以将箱体中的水排出,从而便于进行利用,从而解决了现有的绿化架只在底部设有排水管,在雨水过大时,不能及时将水排出使得花草被淹的问题。
技术特征:
1.一种城市道路立体绿化架,包括用于种植花草的箱体(1),其特征在于:所述箱体(1)的内壁四周均固定连接有支撑块(2),所述支撑块(2)的上表面放置有与箱体(1)内壁滑动连接的网格板(3),所述箱体(1)的外表面安装有移动喷洒机构(4),所述箱体(1)的外表面一侧贯穿安装有排水机构(5);
2.根据权利要求1所述一种城市道路立体绿化架,其特征在于:位于另一侧的两个所述连接块(41)之间固定连接有导杆(46),所述导杆(46)的外表面贯穿滑动连接有与横管(45)固定连接的第二滑块(47)。
3.根据权利要求2所述一种城市道路立体绿化架,其特征在于:所述箱体(1)的外表面一侧且靠近底部的位置固定互通有水泵(48),所述水泵(48)的输出端与横管(45)之间固定互通有软管(49),所述箱体(1)的外表面两侧均嵌入固定安装有太阳能电池板(410),所述箱体(1)的内部嵌入固定安装有与电机(43)、水泵(48)和太阳能电池板(410)相配合的蓄电池。
4.根据权利要求1所述一种城市道路立体绿化架,其特征在于:所述排水机构(5)包括贯穿固定安装在箱体(1)外表面一侧的溢流管(51),所述溢流管(51)的顶部位于网格板(3)的下方,所述溢流管(51)的一端固定连接有单向阀(52),所述箱体(1)的外表面一侧且靠近底部的位置贯穿固定连接有排水管(53),所述排水管(53)的一端固定连接有排水阀(54)。
5.根据权利要求1所述一种城市道路立体绿化架,其特征在于:所述箱体(1)的外表面一侧开设有t型开口(6),所述t型开口(6)的内部通过螺栓密封连接有t型密封板(7)。
6.根据权利要求1所述一种城市道路立体绿化架,其特征在于:所述网格板(3)的上表面放置有与箱体(1)内壁滑动连接的过滤网(8)。
技术总结
本技术公开了一种城市道路立体绿化架,涉及道路绿化技术领域,解决现有绿化架在使用时不能对花草进行自动浇水除尘,从而降低了使用性,并且不能及时将水排出使得花草被淹,影响花草的正常生长的问题,该方案包括用于种植花草的箱体,所述箱体的内壁四周均固定连接有支撑块,所述支撑块的上表面放置有与箱体内壁滑动连接的网格板,所述箱体的外表面安装有移动喷洒机构,所述箱体的外表面一侧贯穿安装有排水机构,可以均匀对花草进行浇水,并将粘附在花草表面的灰尘除去,而且还可以将过多的水及时排出,从而避免淹到花草的根部,并且单向阀在正常时闭合,可以减少水汽蒸发。
技术研发人员:赵琦,张睿,段喜鹏,赵克,焦景昴,周廷刚
受保护的技术使用者:聊城市公路工程总公司
技术研发日:20240115
技术公布日:2024/8/27
技术研发人员:赵琦,张睿,段喜鹏,赵克,焦景昴,周廷刚
技术所有人:聊城市公路工程总公司
备 注:该技术已申请专利,仅供学习研究,如用于商业用途,请联系技术所有人。
声 明 :此信息收集于网络,如果你是此专利的发明人不想本网站收录此信息请联系我们,我们会在第一时间删除
