烟草种植防虫药剂定量释放装置的制作方法

本技术涉及药剂定量释放,具体涉及一种烟草种植防虫药剂定量释放装置。
背景技术:
1、烟草是茄科烟草属的一年生草本植物,叶长圆状披针形、披针形、长圆形或卵形,先端渐尖,基部渐窄成耳状半抱茎,叶柄不明显或成翅状,花序圆锥状,花萼筒状或筒状钟形,裂片三角状披针形,花冠漏斗状,淡黄、淡绿、红或粉红色,基部带黄色,蒴果卵圆形或椭圆形,与宿萼近等长,种子圆形或宽长圆形,褐色,花果期为夏秋季。
2、防虫剂是一种新的织物功能化整理剂,主要成分为拟除虫菊酯类化合物为主的纳米级微胶囊,它通过固着剂在织物表面形成防虫药膜,对螨、蚊、蝇、蚤、虱、蛀虫等有高效、快速的击倒灭杀效果,并具有良好的驱避作用。
3、现有的烟草种植防虫药剂定量释放完后,定量释放的药剂可能会残留在管道内,进而影响对植物防虫药剂的定量喷洒。
4、鉴于上述不足,有必要设计一种烟草种植防虫药剂定量释放装置。
技术实现思路
1、因此,本实用新型要解决的技术问题在于现有的烟草种植防虫药剂定量释放完后,定量释放的药剂可能会残留在管道内,进而影响对植物防虫药剂的定量喷洒,从而提供一种烟草种植防虫药剂定量释放装置。
2、为解决上述技术问题,本实用新型的技术方案如下:
3、一种烟草种植防虫药剂定量释放装置,包括搅拌单元、以及释放单元,所述搅拌单元内设有搅拌腔,所述释放单元包括转接座,所述转接座呈中空状,第一端通过药剂管连通所述搅拌腔的底部,第二端为开放端,适于供药剂流出,所述转接座的侧壁上设有充气单元,所述充气单元适于向所述转接座内充气,以排出所述转接座下游的残余药剂。
4、进一步地,所述充气单元包括充气泵和充气管,所述充气管的一端连接所述充气泵,另一端连通所述转接座。
5、进一步地,所述转接座内设有中间腔,所述中间腔的两端壁分别为临近所述第一端的第一隔板、以及临近所述第二端的第二隔板,所述第一隔板上装设有单向阀,使药剂自所述第一端单向流进所述中间腔,所述第二隔板上开设有通孔,所述充气管连通所述中间腔。
6、进一步地,所述充气泵上背向所述转接座的外端面开设有若干进气孔。
7、进一步地,所述搅拌单元包括第一搅拌单元和第二搅拌单元;所述第一搅拌单元包括第一搅拌腔体、进入所述第一搅拌腔体内的第一旋转轴、以及位于所述第一搅拌腔体内的第一搅拌杆,所述第二搅拌单元包括第二搅拌腔体、进入所述第二搅拌腔体内的第二旋转轴、以及位于所述第二搅拌腔体内的第二搅拌杆;所述第一搅拌腔体的底壁连通所述第二搅拌腔体的顶壁,所述第一旋转轴和所述第二旋转轴分别绕自身轴线转动,并分别带动所述第一搅拌杆和所述第二搅拌杆转动,所述第一旋转轴和所述第二旋转轴呈夹角设置。
8、进一步地,所述第一旋转轴垂直于所述第二旋转轴设置。
9、进一步地,所述第一搅拌腔体有多个,分别与所述第二搅拌腔体连通。
10、进一步地,所述第一搅拌腔体连通药剂加注管。
11、进一步地,所述第一搅拌单元包括第一驱动件,所述第一驱动件驱动所述第一旋转轴转动,所述第二搅拌腔体包括位于顶部的固定板,在所述固定板的上方固定设有支撑架,所述第一驱动件安装于所述支撑架上朝向所述固定板的一侧,所述药剂加注管贯通所述支撑架连通所述第一搅拌腔体。
12、进一步地,所述药剂管上状设有流量控制阀。
13、本实用新型技术方案,具有如下优点:
14、1.本实用新型提供的烟草种植防虫药剂定量释放装置,包括搅拌单元、以及释放单元,搅拌单元内设有搅拌腔,释放单元包括转接座,转接座呈中空状,第一端通过药剂管连通搅拌腔的底部,第二端为开放端,适于供药剂喷出,转接座的侧壁上设有充气单元,充气单元适于向转接座内充气,这样一来,可排出转接座下游的残余药剂,以残余药剂对植物进行再喷洒,进而保证对植物防虫药剂定量喷洒的效果。
15、2.本实用新型提供的烟草种植防虫药剂定量释放装置,转接座内设有中间腔,中间腔的两端壁分别为临近第一端的第一隔板、以及临近第二端的第二隔板,由于在第一隔板上装设有单向阀,使药剂从第一端单向流向中间腔,与此同时在第二隔板上开设有通孔,充气管连通中间腔,这样一来,向中间腔充气时,药剂只能经由通孔向第二端流动,可避免药剂回流、待充气泵充气结束后、药剂再次流进转接座内,进一步提高残余药剂的排出效果。
16、3.本实用新型提供的烟草种植防虫药剂定量释放装置,搅拌单元包括第一搅拌单元和第二搅拌单元;第一搅拌单元包括第一搅拌腔体、进入第一搅拌腔体内的第一旋转轴、以及位于第一搅拌腔体内的第一搅拌杆,第二搅拌单元包括第二搅拌腔体、进入第二搅拌腔体内的第二旋转轴、以及位于第二搅拌腔体内的第二搅拌杆;第一搅拌腔体的底壁连通第二搅拌腔体的顶壁,第一旋转轴和第二旋转轴分别绕自身轴线转动,并分别带动第一搅拌杆和第二搅拌杆转动,第一旋转轴和第二旋转轴呈夹角设置,这样一来,药剂将会被不同方向搅拌,使药剂融合更充分,进一步避免药剂的沉淀。
17、4.本实用新型提供的烟草种植防虫药剂定量释放装置,药剂管上状设有流量控制阀,可由流量控制阀控制药剂的喷洒量,实现植物防虫药剂的定量喷洒。
技术特征:
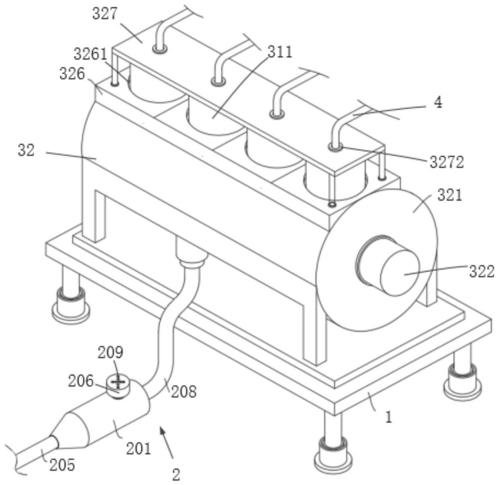
1.一种烟草种植防虫药剂定量释放装置,其特征在于,包括搅拌单元(3)、以及释放单元(2),所述搅拌单元(3)内设有搅拌腔,所述释放单元(2)包括转接座(201),所述转接座(201)呈中空状,第一端通过药剂管(208)连通所述搅拌腔的底部,第二端为开放端,适于供药剂流出,所述转接座(201)的侧壁上设有充气单元,所述充气单元适于向所述转接座(201)内充气,以排出所述转接座(201)下游的残余药剂。
2.根据权利要求1所述的烟草种植防虫药剂定量释放装置,其特征在于,所述充气单元包括充气泵(206)和充气管(207),所述充气管(207)的一端连接所述充气泵(206),另一端连通所述转接座(201)。
3.根据权利要求2所述的烟草种植防虫药剂定量释放装置,其特征在于,所述转接座(201)内设有中间腔(a),所述中间腔(a)的两端壁分别为临近所述第一端的第一隔板(200)、以及临近所述第二端的第二隔板(203),所述第一隔板(200)上装设有单向阀(202),使药剂自所述第一端单向流进所述中间腔(a),所述第二隔板(203)上开设有通孔(204),所述充气管(207)连通所述中间腔(a)。
4.根据权利要求2所述的烟草种植防虫药剂定量释放装置,其特征在于,所述充气泵(206)上背向所述转接座(201)的外端面开设有若干进气孔(209)。
5.根据权利要求1所述的烟草种植防虫药剂定量释放装置,其特征在于,所述搅拌单元(3)包括第一搅拌单元(31)和第二搅拌单元(32);所述第一搅拌单元(31)包括第一搅拌腔体(311)、进入所述第一搅拌腔体(311)内的第一旋转轴(313)、以及位于所述第一搅拌腔体(311)内的第一搅拌杆(314),所述第二搅拌单元(32)包括第二搅拌腔体(321)、进入所述第二搅拌腔体(321)内的第二旋转轴(323)、以及位于所述第二搅拌腔体(321)内的第二搅拌杆(324);所述第一搅拌腔体(311)的底壁连通所述第二搅拌腔体(321)的顶壁,所述第一旋转轴(313)和所述第二旋转轴(323)分别绕自身轴线转动,并分别带动所述第一搅拌杆(314)和所述第二搅拌杆(324)转动,所述第一旋转轴(313)和所述第二旋转轴(323)呈夹角设置。
6.根据权利要求5所述的烟草种植防虫药剂定量释放装置,其特征在于,所述第一旋转轴(313)垂直于所述第二旋转轴(323)设置。
7.根据权利要求5所述的烟草种植防虫药剂定量释放装置,其特征在于,所述第一搅拌腔体(311)有多个,分别与所述第二搅拌腔体(321)连通。
8.根据权利要求5所述的烟草种植防虫药剂定量释放装置,其特征在于,所述第一搅拌腔体(311)连通药剂加注管(4)。
9.根据权利要求8所述的烟草种植防虫药剂定量释放装置,其特征在于,所述第一搅拌单元(31)包括第一驱动件(312),所述第一驱动件(312)驱动所述第一旋转轴(313)转动,所述第二搅拌腔体(321)包括位于顶部的固定板(326),在所述固定板(326)的上方固定设有支撑架(327),所述第一驱动件(312)安装于所述支撑架(327)上朝向所述固定板(326)的一侧,所述药剂加注管(4)贯通所述支撑架(327)连通所述第一搅拌腔体(311)。
10.根据权利要求1-9中任一项所述的烟草种植防虫药剂定量释放装置,其特征在于,所述药剂管(208)上装设有流量控制阀。
技术总结
本技术公开了一种烟草种植防虫药剂定量释放装置,包括搅拌单元、以及释放单元,搅拌单元内设有搅拌腔,释放单元包括转接座,转接座呈中空状,第一端通过药剂管连通搅拌腔的底部,第二端为开放端,适于供药剂喷出,转接座的侧壁上设有充气单元,充气单元适于向转接座内充气,这样一来,可排出转接座下游的残余药剂,以残余药剂对植物进行再喷洒,进而保证对植物防虫药剂定量喷洒的效果,避免喷洒的药剂量未达到标准,从而影响种植物的防虫效果,有利于提高烟草种植防虫药剂定量释放装置的实用性。
技术研发人员:贾海江,韦建玉,黄崇峻,金亚波,张纪利,黄聪光,喻华杰,李小龙
受保护的技术使用者:广西中烟工业有限责任公司
技术研发日:20240124
技术公布日:2024/9/2
技术研发人员:贾海江,韦建玉,黄崇峻,金亚波,张纪利,黄聪光,喻华杰,李小龙
技术所有人:广西中烟工业有限责任公司
备 注:该技术已申请专利,仅供学习研究,如用于商业用途,请联系技术所有人。
声 明 :此信息收集于网络,如果你是此专利的发明人不想本网站收录此信息请联系我们,我们会在第一时间删除
