一种生猪养殖用杀毒除虫装置的制作方法

本技术属于生猪养殖,具体来说,涉及一种生猪养殖用杀毒除虫装置。
背景技术:
1、生猪,即生活着的猪,对未宰杀的除种猪以外的家猪的统称。猪,杂食类动物。猪一般多指家畜,哺乳动物,身体肥壮,四肢短小,鼻子口吻较长。生猪肉可食用,皮可制革,体肥肢短,性温驯,适应力强,易饲养,繁殖快,有黑、白、酱红或黑白花等色,除以鲜肉供食用外,还适于加工成火腿、腌肉、香肠和肉松等制品。
2、为了保证生猪在养殖的过程中不会发生疾病,会在养殖的时候对猪舍进行杀毒和除虫,但是杀毒除虫装置不方便对猪舍进行全面的杀毒和除虫作业。
3、针对相关技术中的问题,目前尚未提出有效的解决方案。
4、因此为了解决以上问题,本实用新型提供了一种生猪养殖用杀毒除虫装置。
技术实现思路
1、为了克服上述的技术问题,本实用新型的目的在于提供一种生猪养殖用杀毒除虫装置,通过第一电机带动第一减速机转动,第一减速机带动第一转轴转动,第一转轴带动第一转杆转动,进而带动第一清理刷转动,且第二转杆带动第二清理刷转动,通过第一清理刷和第二清理刷的转动能够对猪舍的地面进行清理,消毒液箱内的消毒液能够通过主管和滑杆输送到喷洒头上,然后通过喷洒头喷出到猪舍内的墙壁上来对猪舍的内部进行杀毒作业。
2、本实用新型的目的可以通过以下技术方案实现:
3、一种生猪养殖用杀毒除虫装置,包括装置主体,所述装置主体的底端安装有底座,所述底座上安装有第一电机箱,所述第一电机箱的内部安装有第一电机,所述第一电机的底端固定安装有第一减速机,所述第一减速机的底端安装有第一转轴,所述第一转轴的底端固定安装有第一转杆,所述第一转杆的底端安装有第一清理刷,所述底座的底端还转动连接有第二转杆,所述第二转杆的底端安装有第二清理刷,所述底座的顶端安装有消毒液箱,所述消毒液箱的顶端转动连接有主管,所述主管上抽拉式连接有滑杆,所述滑杆的顶端安装有喷洒头,通过第一电机带动第一减速机转动,第一减速机带动第一转轴转动,第一转轴带动第一转杆转动,进而带动第一清理刷转动,且第二转杆带动第二清理刷转动,通过第一清理刷和第二清理刷的转动能够对猪舍的地面进行清理,消毒液箱内的消毒液能够通过主管和滑杆输送到喷洒头上,然后通过喷洒头喷出到猪舍内的墙壁上来对猪舍的内部进行杀毒作业。
4、进一步在于,所述底座的底端四角处均安装有行走轮。
5、进一步在于,所述第一电机箱的内部顶端固定安装有第一固定座,所述第一固定座的底端固定安装有第一电机,所述第一减速机内转轴的输出端通过联轴器与所述第一转轴的顶端相连接。
6、进一步在于,所述第一转杆上固定安装有第一皮带轮,所述第二转杆上固定安装有第二皮带轮,所述第一皮带轮和所述第二皮带轮之间通过皮带传动连接。
7、进一步在于,所述消毒液箱的内部安装有输送机构,所述输送机构上连接有输送管的一端,所述输送管的另一端与所述主管的底端相连接,所述主管上固定安装有第一齿轮。
8、进一步在于,所述消毒液箱的顶端固定安装有第二电机箱,所述第二电机箱的内部底端固定安装有第二固定座,所述第二固定座的顶端固定安装有第二电机,所述第二电机的顶端连接有第二减速机,所述第二减速机的顶端连接有第二转轴,所述第二转轴的顶端固定安装有第二齿轮,所述第二齿轮与所述第一齿轮啮合连接。
9、进一步在于,所述消毒液箱的顶端还安装有电动伸缩杆,所述电动伸缩杆的顶端连接有连接座,所述连接座与所述滑杆相连接。
10、进一步在于,所述底座的顶端固定安装有两组相对称分布的把手。
11、与现有技术相比,本实用新型具有以下有益效果:
12、本实用新型中,通过行走轮便于对整个装置进行移动,通过第一电机带动第一减速机转动,第一减速机带动第一转轴转动,第一转轴带动第一转杆转动,进而带动第一清理刷转动,且第一转杆带动第一皮带轮转动,第一皮带轮通过皮带带动第二皮带轮转动,进而带动第二转杆转动,第二转杆带动第二清理刷转动,通过第一清理刷和第二清理刷的转动能够对猪舍的地面进行清理,输送机构能够将消毒液箱内的消毒液通过输送管、主管和滑杆输送到喷洒头上,然后通过喷洒头喷出到猪舍内的墙壁上来对猪舍的内部进行杀毒作业,通过电动伸缩杆能够对喷洒头的高度进行调整,从而实现对于一面墙壁的全面喷洒作业,通过第二电机带动第二减速机转动,第二减速机带动第二转轴转动,第二转轴带动第二齿轮转动,第二齿轮带动第一齿轮转动,第一齿轮带动主管转动,进而实现对于喷洒头角度的调整,使得能够在不转动整个装置的情况下,来对猪舍内所有的墙壁进行喷洒消毒作业,能够降低操作难度,提高效率。
技术特征:
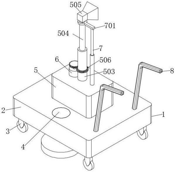
1.一种生猪养殖用杀毒除虫装置,包括装置主体(1),其特征在于,所述装置主体(1)的底端安装有底座(2),所述底座(2)上安装有第一电机箱(4),所述第一电机箱(4)的内部安装有第一电机(402),所述第一电机(402)的底端固定安装有第一减速机(403),所述第一减速机(403)的底端安装有第一转轴(404),所述第一转轴(404)的底端固定安装有第一转杆(405),所述第一转杆(405)的底端安装有第一清理刷(406),所述底座(2)的底端还转动连接有第二转杆(408),所述第二转杆(408)的底端安装有第二清理刷(410),所述底座(2)的顶端安装有消毒液箱(5),所述消毒液箱(5)的顶端转动连接有主管(503),所述主管(503)上抽拉式连接有滑杆(504),所述滑杆(504)的顶端安装有喷洒头(505)。
2.根据权利要求1所述的一种生猪养殖用杀毒除虫装置,其特征在于,所述底座(2)的底端四角处均安装有行走轮(3)。
3.根据权利要求1所述的一种生猪养殖用杀毒除虫装置,其特征在于,所述第一电机箱(4)的内部顶端固定安装有第一固定座(401),所述第一固定座(401)的底端固定安装有第一电机(402),所述第一减速机(403)内转轴的输出端通过联轴器与所述第一转轴(404)的顶端相连接。
4.根据权利要求1所述的一种生猪养殖用杀毒除虫装置,其特征在于,所述第一转杆(405)上固定安装有第一皮带轮(407),所述第二转杆(408)上固定安装有第二皮带轮(409),所述第一皮带轮(407)和所述第二皮带轮(409)之间通过皮带(411)传动连接。
5.根据权利要求1所述的一种生猪养殖用杀毒除虫装置,其特征在于,所述消毒液箱(5)的内部安装有输送机构(501),所述输送机构(501)上连接有输送管(502)的一端,所述输送管(502)的另一端与所述主管(503)的底端相连接,所述主管(503)上固定安装有第一齿轮(506)。
6.根据权利要求5所述的一种生猪养殖用杀毒除虫装置,其特征在于,所述消毒液箱(5)的顶端固定安装有第二电机箱(6),所述第二电机箱(6)的内部底端固定安装有第二固定座(601),所述第二固定座(601)的顶端固定安装有第二电机(602),所述第二电机(602)的顶端连接有第二减速机(603),所述第二减速机(603)的顶端连接有第二转轴(604),所述第二转轴(604)的顶端固定安装有第二齿轮(605),所述第二齿轮(605)与所述第一齿轮(506)啮合连接。
7.根据权利要求1所述的一种生猪养殖用杀毒除虫装置,其特征在于,所述消毒液箱(5)的顶端还安装有电动伸缩杆(7),所述电动伸缩杆(7)的顶端连接有连接座(701),所述连接座(701)与所述滑杆(504)相连接。
8.根据权利要求1所述的一种生猪养殖用杀毒除虫装置,其特征在于,所述底座(2)的顶端固定安装有两组相对称分布的把手(8)。
技术总结
本技术公开了一种生猪养殖用杀毒除虫装置,包括装置主体,装置主体的底端安装有底座,底座上安装有第一电机箱,第一电机箱的内部安装有第一电机,第一电机的底端固定安装有第一减速机,第一减速机的底端安装有第一转轴,第一转轴的底端固定安装有第一转杆,第一转杆的底端安装有第一清理刷;通过第一电机带动第一减速机转动,第一减速机带动第一转轴转动,第一转轴带动第一转杆转动,进而带动第一清理刷转动,且第二转杆带动第二清理刷转动,通过第一清理刷和第二清理刷的转动能够对猪舍的地面进行清理,消毒液箱内的消毒液能够通过主管和滑杆输送到喷洒头上,然后通过喷洒头喷出到猪舍内的墙壁上来对猪舍的内部进行杀毒作业。
技术研发人员:柴伟伟,李国柱
受保护的技术使用者:寿县恒辉畜牧养殖有限责任公司
技术研发日:20240124
技术公布日:2024/9/2
技术研发人员:柴伟伟,李国柱
技术所有人:寿县恒辉畜牧养殖有限责任公司
备 注:该技术已申请专利,仅供学习研究,如用于商业用途,请联系技术所有人。
声 明 :此信息收集于网络,如果你是此专利的发明人不想本网站收录此信息请联系我们,我们会在第一时间删除
