一种便于调节的种植架的制作方法

本技术涉及种植架,具体为一种便于调节的种植架。
背景技术:
1、林业是指保护生态环境保持生态平衡,培育和保护森林以取得木材和其他林产品、利用林木的自然特性以发挥防护作用的生产部门,通过先进的科学技术和管理手段,从事培育、保护、利用森林资源,充分发挥森林的多种效益,在林业生态中,多数植物都需要进行种苗培育,因此,在对植物进行培育时需要使用种植架进行使用。
2、但大多的种植架在林业中进行使用时,通常不易于对种植板之间的间距进行调节,进而使得在对不同种类的幼苗进行培育时,易导致距离较近导致幼苗发育不好,从而使得幼苗在种植架表面进行培育时的效果较差,使得种植架在对森林培育中的幼苗进行培育时较为不便。
技术实现思路
1、本实用新型的目的在于提供一种便于调节的种植架,以解决上述背景技术提出的种植架在对幼苗培育时不易于进行调节的问题。
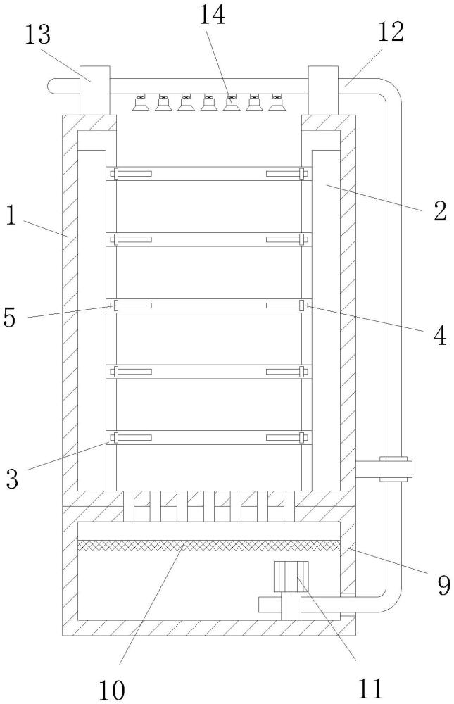
2、为实现上述目的,本实用新型提供如下技术方案:一种便于调节的种植架,包括种植架本体、安装架和放置架,所述种植架本体的内部设置有安装架,所述安装架的一侧设置有放置架,所述放置架的表面开设有滑槽,所述滑槽的表面设置有调节块,所述调节块的一侧连接有锁紧杆。
3、优选的,所述锁紧杆靠近调节块的相邻一侧连接有限制弹簧,所述放置架远离锁紧杆的一侧设置有位移滑块。
4、优选的,所述种植架本体的底部设置有储水箱,所述储水箱的内部设置有过滤板。
5、优选的,所述过滤板的下方设置有水泵,所述水泵的一侧连接有注水管。
6、优选的,所述种植架本体远离储水箱的一侧设置有安装座。
7、优选的,所述注水管的表面设置有注水头,所述注水头的表面连接有喷洒头本体。
8、优选的,所述喷洒头本体的表面设置有安装板,所述安装板的表面设置有定位座。
9、优选的,所述定位座的内部贯穿连接有拉杆,所述拉杆的表面设置有复位弹簧。
10、优选的,所述注水头表面靠近喷洒头本体的一侧设置有密封盖,所述密封盖在注水头的表面呈对称分布。
11、优选的,所述密封盖的下方设置有密封垫。
12、与现有技术相比,本实用新型的有益效果是:该便于调节的种植架,通过将调节块进行拉动,使得调节块能对一侧连接的锁紧杆进行位移,从而使得锁紧杆能对一侧连接的限制弹簧进行挤压,同时锁紧杆在进行位移后能快速的与安装架内部开设的预留槽进行分离,使得将放置架进行拉动,能使得放置架快速的从安装架内部取出,使得种植架在使用时能解决上述不易于进行调节的问题。
13、1、该便于调节的种植架,当种植架对森林培育中的幼苗进行培育时,通常不易于对间距进行调节,从而使得种植架在进行使用时不易于对不同种类的幼苗进行培育,通过将调节块进行拉动,使得调节块能对一侧连接的锁紧杆进行位移,从而使得锁紧杆能对一侧连接的限制弹簧进行挤压,同时锁紧杆在进行位移后能快速的与安装架内部开设的预留槽进行分离,使得将放置架进行拉动,能使得放置架快速的从安装架内部取出,并与不同的预留槽进行对接,从而使得种植架在进行使用时能快速的调节;
14、2、该便于调节的种植架,当种植架在对森林培育中的幼苗进行培育时,通常不易于对喷水口进行更换,进而使得长时间的使用后易产生堵塞,通过将拉杆进行拉动,使得拉杆能对表面连接的复位弹簧进行挤压,从而导致拉杆能快速的与安装板分离,同时对喷洒头本体进行拉动,使得喷洒头本体能快速的与注水头分离,从而使得种植架在产生堵塞后能快速的对喷洒头本体进行更换,使得种植架在进行使用时能更加的便捷。
技术特征:
1.一种便于调节的种植架,包括种植架本体(1)、安装架(2)和放置架(3),其特征在于:
2.根据权利要求1所述的一种便于调节的种植架,其特征在于:所述锁紧杆(6)靠近调节块(5)的相邻一侧连接有限制弹簧(7),所述放置架(3)远离锁紧杆(6)的一侧设置有位移滑块(8)。
3.根据权利要求1所述的一种便于调节的种植架,其特征在于:所述种植架本体(1)的底部设置有储水箱(9),所述储水箱(9)的内部设置有过滤板(10)。
4.根据权利要求3所述的一种便于调节的种植架,其特征在于:所述过滤板(10)的下方设置有水泵(11),所述水泵(11)的一侧连接有注水管(12)。
5.根据权利要求1所述的一种便于调节的种植架,其特征在于:所述种植架本体(1)远离储水箱(9)的一侧设置有安装座(13)。
6.根据权利要求4所述的一种便于调节的种植架,其特征在于:所述注水管(12)的表面设置有注水头(14),所述注水头(14)的表面连接有喷洒头本体(15)。
7.根据权利要求6所述的一种便于调节的种植架,其特征在于:所述喷洒头本体(15)的表面设置有安装板(16),所述安装板(16)的表面设置有定位座(17)。
8.根据权利要求7所述的一种便于调节的种植架,其特征在于:所述定位座(17)的内部贯穿连接有拉杆(18),所述拉杆(18)的表面设置有复位弹簧(19)。
9.根据权利要求6所述的一种便于调节的种植架,其特征在于:所述注水头(14)表面靠近喷洒头本体(15)的一侧设置有密封盖(20),所述密封盖(20)在注水头(14)的表面呈对称分布。
10.根据权利要求9所述的一种便于调节的种植架,其特征在于:所述密封盖(20)的下方设置有密封垫(21)。
技术总结
本技术公开了一种便于调节的种植架,涉及种植架技术领域,包括种植架本体、安装架和放置架,所述种植架本体的内部设置有安装架,所述安装架的一侧设置有放置架,所述放置架的表面开设有滑槽,所述滑槽的表面设置有调节块,所述调节块的一侧连接有锁紧杆。该便于调节的种植架,通过将调节块进行拉动,使得调节块能对一侧连接的锁紧杆进行位移,从而使得锁紧杆能对一侧连接的限制弹簧进行挤压,同时锁紧杆在进行位移后能快速的与安装架内部开设的预留槽进行分离,使得将放置架进行拉动,能使得放置架快速的从安装架内部取出,使得种植架在使用时能解决上述不易于进行调节的问题。
技术研发人员:王鹏,才大伟,韩学喆,李继爱,陆小辉
受保护的技术使用者:王鹏
技术研发日:20231130
技术公布日:2024/7/9
技术研发人员:王鹏,才大伟,韩学喆,李继爱,陆小辉
技术所有人:王鹏
备 注:该技术已申请专利,仅供学习研究,如用于商业用途,请联系技术所有人。
声 明 :此信息收集于网络,如果你是此专利的发明人不想本网站收录此信息请联系我们,我们会在第一时间删除
