一种农林自动化定量施肥喷药一体设备

本发明涉及农业机械,尤其涉及一种农林自动化定量施肥喷药一体设备。
背景技术:
1、现有农林业种植时,为保证果树生长期间有足够的肥料,农户通常会对果树附近的土壤补充颗粒肥料,提供果树后续生长,同时观察果树叶片生长情况,对叶片喷洒液体肥料,提供叶片花芽分化所需的肥料,但是现有农户对果树补充肥料时,需要先对果树附近土壤施颗粒肥料,施完颗粒肥料后,再由农户背负喷药箱,对果树叶片进行补肥,无法在对果树土壤施肥的同时,对果树叶片喷洒液体肥料,导致大大的延长了农户施肥时间,增加了劳动量。
技术实现思路
1、为了克服农户对果树补充肥料时,无法在对果树土壤施肥的同时,对果树叶片喷洒液体肥料,导致大大的延长了农户施肥时间,增加了劳动量的缺点,本发明提供一种农林自动化定量施肥喷药一体设备。
2、本发明的技术实施方案为:一种农林自动化定量施肥喷药一体设备,包括有放置桶、盖板、背带、第一扩容板液体出料管第二扩容板和固体出料管;放置桶上开设有固体肥料放置腔,放置桶上开设有液体肥料放置腔;放置桶上可拆卸连接有盖板;第一扩容板放置桶右侧面上设置有两个背带;液体肥料放置腔上连通有液体出料管,液体出料管内设置有控制阀;第二扩容板固体肥料放置腔上连通有固体出料管,固体出料管内设置有用于调节肥料下料量的调节阀;还包括有手持喷管、支撑板、回形固定板和厚质可形变膜;液体出料管上连通有用于喷出液体肥料的手持喷管,手持喷管与液体出料管连接处为波纹软管;放置桶上设置有用于分隔支撑肥料的支撑板;放置桶上固接有回形固定板;回形固定板上设置有厚质可形变膜。
3、更为优选的是,还包括有锥形引导器和连接板;固体出料管下侧可拆卸连接有若干个连接板,连接板为可形变材质;连接板上固接有锥形引导器,锥形引导器为可形变材质。
4、更为优选的是,还包括有拱形遮挡板;放置桶下侧可拆卸连接有向左凸起用于阻挡肥料的拱形遮挡板。
5、更为优选的是,还包括有支板和承托环;第一扩容板上转动连接有支板;支板上设置有承托环,承托环上设置有供手肘放置的承托孔。
6、更为优选的是,支板与放置桶可拆卸。
7、更为优选的是,还包括有固定块、承托板、滚轮、液体收集块、对接管、液体喷出管、支撑柱、推动辊和转动辊;放置桶下侧设置有承托板,承托板前侧和后侧均开设有滑槽,承托板上开设有对接孔;每个滑槽内均滑动连接有用于固定放置桶的固定块,放置桶前侧和后侧均开设有固定槽,每个固定块均与对应的固定槽扣合;承托板左侧固接有两个推动辊;两个推动辊共同转动连接有转动辊,且转动辊贯穿两个推动辊;转动辊前侧和后侧均转动连接有滚轮;承托板右侧固接有用于收集液体肥料放置腔内液体肥料的液体收集块,液体收集块内开设有空腔;液体收集块上连通有对接管;液体收集块下侧连通有液体喷出管;承托板下侧固接有两个支撑柱。
8、更为优选的是,还包括有折叠防水布和锁止组件;在放置桶不作为一个整体容器的前提下,还可以将放置桶的左侧板和右侧板设置为可活动的第一扩容板和第二扩容板;第一扩容板可向右拉开,第二扩容板可向左拉开;第一扩容板左侧沿第一扩容板四周设置有用于使放置桶扩容的折叠防水布,且折叠防水布位于第一扩容板与放置桶之间;第二扩容板右侧沿第二扩容板四周也设置有折叠防水布,且折叠防水布位于第二扩容板与放置桶之间;锁止组件包括有锁止结构和锁止插销;放置桶前侧和后侧均开设有若干个锁止孔,每两个锁止孔为一组,以放置桶前侧的中心线为对称轴左右对称,且每个锁止孔均未贯穿放置桶;第一扩容板和第二扩容板均固接有两个锁止结构,每个锁止结构均与放置桶滑动连接;每个锁止结构上均开设有与锁止孔相匹配的孔;每个锁止结构上均插接有一个锁止插销,且锁止插销穿过锁止孔。
9、更为优选的是,承托板下侧可拆卸连接有向右凸起的用于拦截肥料的拱形阻拦板,且拱形阻拦板位于拱形遮挡板左侧。
10、更为优选的是,还包括有连接柱和驱动件;锥形引导器内固接有连接柱;连接柱上固接有若干个用于扩大锥形引导器展开范围的驱动件,驱动件为电动推杆。
11、更为优选的是,还包括有圆形滑轨;固体出料管上固接有圆形滑轨;圆形滑轨上设置有若干个用于带动锥形引导器旋转的电动滑块,每个电动滑块均固接在连接板上。
12、有益效果:本发明通过利用厚质可形变膜将放置桶分开,实现了同时施肥和喷药,并且厚质可形变膜还能自适应不同配比的颗粒肥和液体肥,避免放置桶内重量分布不均,影响人背负使用;
13、通过锥形引导器,实现了将颗粒肥大范围撒出,并且结合拱形遮挡板,减小了颗粒肥接触人体的概率;
14、通过固定块固定放置桶,利用人工推动带动放置桶行走,实现了切换场景,对作物同时施肥和喷药;
15、通过折叠防水布,实现了在切换场景后,就不同场景扩大或缩小固体肥料放置腔和液体肥料放置腔的容积。
技术特征:
1.一种农林自动化定量施肥喷药一体设备,包括有放置桶(1)、盖板(2)、背带(3)、第一扩容板(4)液体出料管(6)第二扩容板(7)和固体出料管(8);放置桶(1)上开设有固体肥料放置腔(1002),放置桶(1)上开设有液体肥料放置腔(1003);放置桶(1)上可拆卸连接有盖板(2);第一扩容板(4)放置桶(1)右侧面上设置有两个背带(3);液体肥料放置腔(1003)上连通有液体出料管(6),液体出料管(6)内设置有控制阀;第二扩容板(7)固体肥料放置腔(1002)上连通有固体出料管(8),固体出料管(8)内设置有用于调节肥料下料量的调节阀;其特征是:还包括有手持喷管(5)、支撑板(101)、回形固定板(102)和厚质可形变膜(103);液体出料管(6)上连通有用于喷出液体肥料的手持喷管(5),手持喷管(5)与液体出料管(6)连接处为波纹软管;放置桶(1)上设置有用于分隔支撑肥料的支撑板(101);放置桶(1)上固接有回形固定板(102);回形固定板(102)上设置有厚质可形变膜(103)。
2.按照权利要求1所述的一种农林自动化定量施肥喷药一体设备,其特征是:还包括有锥形引导器(106)和连接板(109);固体出料管(8)下侧可拆卸连接有若干个连接板(109),连接板(109)为可形变材质;连接板(109)上固接有锥形引导器(106),锥形引导器(106)为可形变材质。
3.按照权利要求2所述的一种农林自动化定量施肥喷药一体设备,其特征是:还包括有拱形遮挡板(108);放置桶(1)下侧可拆卸连接有向左凸起用于阻挡肥料的拱形遮挡板(108)。
4.按照权利要求1所述的一种农林自动化定量施肥喷药一体设备,其特征是:还包括有支板(104)和承托环(105);第一扩容板(4)上转动连接有支板(104);支板(104)上设置有承托环(105),承托环(105)上设置有供手肘放置的承托孔(10501)。
5.按照权利要求4所述的一种农林自动化定量施肥喷药一体设备,其特征是:支板(104)与放置桶(1)可拆卸。
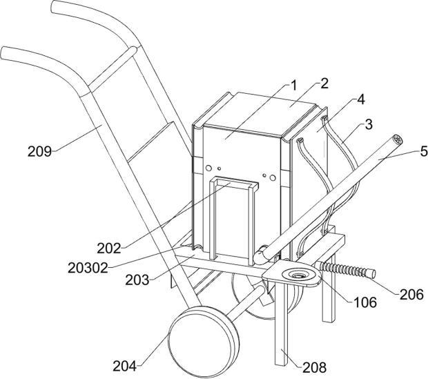
6.按照权利要求1所述的一种农林自动化定量施肥喷药一体设备,其特征是:还包括有固定块(202)、承托板(203)、滚轮(204)、液体收集块(205)、对接管(206)、液体喷出管(207)、支撑柱(208)、推动辊(209)和转动辊(210);放置桶(1)下侧设置有承托板(203),承托板(203)前侧和后侧均开设有滑槽(20301),承托板(203)上开设有对接孔(20302);每个滑槽(20301)内均滑动连接有用于固定放置桶(1)的固定块(202),放置桶(1)前侧和后侧均开设有固定槽(1001),每个固定块(202)均与对应的固定槽(1001)扣合;承托板(203)左侧固接有两个推动辊(209);两个推动辊(209)共同转动连接有转动辊(210),且转动辊(210)贯穿两个推动辊(209);转动辊(210)前侧和后侧均转动连接有滚轮(204);承托板(203)右侧固接有用于收集液体肥料放置腔(1003)内液体肥料的液体收集块(205),液体收集块(205)内开设有空腔;液体收集块(205)上连通有对接管(206);液体收集块(205)下侧连通有液体喷出管(207);承托板(203)下侧固接有两个支撑柱(208)。
7.按照权利要求1所述的一种农林自动化定量施肥喷药一体设备,其特征是:还包括有折叠防水布(201)和锁止组件;在放置桶(1)不作为一个整体容器的前提下,还可以将放置桶(1)的左侧板和右侧板设置为可活动的第一扩容板(4)和第二扩容板(7);第一扩容板(4)可向右拉开,第二扩容板(7)可向左拉开;第一扩容板(4)左侧沿第一扩容板(4)四周设置有用于使放置桶(1)扩容的折叠防水布(201),且折叠防水布(201)位于第一扩容板(4)与放置桶(1)之间;第二扩容板(7)右侧沿第二扩容板(7)四周也设置有折叠防水布(201),且折叠防水布(201)位于第二扩容板(7)与放置桶(1)之间;锁止组件包括有锁止结构(212)和锁止插销(21201);放置桶(1)前侧和后侧均开设有若干个锁止孔(1004),每两个锁止孔(1004)为一组,以放置桶(1)前侧的中心线为对称轴左右对称,且每个锁止孔(1004)均未贯穿放置桶(1);第一扩容板(4)和第二扩容板(7)均固接有两个锁止结构(212),每个锁止结构(212)均与放置桶(1)滑动连接;每个锁止结构(212)上均开设有与锁止孔(1004)相匹配的孔;每个锁止结构(212)上均插接有一个锁止插销(21201),且锁止插销(21201)穿过锁止孔(1004)。
8.按照权利要求6所述的一种农林自动化定量施肥喷药一体设备,其特征是:承托板(203)下侧可拆卸连接有向右凸起的用于拦截肥料的拱形阻拦板(211),且拱形阻拦板(211)位于拱形遮挡板(108)左侧。
9.按照权利要求2所述的一种农林自动化定量施肥喷药一体设备,其特征是:还包括有连接柱(10601)和驱动件(10602);锥形引导器(106)内固接有连接柱(10601);连接柱(10601)上固接有若干个用于扩大锥形引导器(106)展开范围的驱动件(10602),驱动件(10602)为电动推杆。
10.按照权利要求2所述的一种农林自动化定量施肥喷药一体设备,其特征是:还包括有圆形滑轨(107);固体出料管(8)上固接有圆形滑轨(107);圆形滑轨(107)上设置有若干个用于带动锥形引导器(106)旋转的电动滑块(10701),每个电动滑块(10701)均固接在连接板(109)上。
技术总结
本发明涉及农业机械技术领域,尤其涉及一种农林自动化定量施肥喷药一体设备包括有放置桶和盖板等;放置桶上开设有固体肥料放置腔,放置桶上开设有液体肥料放置腔;放置桶上可拆卸连接有盖板。本发明通过利用厚质可形变膜将放置桶分开,实现了同时施肥和喷药,并且厚质可形变膜还能自适应不同配比的颗粒肥和液体肥,避免放置桶内重量分布不均,影响人背负使用,通过锥形引导器,实现了将颗粒肥大范围撒出,并且结合拱形遮挡板,减小了颗粒肥接触人体的概率,通过固定块固定放置桶,利用人工推动带动放置桶行走,实现了切换场景,对作物同时施肥和喷药。
技术研发人员:郭嘉
受保护的技术使用者:内江职业技术学院(内江职业培训学院)
技术研发日:
技术公布日:2024/7/9
技术研发人员:郭嘉
技术所有人:内江职业技术学院(内江职业培训学院)
备 注:该技术已申请专利,仅供学习研究,如用于商业用途,请联系技术所有人。
声 明 :此信息收集于网络,如果你是此专利的发明人不想本网站收录此信息请联系我们,我们会在第一时间删除
