一种具有鸟类驱逐功能的种植监测设备的制作方法

本技术涉及杂粮种植,尤其涉及一种具有鸟类驱逐功能的种植监测设备。
背景技术:
1、杂粮,一般是指水稻、小麦、玉米、大豆等大宗粮食作物以外的粮食,我国杂粮作物种类繁多,广泛分布在各省、市、自治区。随着人们生活水平的日益提高,和营养保健意识的增强,粗、杂粮越来越受到人们的青睐。如何准确监控杂粮种植过程中杂粮的生长参数以及环境参数,减少病虫害等对杂粮产量的影响,具有很重要的现实意义。
2、传统的监测装置仅对地面上方的作物情况进行监测,作物生长的土壤则需要另外进行监测,耗费人力物力,且在进行监测的过程中,容易遇到鸟类停驻或偷吃农作物,传统的监测装置无法对鸟类进行驱逐,影响监测效果。
3、因此,有必要提供一种新的具有鸟类驱逐功能的种植监测设备解决上述技术问题。
技术实现思路
1、为解决无法驱逐鸟类,容易影响监测的技术问题,本实用新型提供一种具有鸟类驱逐功能的种植监测设备。
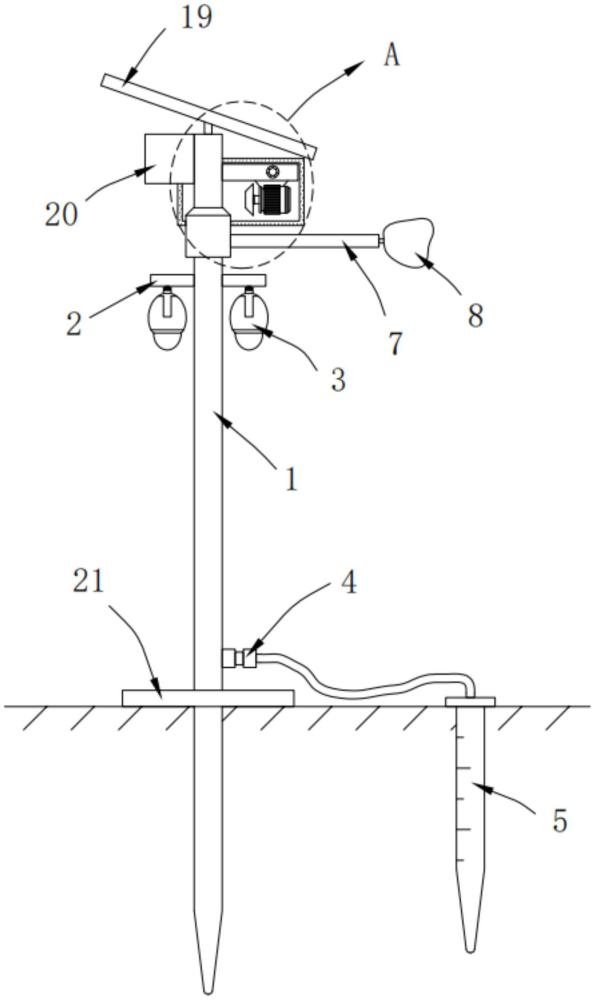
2、本实用新型提供的具有鸟类驱逐功能的种植监测设备包括:立杆;两个固定板,两个所述固定板均固定安装在所述立杆上;两个摄像头,两个所述摄像头固定安装在两个所述固定板上;安装头,所述安装头可拆卸安装在所述立杆上;土壤监测仪,所述土壤监测仪插入待监测地面并与安装头以导线连接;固定块,所述固定块转动安装在所述立杆上;支撑杆,所述支撑杆固定安装在所述固定块上;驱赶布,所述驱赶布固定安装在所述支撑杆上;滑移驱动机构,所述滑移驱动机构设置在所述立杆上,所述滑移驱动机构与所述固定块对应设置;驱动赶鸟机构,所述驱动赶鸟机构设置在所述立杆上,所述驱动赶鸟机构与所述滑移驱动机构对应设置。
3、优选的,所述滑移驱动机构包括驱动箱、活动槽、齿条、传动齿轮和驱动电机,所述驱动箱固定安装在所述立杆上,所述驱动箱与所述固定块对应设置,所述活动槽开设在所述驱动箱上,所述齿条滑动设置在所述驱动箱内,所述齿条与所述活动槽滑动接触,所述传动齿轮转动安装在所述驱动箱内,所述传动齿轮与所述齿条相啮合,所述驱动电机固定安装在所述驱动箱上,所述驱动电机的输出轴与所述传动齿轮固定连接。
4、优选的,所述驱动赶鸟机构包括固定座、旋转电机、第一锥形齿轮和第二锥形齿轮,所述固定座固定安装在所述齿条上,所述固定座与所述活动槽滑动接触,所述旋转电机固定安装在所述固定座上,所述第一锥形齿轮固定安装装置所述旋转电机的输出轴上,所述第二锥形齿轮固定安装在所述固定块上,所述第二锥形齿轮与所述第一锥形齿轮对应设置。
5、优选的,所述立杆上固定安装有保护罩,所述保护罩与所述滑移驱动机构和驱动赶鸟机构对应设置。
6、优选的,所述立杆上固定安装太阳能板和储电箱,所述储电箱与所述太阳能板对应设置。
7、优选的,所述立杆上固定安装有稳定座,所述稳定座与地面相抵触。
8、优选的,所述立杆的底部设置为锥形。
9、与相关技术相比较,本实用新型提供的具有鸟类驱逐功能的种植监测设备具有如下有益效果:
10、本实用新型提供一种具有鸟类驱逐功能的种植监测设备:
11、1、首先将立杆固定安装在杂粮种植田内,立杆的底部设置为锥形有利与将立杆稳定座以下的位置埋入地下,起到稳定立杆的作用,防止立杆顶部装置太重导致立杆倾倒,在立杆的周围将土壤监测仪埋下,土壤监测仪通过导线与安装头连接,对杂粮种植田内的土壤墒情进行监测;
12、2、固定块转动安装在立杆上,固定块上固定安装有支撑杆,支撑杆的一端固定安装有驱赶布,通过风力吹动能够驱动支撑杆转动,驱赶布晃动起到驱赶鸟类的作用,当风力较弱无法驱动支撑杆转动时,驱动电机驱动传动齿轮转动,与传动齿轮相啮合的齿条随之滑动,齿条带动固定安装在固定座上的旋转电机移动,移动至第一锥形齿轮与第二锥形齿轮相啮合时,打开旋转电机,旋转电机带动固定安装在固定块上的第二锥形齿轮转动,固定安装在固定块上的支撑杆带动驱赶布转动,驱赶杂粮田中的鸟类;
13、3、立杆上固定安装有太阳能板,固定安装在立杆上的储电箱与太阳能板对应设置,能够将太阳能板转换的电能储存起来,给装置进行供电,固定安装在固定板上的摄像头对杂粮田进行监测,监测的范围更加全面,有利于对作物的生长情况进行反馈记录。
技术特征:
1.一种具有鸟类驱逐功能的种植监测设备,其特征在于,包括:
2.根据权利要求1所述的具有鸟类驱逐功能的种植监测设备,其特征在于,所述滑移驱动机构包括驱动箱、活动槽、齿条、传动齿轮和驱动电机,所述驱动箱固定安装在所述立杆上,所述驱动箱与所述固定块对应设置,所述活动槽开设在所述驱动箱上,所述齿条滑动设置在所述驱动箱内,所述齿条与所述活动槽滑动接触,所述传动齿轮转动安装在所述驱动箱内,所述传动齿轮与所述齿条相啮合,所述驱动电机固定安装在所述驱动箱上,所述驱动电机的输出轴与所述传动齿轮固定连接。
3.根据权利要求2所述的具有鸟类驱逐功能的种植监测设备,其特征在于,所述驱动赶鸟机构包括固定座、旋转电机、第一锥形齿轮和第二锥形齿轮,所述固定座固定安装在所述齿条上,所述固定座与所述活动槽滑动接触,所述旋转电机固定安装在所述固定座上,所述第一锥形齿轮固定安装在所述旋转电机的输出轴上,所述第二锥形齿轮固定安装在所述固定块上,所述第二锥形齿轮与所述第一锥形齿轮对应设置。
4.根据权利要求1所述的具有鸟类驱逐功能的种植监测设备,其特征在于,所述立杆上固定安装有保护罩,所述保护罩与所述滑移驱动机构和驱动赶鸟机构对应设置。
5.根据权利要求1所述的具有鸟类驱逐功能的种植监测设备,其特征在于,所述立杆上固定安装太阳能板和储电箱,所述储电箱与所述太阳能板对应设置。
6.根据权利要求1所述的具有鸟类驱逐功能的种植监测设备,其特征在于,所述立杆上固定安装有稳定座,所述稳定座与地面相抵触。
7.根据权利要求1所述的具有鸟类驱逐功能的种植监测设备,其特征在于,所述立杆的底部设置为锥形。
技术总结
本技术提供一种具有鸟类驱逐功能的种植监测设备。所述具有鸟类驱逐功能的种植监测设备包括:立杆;两个固定板,两个所述固定板均固定安装在所述立杆上;两个摄像头,两个所述摄像头固定安装在两个所述固定板上;安装头,所述安装头可拆卸安装在所述立杆上;土壤监测仪,所述土壤监测仪插入待监测地面并与安装头以导线连接;固定块,所述固定块转动安装在所述立杆上;支撑杆,所述支撑杆固定安装在所述固定块上;驱赶布,所述驱赶布固定安装在所述支撑杆上;滑移驱动机构,所述滑移驱动机构设置在所述立杆上,所述滑移驱动机构与所述固定块对应设置。本技术提供的具有鸟类驱逐功能的种植监测设备具有监测便捷,能够驱逐田中鸟类的优点。
技术研发人员:刘伟燕,李桂祥,和双平,赵金莲
受保护的技术使用者:兰坪县康之源农业综合开发有限公司
技术研发日:20231124
技术公布日:2024/8/26
技术研发人员:刘伟燕,李桂祥,和双平,赵金莲
技术所有人:兰坪县康之源农业综合开发有限公司
备 注:该技术已申请专利,仅供学习研究,如用于商业用途,请联系技术所有人。
声 明 :此信息收集于网络,如果你是此专利的发明人不想本网站收录此信息请联系我们,我们会在第一时间删除
