一种卫生用杀虫剂雾化器的制作方法

本技术涉及杀虫剂雾化器,具体涉及一种卫生用杀虫剂雾化器。
背景技术:
1、在农业、卫生和家庭环境中,杀虫剂雾化器是一种常见的工具,用于喷洒杀虫剂以控制害虫的数量。然而,传统的杀虫剂雾化器存在一些不足之处,这些问题主要涉及使用者的便捷性、操作的复杂性和设备的稳固性。
2、使用者便捷性不足:传统的杀虫剂雾化器通常需要手持,可能导致长时间使用时的疲劳和不便。此外,调整喷雾方向可能需要较大的力量,使得使用者在操作时感到不便。
3、操作复杂性:传统的雾化器在安装和拆卸方面可能涉及多个步骤,需要使用者具备一定的技能和耐心。这使得设备的使用和维护变得相对繁琐,降低了用户的使用体验。
4、稳固性差:由于传统雾化器通常是手持式的,使用者需要不断用手持稳设备,这可能导致操作不够稳定,尤其是在长时间使用时,容易出现手部疲劳,降低了工作效率。
5、综上所述,传统杀虫剂雾化器在使用便捷性、操作复杂性、稳固性和效率方面存在一些不足之处,迫切需要创新设计以提高用户体验和防治效果。新型卫生用杀虫剂雾化器通过前述的有益效果,有望解决这些问题,提升杀虫剂雾化器的整体性能。
技术实现思路
1、为克服现有技术的缺陷,本实用新型的目的在于提供一种卫生用杀虫剂雾化器。
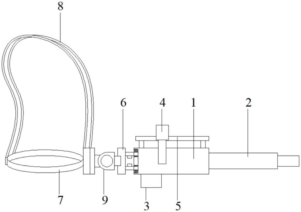
2、为达到所述目的,本实用新型的技术方案是这样实现的:一种卫生用杀虫剂雾化器,包括机体和喷雾管,所述机体两侧均安装有侧握把,所述机体尾端安装有对接机构,所述对接机构的另一端对接有万向铰接座,所述万向铰接座的另一端对接有腰带,所述腰带上还安装有背带;
3、所述对接机构包括:
4、安装于所述万向铰接座活动端上的固定座;
5、固定于所述固定座前端的对接座;
6、分布于所述机体尾端内部的夹紧驱动机构;
7、分布于所述夹紧驱动机构两个驱动端上的夹紧锁定组件,两个所述夹紧锁定组件对应夹紧锁定于所述对接座上下面上。
8、优选地,所述对接座上下面上均等距设置有三个定位孔,所述夹紧锁定组件包括:
9、坚持在对接座同侧面上的夹紧板;
10、均匀分布于所述夹紧板夹持面的三个定位柱,三个所述定位柱插接于三个所述定位孔的内部。
11、优选地,所述夹紧驱动机构包括:
12、分布于所述机体尾端内部的固定槽;
13、安装于所述固定槽内部中心的双轴减速电机;
14、对接于所述双轴减速电机两侧输出端上的驱动丝杆;
15、两个分别螺纹套接于两侧所述驱动丝杆上的螺纹套管,两侧所述螺纹套管,两侧所述螺纹套管外侧面分别与两个所述夹紧锁定组件前端固定连接。
16、优选地,所述机体顶部还安装有提把。
17、优选地,所述喷雾管对接于所述机体的前端。
18、优选地,所述机体的底部安装有抽液泵,所述抽液泵抽液端连通杀虫剂药罐内部,所述抽液泵的出液端对接于所述机体的内部。
19、本实用新型的有益效果体现在:
20、舒适性与便携性:设备的设计考虑了使用者的舒适感,通过腰带和背带的组合,提供了稳固的支撑,使得用户无需手持,仅需操作侧握把即可进行喷雾,减轻了操作的负担,提高了便携性。
21、多向调节功能:万向铰接座和对接机构的设计允许用户调整喷雾管的方向,侧握把的两侧对称设计使得调整更加灵活,让用户能够准确控制喷雾的方向和范围。
22、操作灵活性:夹紧锁定组件和夹紧驱动机构的结合设计,使得设备能够简便地安装和拆卸,提高了操作的便捷性和效率,同时也降低了维护和清洁的难度。
23、总的来说,这种卫生用杀虫剂雾化器在设计上考虑了使用者的舒适性和操作的便捷性,通过多项功能性设计提高了喷雾器的实用性和效率,为杀虫作业提供了一种更为便利和可靠的工具。
技术特征:
1.一种卫生用杀虫剂雾化器,包括机体(1)和喷雾管(2),其特征在于,所述机体(1)两侧均安装有侧握把(4),所述机体(1)尾端安装有对接机构(6),所述对接机构(6)的另一端对接有万向铰接座(9),所述万向铰接座(9)的另一端对接有腰带(7),所述腰带(7)上还安装有背带(8);
2.根据权利要求1所述的一种卫生用杀虫剂雾化器,其特征在于,所述对接座(62)上下面上均等距设置有三个定位孔(621),所述夹紧锁定组件(63)包括:
3.根据权利要求1所述的一种卫生用杀虫剂雾化器,其特征在于,所述夹紧驱动机构(64)包括:
4.根据权利要求1所述的一种卫生用杀虫剂雾化器,其特征在于,所述机体(1)顶部还安装有提把(5)。
5.根据权利要求1所述的一种卫生用杀虫剂雾化器,其特征在于,所述喷雾管(2)对接于所述机体(1)的前端。
6.根据权利要求1所述的一种卫生用杀虫剂雾化器,其特征在于,所述机体(1)的底部安装有抽液泵(3),所述抽液泵(3)抽液端连通杀虫剂药罐内部,所述抽液泵(3)的出液端对接于所述机体(1)的内部。
技术总结
本技术涉及杀虫剂雾化器技术领域,本技术提供了一种卫生用杀虫剂雾化器,包括机体和喷雾管,所述机体两侧均安装有侧握把,所述机体尾端安装有对接机构,所述对接机构的另一端对接有万向铰接座,所述万向铰接座的另一端对接有腰带,所述腰带上还安装有背带。这种卫生用杀虫剂雾化器在设计上考虑了使用者的舒适性和操作的便捷性,通过多项功能性设计提高了喷雾器的实用性和效率,为杀虫作业提供了一种更为便利和可靠的工具。
技术研发人员:秦钰,宋万华,王标兵
受保护的技术使用者:绿盟中科(北京)生物科技有限公司
技术研发日:20231204
技术公布日:2024/9/2
技术研发人员:秦钰,宋万华,王标兵
技术所有人:绿盟中科(北京)生物科技有限公司
备 注:该技术已申请专利,仅供学习研究,如用于商业用途,请联系技术所有人。
声 明 :此信息收集于网络,如果你是此专利的发明人不想本网站收录此信息请联系我们,我们会在第一时间删除
