一种喷灌设备的制作方法

本技术涉及喷灌设备,特别是指一种喷灌设备。
背景技术:
1、喷灌是借助水泵和管道系统或利用自然水源的落差,把具有一定压力的水喷到空中,散成小水滴或形成弥雾降落,可减少对水资源的损耗,而在蓝莓种植过程中,为了降低成本,一般会采用喷灌设备对蓝莓种苗木进行喷灌,不仅能够节约水资源,还能节省人工成本,从而实现蓝莓的高效浇灌。
2、中国申请号为cn202321145358.4的实用新型专利提出一种喷灌设备,首先将设备推至需要喷灌的绿化带旁,松动螺母,通过转盘转动第一转杆,第一转杆配合第二转杆使圆环带动出水管进行调节角度,从而调节喷头的喷洒距离,启动水泵配合进水管和出水管使喷头将水喷出,启动伸缩杆带动滑块在滑轨上进行移动,对绿化带进行喷灌,从而不需要人工手持喷枪拖着水管进行喷灌,既省时省力,还提高了工作效率,不影响人员行走;但是上述的喷灌设备在实际使用时,难以将喷淋头进行转动,导致喷灌设备对所需喷灌蓝莓和蓝莓苗木的地方喷灌时容易存在死角,造成蓝莓或蓝莓苗木的喷灌不够均匀、全面,并且若喷淋头转动调节时,需要将设备整体转动,从而增加了工作人员的工作量,由此降低了设备的实用性。
技术实现思路
1、本实用新型提出一种喷灌设备,以解决现有喷灌设备难以将喷淋头进行转动,导致喷灌设备对所需喷灌蓝莓和蓝莓苗木的地方喷灌时容易存在死角,造成蓝莓或蓝莓苗木喷灌不够均匀、全面的问题。
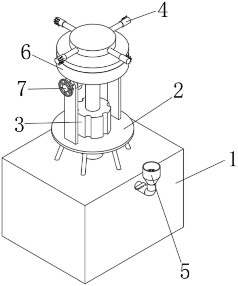
2、为了实现上述目的,本实用新型提供如下技术方案:一种喷灌设备,包括:
3、水箱,所述水箱的顶部设置有支架,所述支架的顶部设置有水泵,所述支架的顶部设置有两个支撑板,两个所述支撑板的顶部设置有喷淋头,所述喷淋头与水泵之间连接有水管;且水箱的内部设置有搅拌叶,通过设置的搅拌叶便于将水与药液进行搅拌;
4、旋转组件,所述旋转组件包括铰接在两个所述支撑板之间的安装箱以及开设在安装箱内部的容纳槽,所述容纳槽的内部转动安装有齿轮,所述安装箱的顶部转动安装有灌溉筒,所述灌溉筒与齿轮之间设置有旋转筒,且所述喷淋头设置在灌溉筒四周,所述容纳槽内部设置有用于驱动齿轮转动的动力组件。
5、在一种可能的实现方式中,所述动力组件包括设置在所述容纳槽内部的电动推杆以及安装在电动推杆一侧与齿轮相啮合的齿条,且所述齿条与所述容纳槽之间设置有限位杆,通过设置的限位杆便于将齿条进行有效的限位,避免齿条发生偏移。
6、在一种可能的实现方式中,所述水箱的一侧设置有放料组件,所述放料组件包括设置在水箱一侧的料斗以及可拆卸的设置在料斗内部的滤网,所述料斗上设置有关闭阀门,通过设置的关闭阀门便于将料斗进行关闭。
7、在一种可能的实现方式中,所述安装箱与所述支撑板之间设置有翻转组件,所述翻转组件包括设置在所述支撑板一侧的转柄以及安装在转柄与安装箱之间的连接柱,所述转柄与所述支撑板之间设置有限位固定组件。
8、在一种可能的实现方式中,所述限位固定组件包括开设在所述支撑板上的插接槽以及安装在转柄上的插杆,且所述插杆远离转柄的一端插设进所述插接槽内,所述转柄与连接柱之间设置有复位组件,通过设置的复位组件便于将转柄进行有效的复位,避免人员反复拉动转柄。
9、在一种可能的实现方式中,所述复位组件包括开设在转柄内部的开口槽以及设置在转柄与连接柱之间的复位弹簧,且所述复位弹簧与连接柱均处于所述开口槽内。
10、在上述技术方案中,本实用新型提供的技术效果和优点:
11、(1)本实用新型通过旋转组件的设置,能将喷淋头进行有效的转动,使喷淋头随着转动将喷出的小水滴和水雾喷洒的更远,实现喷灌设备对所需喷灌蓝莓和蓝莓苗木的地方喷灌时能够更加均匀、全面,并且无需人工将设备整体转动,降低了工作人员的工作量,从而提高蓝莓的喷灌效果,保证蓝莓的均匀补水,促进蓝莓的生长。
12、(2)本实用新型通过翻转组件的设置,能够有效的将喷淋头翻转,实现将喷淋头与支撑板对齐,以便于对喷淋头的维修和移动,且能有效的将喷淋头进行位置转动,适应不同角度的喷灌,扩大喷灌范围,提高喷灌效果。
技术特征:
1.一种喷灌设备,其特征在于,包括:
2.根据权利要求1所述的一种喷灌设备,其特征在于:所述动力组件包括设置在所述容纳槽内部的电动推杆(62)以及安装在电动推杆(62)一侧与齿轮(64)相啮合的齿条(63),且所述齿条(63)与所述容纳槽之间设置有限位杆。
3.根据权利要求1所述的一种喷灌设备,其特征在于:所述水箱(1)的一侧设置有放料组件(5),所述放料组件(5)包括设置在水箱(1)一侧的料斗(51)以及可拆卸的设置在料斗(51)内部的滤网(52),所述料斗(51)上设置有关闭阀门。
4.根据权利要求1所述的一种喷灌设备,其特征在于:所述安装箱(61)与所述支撑板之间设置有翻转组件(7),所述翻转组件(7)包括设置在所述支撑板一侧的转柄(71)以及安装在转柄(71)与安装箱(61)之间的连接柱(74),所述转柄(71)与所述支撑板之间设置有限位固定组件。
5.根据权利要求4所述的一种喷灌设备,其特征在于:所述限位固定组件包括开设在所述支撑板上的插接槽以及安装在转柄(71)上的插杆(72),且所述插杆(72)远离转柄(71)的一端插设进所述插接槽内,所述转柄(71)与连接柱(74)之间设置有复位组件。
6.根据权利要求5所述的一种喷灌设备,其特征在于:所述复位组件包括开设在转柄(71)内部的开口槽以及设置在转柄(71)与连接柱(74)之间的复位弹簧(73),且所述复位弹簧(73)与连接柱(74)均处于所述开口槽内。
技术总结
本技术涉及喷灌设备技术领域,且公开了一种喷灌设备,包括:水箱,所述水箱的顶部设置有支架,所述支架的顶部设置有水泵,所述支架的顶部设置有两个支撑板,两个所述支撑板的顶部设置有喷淋头,所述喷淋头与水泵之间连接有水管;旋转组件,所述旋转组件包括铰接在两个所述支撑板之间的安装箱以及开设在安装箱内部的容纳槽,所述容纳槽的内部转动安装有齿轮;本技术通过旋转组件的设置,能将喷淋头进行有效的转动,实现喷灌设备对所需喷灌蓝莓和蓝莓苗木的地方喷灌时能够更加均匀、全面,并且无需人工将设备整体转动,降低了工作人员的工作量,从而提高蓝莓的喷灌效果,保证蓝莓的均匀补水,促进蓝莓的生长。
技术研发人员:邢伟利,党晓光,董一星,董太平
受保护的技术使用者:河南豫尧农林科技开发有限公司
技术研发日:20231130
技术公布日:2024/9/2
技术研发人员:邢伟利,党晓光,董一星,董太平
技术所有人:河南豫尧农林科技开发有限公司
备 注:该技术已申请专利,仅供学习研究,如用于商业用途,请联系技术所有人。
声 明 :此信息收集于网络,如果你是此专利的发明人不想本网站收录此信息请联系我们,我们会在第一时间删除
