一种防逃脱捕鼠夹的制作方法

本技术涉及捕鼠,尤其是指一种防逃脱捕鼠夹。
背景技术:
1、目前,市面上的捕鼠夹的设计主要针对的是捕鼠的灵敏性及方便携带,没有防逃脱效果,当被夹住的老鼠力气大过扭力弹簧的扭力时,老鼠会通过身体用力将捕鼠夹撑起然后逃脱;现有的捕鼠夹大多没有防夹手功能,在放置鼠夹这个实际操作的过程中,很容易误碰触发器,由于鼠夹本身的灵敏性,导致鼠夹容易夹住放置人员的手指从而致伤。
技术实现思路
1、本实用新型的目的在于克服现有技术的不足,提供一种结构合理、使用效果好的防逃脱捕鼠夹。
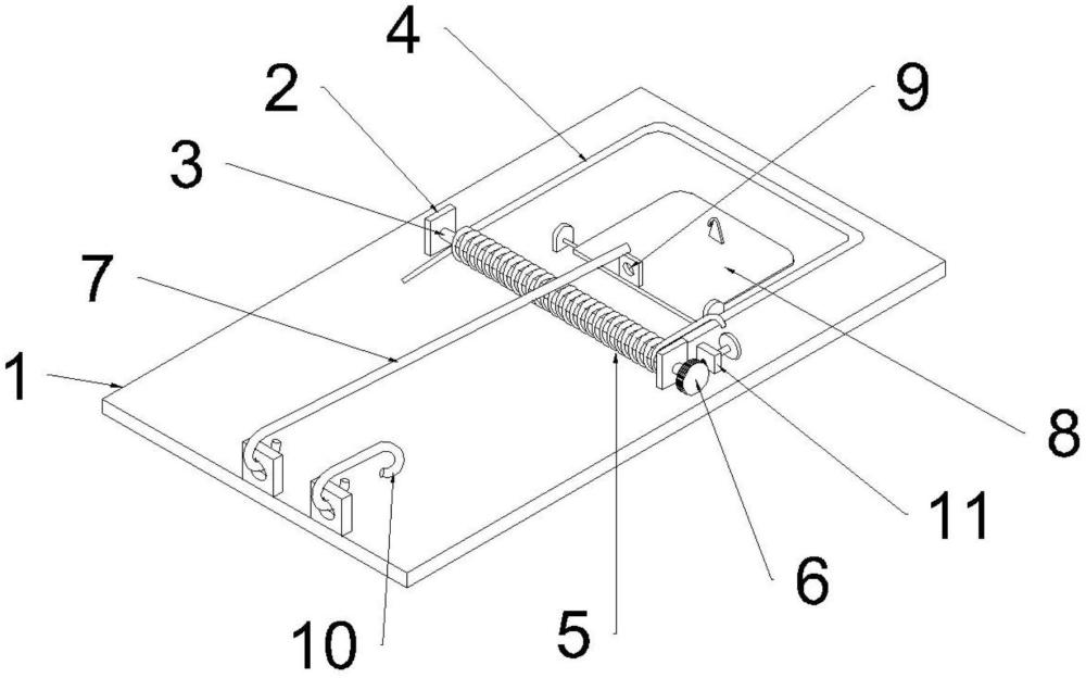
2、为实现上述目的,本实用新型所提供的技术方案为:一种防逃脱捕鼠夹,它包括有底板,底板两侧顶部安装有侧板,两块侧板之间活动安装有旋转轴,旋转轴上固定安装有捕鼠夹,旋转轴上套装有扭力弹簧,安装后的扭力弹簧一端与底板顶部抵触,扭力弹簧另一端与捕鼠夹抵触,旋转轴其中一端穿过侧板与齿轮连接,齿轮一侧的底板顶部安装有限位组件,安装后的限位组件与齿轮相配合,旋转轴一侧的底板顶部安装有压杆,旋转轴另一侧的底板顶部安装有诱饵板,诱饵板上设有压杆孔,压杆孔与压杆相配合。
3、所述的限位组件包括有安装板、限位轴、手柄,其中,安装板固定安装在底板顶部,限位轴一端与手柄连接,限位轴另一端穿过安装板形成有限位端,限位端与齿轮相配合,限位端上固定有限位环,限位环与安装板之间的限位轴上套装有限位弹簧,套装后的限位弹簧一端与限位环抵触,限位弹簧另一端与安装板抵触。
4、所述的位于齿轮一端的限位端顶部设有倾斜的导向面。
5、所述的压杆一侧的底板顶部安装有安全钩,安全钩与捕鼠夹相配合。
6、本实用新型在采用上述方案后,压杆、诱饵板、压杆孔均按现有技术安装和使用,当老鼠触碰诱饵板时,捕鼠夹在扭力弹簧的扭力带动下向老鼠方向进行旋转,捕鼠夹在旋转的同时通过旋转轴带动齿轮旋转,齿轮旋转时在导向面的作用下推动限位端向安装板方向移动,当捕鼠夹夹住老鼠时,齿轮停止旋转,限位端在限位弹簧的弹力作用下插入齿轮的齿槽内,从而对齿轮进行限位,齿轮再通过旋转轴对捕鼠夹进行限位,使被夹老鼠不能通过撑起捕鼠夹进行逃脱;在投放诱饵时,可将安全钩勾在捕鼠夹上,可防止误碰触发器,导致捕鼠夹夹伤放置人员的手指;本实用新型在采用上述方案后结构合理、使用效果好。
技术特征:
1.一种防逃脱捕鼠夹,它包括有底板(1),其特征在于:底板(1)两侧顶部安装有侧板(2),两块侧板(2)之间活动安装有旋转轴(3),旋转轴(3)上固定安装有捕鼠夹(4),旋转轴(3)上套装有扭力弹簧(5),安装后的扭力弹簧(5)一端与底板(1)顶部抵触,扭力弹簧(5)另一端与捕鼠夹(4)抵触,旋转轴(3)其中一端穿过侧板(2)与齿轮(6)连接,齿轮(6)一侧的底板(1)顶部安装有限位组件,安装后的限位组件与齿轮(6)相配合,旋转轴(3)一侧的底板(1)顶部安装有压杆(7),旋转轴(3)另一侧的底板(1)顶部安装有诱饵板(8),诱饵板(8)上设有压杆孔(9),压杆孔(9)与压杆(7)相配合。
2.根据权利要求1所述的一种防逃脱捕鼠夹,其特征在于:所述的限位组件包括有安装板(11)、限位轴(12)、手柄(13),其中,安装板(11)固定安装在底板(1)顶部,限位轴(12)一端与手柄(13)连接,限位轴(12)另一端穿过安装板(11)形成有限位端(14),限位端(14)与齿轮(6)相配合,限位端(14)上固定有限位环(15),限位环(15)与安装板(11)之间的限位轴(12)上套装有限位弹簧(16),套装后的限位弹簧(16)一端与限位环(15)抵触,限位弹簧(16)另一端与安装板(11)抵触。
3.根据权利要求2所述的一种防逃脱捕鼠夹,其特征在于:位于齿轮(6)一端的限位端(14)顶部设有倾斜的导向面(17)。
4.根据权利要求1所述的一种防逃脱捕鼠夹,其特征在于:压杆(7)一侧的底板(1)顶部安装有安全钩(10),安全钩(10)与捕鼠夹(4)相配合。
技术总结
本技术提供一种防逃脱捕鼠夹,它包括有底板,底板两侧顶部安装有侧板,两块侧板之间活动安装有旋转轴,旋转轴上固定安装有捕鼠夹,旋转轴上套装有扭力弹簧,安装后的扭力弹簧一端与底板顶部抵触,扭力弹簧另一端与捕鼠夹抵触,旋转轴其中一端穿过侧板与齿轮连接,齿轮一侧的底板顶部安装有限位组件,安装后的限位组件与齿轮相配合,旋转轴一侧的底板顶部安装有压杆,旋转轴另一侧的底板顶部安装有诱饵板,诱饵板上设有压杆孔;本技术在采用上述方案后结构合理、使用效果好。
技术研发人员:舒煜皓,李浩,朱红萍
受保护的技术使用者:湖南芬尔环保科技有限公司
技术研发日:20231226
技术公布日:2024/9/2
技术研发人员:舒煜皓,李浩,朱红萍
技术所有人:湖南芬尔环保科技有限公司
备 注:该技术已申请专利,仅供学习研究,如用于商业用途,请联系技术所有人。
声 明 :此信息收集于网络,如果你是此专利的发明人不想本网站收录此信息请联系我们,我们会在第一时间删除
