一种取鞋机械手的制作方法

本实用新型涉及一种从鞋模中取鞋的生产设备,特别涉及一种取鞋机械手。
背景技术:
在生产制造鞋的工序中,有一道工序是从鞋模中取出鞋,现在的生产工艺中,一般通过人工来进行取鞋工序,人工取鞋的工作效率较低,而且提高了生产加工的人力成本及时间成本,生产效率较低。
因此,如何实现一种可从鞋模中自动取鞋,自动化程度高,生产效率高,有效节省生产成本的取鞋机械手是业内亟待解决的技术问题。
技术实现要素:
本实用新型的主要目的是提供一种取鞋机械手,旨在实现一种可从鞋模中自动取鞋,自动化程度高,生产效率高,有效节省生产成本的取鞋机械手。
本实用新型提出一种取鞋机械手,可从鞋模内取鞋,取鞋机械手包括可推动所述取鞋机械手到鞋模的区域的主气缸、导轨、套设于导轨上的安装板、安装于安装板上的固定板及底板、通过钩鞋伸缩气缸安装块安装于安装板上的钩鞋伸缩气缸、安装于钩鞋伸缩气缸安装块上的鞋钩安装板、安装于鞋钩安装板上并套设于导轨上的滑块安装板、安装于钩鞋伸缩气缸安装块上的鞋钩开合气缸、安装于鞋钩开合气缸下端的鞋钩,安装块、鞋钩安装板、滑块安装板、鞋钩开合气缸、鞋钩组成鞋钩组件;还包括安装于安装板上的鞋夹气缸、连接于鞋夹气缸上的鞋夹推动滑块安装板、安装于鞋夹推动滑块安装板上的外鞋夹组件与内鞋夹组件;外鞋夹组件包括连接于鞋夹推动滑块安装板上的外鞋夹连杆、连接于外鞋夹连杆下端的外鞋夹安装块、安装于外鞋夹安装块下端的外鞋夹;内鞋夹组件包括连接于鞋夹推动滑块安装板上的内鞋夹连杆、连接于内鞋夹连杆下端的内鞋夹安装块、安装于内鞋夹安装块下端的内鞋夹;当从鞋模内取鞋时,由主气缸推动所述取鞋机械手到达鞋模的区域,由钩鞋伸缩气缸推动鞋钩组件沿导轨向前移动,在移动的同时鞋钩开合气缸将鞋钩推开并使鞋钩钩住鞋,由钩鞋伸缩气缸将鞋的一端拉离鞋模,再由鞋夹气缸推动内鞋夹与外鞋夹来夹紧鞋,再由主气缸带动将鞋拉离鞋模从而完成从鞋模里取出鞋的整个动作。
优选地,取鞋机械手还包括安装于安装板侧面上的侧板。
本取鞋机械手实现了从鞋模中取鞋的自动化操作,自动化程度高,大大提高了生产效率。本实用新型实现了一种可从鞋模中自动取鞋,自动化程度高,生产效率高,有效节省生产成本的取鞋机械手。
附图说明
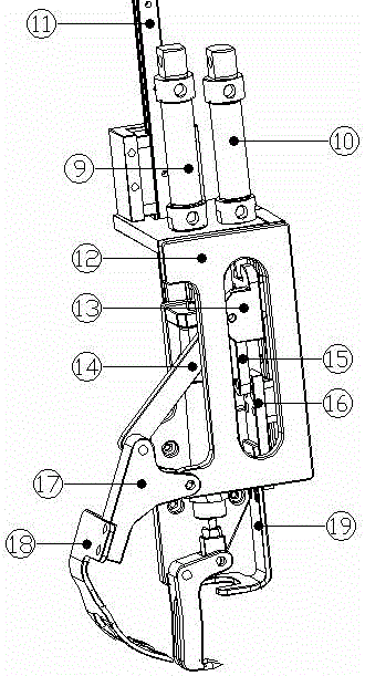
图1为本实用新型一种取鞋机械手的一实施例的立体结构示意图之一;
图2为本实用新型一种取鞋机械手的一实施例的立体结构示意图之二。
本实用新型目的的实现、功能特点及优点将结合实施例,参照附图做进一步说明。
具体实施方式
应当理解,此处所描述的具体实施例仅仅用以解释本实用新型,并不用于限定本实用新型。
参照图1至图2,提出本实用新型的一种取鞋机械手的一实施例,可从鞋模内取鞋,取鞋机械手运用气电控制装置通过对气缸的控制来达到将鞋从鞋模内取出的工序。取鞋机械手包括可推动所述取鞋机械手到鞋模的区域的主气缸、导轨11、套设于导轨11上的安装板1、安装于安装板上的固定板2及底板3、通过钩鞋伸缩气缸安装块4安装于安装板上的钩鞋伸缩气缸9、安装于钩鞋伸缩气缸安装块4上的鞋钩安装板5、安装于鞋钩安装板5上并套设于导轨11上的滑块安装板6、安装于钩鞋伸缩气缸安装块4上的鞋钩开合气缸7、安装于鞋钩开合气缸7下端的鞋钩8,取鞋机械手还包括安装于安装板4侧面上的侧板12。安装块、鞋钩安装板5、滑块安装板6、鞋钩开合气缸7、鞋钩8组成鞋钩组件。
取鞋机械手还包括安装于安装板1上的鞋夹气缸10、连接于鞋夹气缸10上的鞋夹推动滑块安装板13、安装于鞋夹推动滑块安装板13上的外鞋夹组件与内鞋夹组件。
外鞋夹组件包括连接于鞋夹推动滑块安装板13上的外鞋夹连杆14、连接于外鞋夹连杆14下端的外鞋夹安装块17、安装于外鞋夹安装块17下端的外鞋夹18。
内鞋夹组件包括连接于鞋夹推动滑块安装板13上的内鞋夹连杆15、连接于内鞋夹连杆15下端的内鞋夹安装块16、安装于内鞋夹安装块16下端的内鞋夹19。
当从鞋模内取鞋时,由主气缸推动所述取鞋机械手到达鞋模的区域,由钩鞋伸缩气缸9推动鞋钩组件沿导轨11向前移动,在移动的同时鞋钩开合气缸7将鞋钩8推开并使鞋钩8钩住鞋,由钩鞋伸缩气缸9将鞋的一端拉离鞋模,再由鞋夹气缸10推动内鞋夹19与外鞋夹18来夹紧鞋,再由主气缸带动将鞋拉离鞋模从而完成从鞋模里取出鞋的整个动作,本取鞋机械手实现了从鞋模中取鞋的自动化操作,自动化程度高,大大提高了生产效率。本实用新型实现了一种可从鞋模中自动取鞋,自动化程度高,生产效率高,有效节省生产成本的取鞋机械手。
以上所述仅为本实用新型的优选实施例,并非因此限制本实用新型的专利范围,凡是利用本实用新型说明书及附图内容所作的等效结构变换,或直接或间接运用在其他相关的技术领域,均同理包括在本实用新型的专利保护范围内。
技术研发人员:田晓锋
技术所有人:田晓锋
备 注:该技术已申请专利,仅供学习研究,如用于商业用途,请联系技术所有人。
声 明 :此信息收集于网络,如果你是此专利的发明人不想本网站收录此信息请联系我们,我们会在第一时间删除
