一种糖尿病患者保健鞋垫的制作方法

本发明涉及一种鞋垫,特别涉及一种糖尿病患者保健鞋垫。
背景技术:
糖尿病足,是导致糖尿病人截肢最主要的并发症之一。从轻度的足部麻木,到严重的溃疡、感染,糖尿病足的“杀伤力”不容小觑。糖尿病人最容易出现糖尿病足的特征包括:1.有神经病变倾向,比如下肢麻木、刺痛、疼痛等;2.下肢血管状态不佳,静息痛、足背动脉搏动明显减弱或消失;3.足部皮肤变差,足部发紫、变暗红,足部皮肤温度比其他部位明显要低,足部水肿,趾甲变色,皮肤异常干燥,足趾间糜烂等。由此可见,对于糖尿病患者的足部保健护理显得尤其重要。
目前,糖尿病患者的足部保健护理主要通过平时对足部的按摩来实现,但是,糖尿病患者在穿鞋的状态下很难进行保健。对糖尿病患者在穿鞋时的足部保健需要通过鞋垫来实现,传统鞋垫的结构是多层布料缝制而成或者是多层皮革压制而成,其具有一定的柔软度和缓冲减震作用,基本符合普通人平常散步、运动穿鞋的需求,但是对于糖尿病患者来说,则具有如下缺点:其一、传统鞋垫的上层与足底皮肤的硬度差异较大,会令糖尿病患者感到足部不舒服;其二、传统鞋垫的主体材料不容易变形,或者变形之后也难以恢复,易加剧糖尿病患者的足部麻木、疼痛、血流不畅、发黑发紫、水肿等问题;其三、传统鞋垫减震、护足作用较差,糖尿病患者的脚部前掌及后跟底部更容易受到冲击,易加剧足底骨骼、踝关节和膝关节的疾病问题;其五、传统鞋垫透气性差,容易滋生细菌、真菌,易加剧足部水肿,足趾间糜烂的问题。
技术实现要素:
本发明要解决的技术问题是针对上述现有技术的不足,提供一种糖尿病患者保健鞋垫,该鞋垫能让糖尿病患者穿着舒服,能迎合足部突出部位进行变形,变形之后能自动恢复,减震、护足作用强,透气性好。
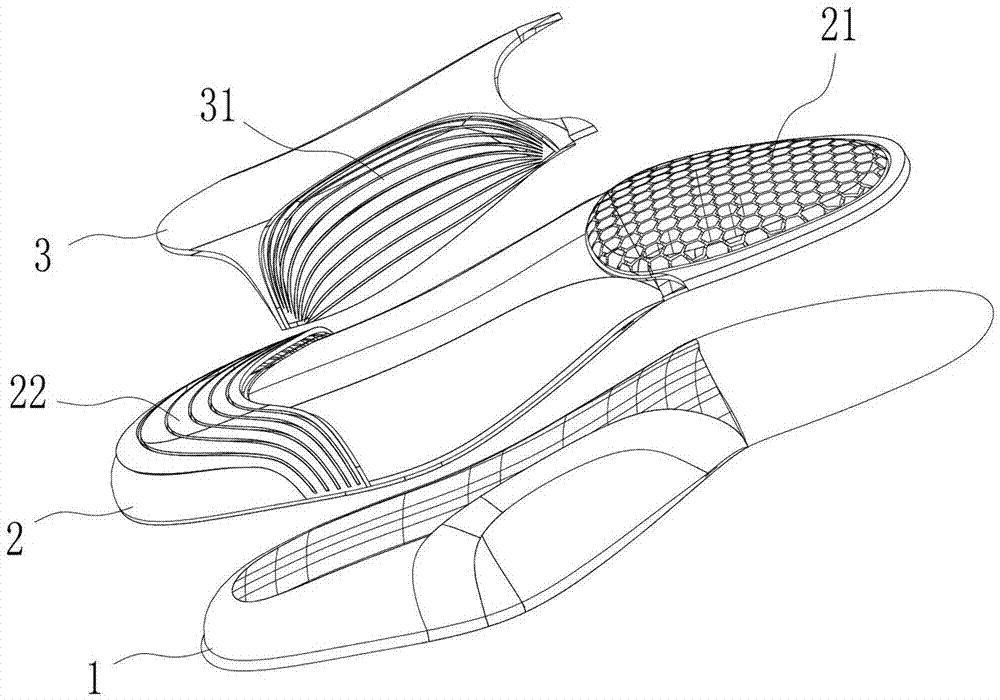
为解决上述技术问题,本发明的技术方案是:一种糖尿病患者保健鞋垫,包括鞋垫本体,所述鞋垫本体从上至下依次包括竹炭纤维层及记忆泡绵层,所述记忆泡绵层的中端部下侧贴设有聚氨酯泡绵层,所述记忆泡绵层的前端部下侧对应于人体前足掌的位置设置有中空的弹性垫网,所述记忆泡绵层的后端部下侧对应于人体足跟部的位置设置有中空的弹性垫片,所述聚氨酯泡绵层的下侧对应于人体足弓部内侧的位置设置有弹性肋条部。
作为对本发明的进一步阐述:
优选地,所述弹性垫片的形状呈舌型,由5~8条的曲线形弹性条依次排列构成,所述弹性肋条部的形状呈半月型,由8~12条弹性肋条依次排列构成。
优选地,所述竹炭纤维层的厚度为0.5~1.0mm,所述记忆泡绵层的厚度为2.5~7.5mm,所述聚氨酯泡绵层的厚度为2.0~8.0mm,所述弹性垫网的厚度为3.5~5.5mm,所述弹性垫片的厚度为3.5~6.5mm,所述弹性肋条部的厚度为3.5~6.5mm。
优选地,从鞋垫本体的前端至后端,依次包括鞋垫前掌、鞋垫中腰及鞋垫后跟,其中,所述鞋垫中腰及鞋垫后跟均设置有往上翘起的外缘。
记忆泡绵层由如下原料反应发泡制成的:聚醚多元醇100份,二苯基甲烷二异氰酸酯5~15份,百合花粉1-3份、异佛尔酮二异氰酸酯5-10份,水2~3份,硅油0.5~3份,催化剂0.2~1份,发泡剂0.5~1份,交联剂2~5份。
记忆泡绵层的制备方法为:将相应重量份数的聚醚多元醇、二苯基甲烷二异氰酸酯、百合花粉和异佛尔酮二异氰酸酯加入混合器中搅拌均匀,加热升温至35~38摄氏度,将相应份数的其它原料加入到混合器中,高速搅拌6~8秒钟后倒入模具发泡并固化后,得到相应的记忆泡绵层。
所述聚醚多元醇的羟值为50~90mgkoh/g,分子量为8000~10000,所述硅油为bf-2370和b-4900两种质量比为3:1的混合物。
所述催化剂为n,n-二甲氨基乙基-n-甲基氨基乙醇和乙酰丙酮锆质量比为0.5:1的混合物。
所述发泡剂为正庚烷;交联剂为乙二胺、三甘醇和二丙(撑)二醇三种混合物。
所述聚氨酯泡绵层为沉香树皮纤维粉、聚醚多元醇和二异氰酸酯以及助剂原料发泡而成。
所述聚氨酯泡绵层的原料为:聚醚多元醇100份,沉香树皮纤维粉1~2份,异佛尔酮二异氰酸酯10~15份,水2~3份,硅油0.5~3份,催化剂0.2~1份,发泡剂0.5~1份,硅烷偶联剂0.5~1份。
聚氨酯泡绵层的制备方法为:将相应重量份数的聚醚多元醇、沉香树皮纤维粉、硅烷偶联剂和异佛尔酮二异氰酸酯加入混合器中搅拌均匀,加热升温至35~38摄氏度,将相应份数的其它原料加入到混合器中,高速搅拌6~8秒钟后倒入模具发泡并固化后,得到相应的聚氨酯泡绵层。
所述聚醚多元醇的羟值为50~90mgkoh/g,分子量为8000~10000,所述硅油为bf-2370和b-4900两种质量比为2-6:1的混合物。
所述催化剂为n,n-二甲氨基乙基-n-甲基氨基乙醇和乙酰丙酮锆质量比为0.1-1:1的混合物。
所述发泡剂为正庚烷。
本发明的有益效果是:其一、由于鞋垫本体的上层为竹炭纤维层与足底皮肤的硬度差异较小,会令糖尿病患者感到足部很舒服;其二、由于竹炭纤维层之下设置记忆泡绵层,能迎合足部突出部位进行变形,变形之后能自动恢复,实现对糖尿病患者的足部保健;其三、由于记忆泡绵层的中端部下侧贴设有聚氨酯泡绵层,能拱起鞋垫本体中部,贴合糖尿病患者的足弓部,起到按压足弓穴位的作用,促进了血液循环;其四、由于记忆泡绵层的前端部下侧对应于人体前足掌的位置设置有中空的弹性垫网,记忆泡绵层的后端部下侧对应于人体足跟部的位置设置有中空的弹性垫片,聚氨酯泡绵层的下侧对应于人体足弓部内侧的位置设置有弹性肋条部,因此,鞋垫弹性好,可有效吸收糖尿病患者的足部骨骼冲击力,保护足底骨骼、踝关节和膝关节,具有优秀的减震护足作用;其五、竹炭纤维层具有吸湿透气、抑菌抗菌、绿色环保的特点,并且,中空的弹性垫网、中空的弹性垫片及弹性肋条部分别具有优秀的透气效果。记忆泡绵层和聚氨酯泡绵层的制备方法提高了鞋垫的舒适性和耐用性。
附图说明
图1为本发明的分散结构示意图之一。
图2为本发明的分散结构示意图之二。
图3为本发明的上侧整体结构示意图。
图4为本发明的下侧整体结构示意图。
图中:100.鞋垫本体;1.竹炭纤维层;2.记忆泡绵层;21.弹性垫网;22.弹性垫片;3.聚氨酯泡绵层;31.弹性肋条部;4.鞋垫前掌;5.鞋垫中腰;6.鞋垫中腰;6.鞋垫后跟;51、61.外缘。
具体实施方式
下面结合附图对本发明的结构原理和工作原理作进一步详细说明。
如图1~图4所示,本发明为一种糖尿病患者保健鞋垫,包括鞋垫本体100,所述鞋垫本体100从上至下依次包括竹炭纤维层1及记忆泡绵层2,所述记忆泡绵层2的中端部下侧贴设有聚氨酯泡绵层3,所述记忆泡绵层2的前端部下侧对应于人体前足掌的位置设置有中空的弹性垫网21,所述记忆泡绵层2的后端部下侧对应于人体足跟部的位置设置有中空的弹性垫片22,所述聚氨酯泡绵层3的下侧对应于人体足弓部内侧的位置设置有弹性肋条部31。竹炭纤维层具有吸湿透气、抑菌抗菌、冬暖夏凉、绿色环保的特点;聚氨酯泡绵层具有环保易降解、透气、除臭、排汗作用,此外,聚氨酯泡绵层内混合有黑色微粒状活性炭,透气作用更强。记忆泡绵层能迎合足部突出部位进行变形,变形之后能自动恢复,实现对糖尿病患者的足部保健,所述记忆泡绵层优选为聚醚型聚氨酯泡沫泡绵层。
如图2和图4所示,所述弹性垫片22的形状呈舌型,由5~8条的曲线形弹性条依次排列构成,所述弹性肋条部31的形状呈半月型,由8~12条弹性肋条依次排列构成。
如图1~图4所示,所述竹炭纤维层1的厚度为0.5~1.0mm,优选为0.7~0.8mm,所述记忆泡绵层2的厚度为2.5~7.5mm,优选为4.0~5.0mm,所述聚氨酯泡绵层3的厚度为2.0~8.0mm,优选为3.5~4.5mm,所述弹性垫网21的厚度为3.5~5.5mm,优选为4.0~4.8mm,所述弹性垫片22的厚度为3.5~6.5mm,优选为4.2~5.3mm,所述弹性肋条部31的厚度为3.5~6.5mm,优选为4.2~5.0mm。
如图1~图4所示,从鞋垫本体100的前端至后端,依次包括鞋垫前掌4、鞋垫中腰5及鞋垫后跟6,其中,所述鞋垫中腰5及鞋垫后跟6均设置有往上翘起的外缘51、61。由于设置了往上翘起的外缘51、61,可有效引导双脚每次落地时正确复位,确保在行走、运动时脚底受力沿正确方向传递给腿骨。
实施例1:
记忆泡绵层原料称取:聚醚多元醇100kg,二苯基甲烷二异氰酸酯5~15kg,百合花粉1-3kg、异佛尔酮二异氰酸酯5-10kg,水2~3kg,硅油0.5~3kg,催化剂0.2~1kg,发泡剂0.5~1kg,交联剂2~5kg。
记忆泡绵层的制备:将相应重量份数的聚醚多元醇、二苯基甲烷二异氰酸酯、百合花粉和异佛尔酮二异氰酸酯加入混合器中搅拌均匀,加热升温至35~38摄氏度,将相应份数的其它原料加入到混合器中,高速搅拌6~8秒钟后倒入模具发泡并固化后,得到相应的记忆泡绵层。
鞋垫的其他结构部件为现有材料通过普通方法得到。
实施例2
聚氨酯泡绵层的原料称取:聚醚多元醇100kg,沉香树皮纤维粉1~2kg,异佛尔酮二异氰酸酯10~15kg,水2~3kg,硅油0.5~3kg,催化剂0.2~1kg,发泡剂0.5~1kg,硅烷偶联剂0.5~1kg。
聚氨酯泡绵层的制备方法为:将相应重量份数的聚醚多元醇、沉香树皮纤维粉、硅烷偶联剂和异佛尔酮二异氰酸酯加入混合器中搅拌均匀,加热升温至35~38摄氏度,将相应份数的其它原料加入到混合器中,高速搅拌6~8秒钟后倒入模具发泡并固化后,得到相应的聚氨酯泡绵层。
鞋垫的其他结构部件为现有材料通过普通方法得到。
实施例3
记忆泡绵层如实施例1,鞋垫的其他结构部件为现有材料通过普通方法得到。
实施例4
记忆泡绵层如实施例1,聚氨酯泡绵层如实施例2,鞋垫的其他结构部件为现有材料通过普通方法得到。
将实施例1-4制备的鞋垫和所有部件都为现有材料通过普通方法得到的鞋垫进行对比,发现实施例1、2、3、4的舒适性和理疗性能明显优于现有材料通过普通方法得到的鞋垫,尤其是实施例4的鞋垫,舒适性最高,而耐用性和弹性方面,实施例2、4具有明显的优势。
以上所述,仅是本发明较佳实施方式,凡是依据本发明的技术方案对以上的实施方式所作的任何细微修改、等同变化与修饰,均属于本发明技术方案的范围内。
技术研发人员:唐潇
技术所有人:东莞市顺风运动器材有限公司
备 注:该技术已申请专利,仅供学习研究,如用于商业用途,请联系技术所有人。
声 明 :此信息收集于网络,如果你是此专利的发明人不想本网站收录此信息请联系我们,我们会在第一时间删除
