快速桩基完整性检测系统及方法与流程

本发明涉及灌注桩基检测技术领域,特别涉及一种快速桩基完整性检测系统及方法。
背景技术:
桩基是隐遮的地下物体,桩基支撑着地面上的建、构筑物,它是建筑物的基础,一旦基础失稳,势必造成整体建筑物破坏。因此,桩基的设计、施工和检测是桩基础安全与可靠的先决因素。
目前,检测桩基完整性的设备较单一,检测不够详尽和准确,另外还有设备比较繁重、检测费时等诸多问题存在。
技术实现要素:
本发明的一个目的是解决至少上述问题,并提供至少后面将说明的优点。
本发明还有一个目的是提供一种快速桩基完整性检测系统,其能够对灌注桩基混凝土时进行不同深度取样的检测,且在确定不同深度桩基可能存在的问题后,还配以声波透射法辅助检测,保证桩基完整性检测作业的快速且准确。
本发明还有一个目的是提供一种快速桩基完整性检测方法,为更好的使用快速桩基完整性检测系统提供指导方法,以便工作人员快速且准确的完成桩基完整性检测作业。
为了实现根据本发明的这些目的和其它优点,提供了一种快速桩基完整性检测系统,包括:
长度逐级递增的多个第一管体,其均匀分散开径向预埋入桩基混凝土中,且所述多个第一管体中相对最短的第一管体预埋入桩基的长度不超过桩基长度的1/3,相对最长的第一管体预埋入桩基的长度不小于桩基长度的3/4;
多个取样组件,其与所述多个第一管体一一对应设置,且多个取样组件可拆卸的一一对应设置在所述多个第一管体内;任一个取样组件包括取样器,其包括开放式上样筒,其为一由相互平行设置在连接杆两端的第一圆形片体和第二圆形片体组成;悬臂,其下端连接至所述第一圆形片体的外侧壁上,所述悬臂的上端呈弯折样可拆卸的挂设在第一管体的上端,且所述悬臂的长度与其对应设置的第一管体的长度相适应;切样器,其包括套管,其可拆卸的套设在开放式上样筒上,所述套管的内径与第一圆形片体和第二圆形片体的直径相适应,且所述套管的长度大于或等于所述开放式上样筒的长度;至少两个延长杆,其一端连接至套管的一端,至少两个延长杆的另一端向悬臂的另一端方向延伸设置,并且取样器的长度与切样器的长度相适应;操作柄,其设置在所述至少两个延长杆的另一端上;支撑块,其可拆卸的嵌入式设置在操作柄和第一管体的上端之间;
其中,预埋第一管体时,首先将多个取样组件设置入相对应的多个第一管体内,使得任一取样组件的开放式上样筒的第二圆形片体延伸出第一管体的下端,且该开放式上样筒的第一圆形片体的周缘与所述套管的下端的内侧壁可拆卸的相互抵顶固定。
优选的是,所述多个第一管体为50mm镀锌钢管。
优选的是,还包括:声波透射法检测仪,其通过呈等边三角形径向预埋分布在桩基的三个第一管体进行声波透射法检测,且在检测时将取样组件取出,并向三个第一管体内注入一定量清水至三个第一管体的下端处。
优选的是,快速桩基完整性检测系统包括5个长度逐级递增的第一管体,并对应设置5个长度逐渐递增的取样组件;
其中,5个长度逐级递增的第一管体的长度分别为桩基长度的1/6、2/6、1/2、2/3和5/6,对应设置的5个长度逐渐递增的取样组件中开放式上样筒的长度均为桩基长度的1/6。
优选的是,还包括:密封圈,其套设在第一圆形片体的外周上,且使得开放式上样筒的第一圆形片体的周缘与套设在其上的所述套管的下端的内侧壁可拆卸的相互抵顶固定。
优选的是,第一圆形片体的外周上设置有外螺纹,所述套管的下端的内侧壁上设置有与第一圆形片体的外螺纹匹配的内螺纹,使得开放式上样筒的第一圆形片体的周缘与套设在其上的所述套管的下端的内侧壁可拆卸的螺纹连接。
优选的是,所述套管的下端的周缘呈径向分布的刀刃状,且所述套管的壁厚至少为3mm。
一种应用如上述的快速桩基完整性检测系统的快速桩基完整性检测方法,包括以下步骤:
步骤一、桩基成孔后,灌注混凝土之前,在桩内的桩基钢笼的内侧绑缚固定多个第一管体,使得多个第一管体的上端高出桩基顶面至少100mm;
步骤二、将多个取样组件一一对应设置入多个第一管体内,且使得任一取样组件的开放式上样筒的第二圆形片体延伸出其对应的第一管体的下端,且该开放式上样筒的第一圆形片体的周缘与所述套管的下端的内侧壁可拆卸的相互抵顶固定;并将支撑块嵌入至操作柄和第一管体的上端之间;
步骤三、灌注混凝土;
步骤四、在灌注的混凝土强度达到15-20%时,将支撑块去除,并应用手柄将套管向下切入开放式上样筒外侧的混凝土内,至手柄与第一管体的上端抵顶;以及
步骤五、将多个取样组件抽离多个第一管体后,将取样器和切样器分离,对开放式上样筒内挂设的混凝土样品进行现场检测,获得第一检测结果。
优选的是,还包括以下步骤:
步骤六、向呈等边三角形径向预埋分布的第一管体内注入一定量清水至三个第一管体的下端处,将声波透射法检测仪布设在相对最短的第一管体的长度范围内,进行声波透射法检测,获得第二检测结果。
优选的是,所述现场检测为对桩基的长度、局部缺陷情况、桩底沉渣厚度和持力层情况进行检测,若第一检测结果中,混凝土样品有局部缺陷情况,则根据桩基的取样深度采用声波透射法检测仪进一步进行桩基完整性检测。
本发明至少包括以下有益效果:
桩基成孔后,灌注混凝土之前,在桩内的桩基钢笼的内侧绑缚固定多个第一管体,使得多个第一管体的上端高出桩基顶面至少100mm;并且多个第一管体的长度逐级递增,可以满足对桩基不同部位的取样检测;将多个取样组件一一对应设置入多个第一管体内,且使得任一取样组件的开放式上样筒的第二圆形片体延伸出其对应的第一管体的下端,且该开放式上样筒的第一圆形片体的周缘与所述套管的下端的内侧壁可拆卸的相互抵顶固定;并将支撑块嵌入至操作柄和第一管体的上端之间;通过配套的取样器实现整个桩基长度的取样检测,取样方法简单,不漏样;灌注混凝土后,灌注的混凝土强度达到15-20%时,将支撑块去除,并应用手柄将套管向下切入开放式上样筒外侧的混凝土内,至手柄与第一管体的上端抵顶;将达到一定强度的混凝土样品拉出桩基进行直接的样品检测,使得检测更加直接、可靠;如出现断桩等缺陷时,甚至可以用肉眼直接观察获得第一检测结果。
综上所述,本发明提供的快速桩基完整性检测系统能够对灌注桩基混凝土时进行不同深度取样的检测,且在确定不同深度桩基可能存在的问题后,还配以声波透射法辅助检测,保证桩基完整性检测作业的快速且准确。
本发明提供的快速桩基完整性检测方法,为更好的使用快速桩基完整性检测系统提供指导方法,以便工作人员快速且准确的完成桩基完整性检测作业。
本发明的其它优点、目标和特征将部分通过下面的说明体现,部分还将通过对本发明的研究和实践而为本领域的技术人员所理解。
附图说明
图1为本发明一个取样组件可拆卸的设置在一个第一管体内的剖面结构示意图;
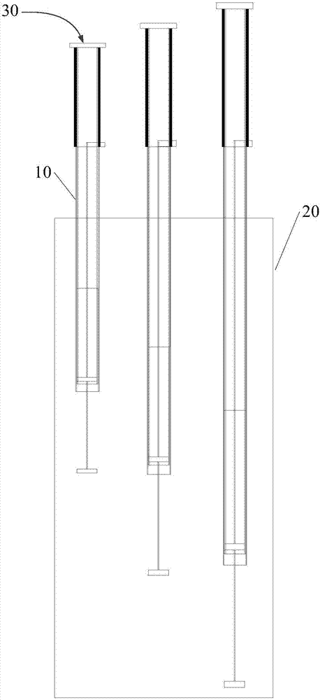
图2为本发明的快速桩基完整性检测系统的径向预埋分布的透视结构示意图;
图3为本发明的一个取样组件的剖面结构示意图ⅰ,其中,套管位于开放式上样筒的上端;
图4为本发明的一个取样组件的剖面结构示意图ⅱ,其中,套管套设在开放式上样筒上。
具体实施方式
下面结合附图对本发明做进一步的详细说明,以令本领域技术人员参照说明书文字能够据以实施。
应当理解,本文所使用的诸如“具有”、“包含”以及“包括”术语并不配出一个或多个其它元件或其组合的存在或添加。
如图1、2所示,本发明提供一种快速桩基完整性检测系统,包括:
长度逐级递增的多个第一管体10,其均匀分散开径向预埋入桩基20混凝土中,且所述多个第一管体中相对最短的第一管体预埋入桩基的长度不超过桩基长度的1/3,相对最长的第一管体预埋入桩基的长度不小于桩基长度的3/4;
多个取样组件30,其与所述多个第一管体一一对应设置,且多个取样组件可拆卸的一一对应设置在所述多个第一管体内;任一个取样组件包括取样器301,其包括开放式上样筒,其为一由相互平行设置在连接杆3011两端的第一圆形片体3012和第二圆形片体3013组成;悬臂3014,其下端连接至所述第一圆形片体的外侧壁上,所述悬臂的上端呈弯折样可拆卸的挂设在第一管体的上端,且所述悬臂的长度与其对应设置的第一管体的长度相适应;切样器302,其包括套管3021,其可拆卸的套设在开放式上样筒上,所述套管的内径与第一圆形片体和第二圆形片体的直径相适应,且所述套管的长度大于或等于所述开放式上样筒的长度;至少两个延长杆3022,其一端连接至套管的一端,至少两个延长杆的另一端向悬臂的另一端方向延伸设置,并且取样器的长度与切样器的长度相适应;操作柄3023,其设置在所述至少两个延长杆的另一端上;支撑块3024,其可拆卸的嵌入式设置在操作柄和第一管体的上端之间;
其中,预埋第一管体时,首先将多个取样组件设置入相对应的多个第一管体内,使得任一取样组件的开放式上样筒的第二圆形片体延伸出第一管体的下端,且该开放式上样筒的第一圆形片体的周缘与所述套管的下端的内侧壁可拆卸的相互抵顶固定。
如图3、4所示,在上述方案中,桩基成孔后,灌注混凝土之前,在桩内的桩基钢笼的内侧绑缚固定多个第一管体,使得多个第一管体的上端高出桩基顶面至少100mm;并且多个第一管体的长度逐级递增,可以满足对桩基不同部位的取样检测;将多个取样组件一一对应设置入多个第一管体内,且使得任一取样组件的开放式上样筒的第二圆形片体延伸出其对应的第一管体的下端,且该开放式上样筒的第一圆形片体的周缘与所述套管的下端的内侧壁可拆卸的相互抵顶固定;并将支撑块嵌入至操作柄和第一管体的上端之间;通过配套的取样器实现整个桩基长度的取样检测,取样方法简单,不漏样;灌注混凝土后,灌注的混凝土强度达到15-20%时,将支撑块去除,并应用手柄将套管向下切入开放式上样筒外侧的混凝土内,至手柄与第一管体的上端抵顶;将达到一定强度的混凝土样品拉出桩基进行直接的样品检测,使得检测更加直接、可靠;如出现断桩等缺陷时,甚至可以用肉眼直接观察获得第一检测结果。
快速桩基完整性检测系统,所述多个第一管体为50mm镀锌钢管。以适应声波透射法检测的需要。
快速桩基完整性检测系统,还包括:声波透射法检测仪,其通过呈等边三角形径向预埋分布在桩基的三个第一管体进行声波透射法检测,且在检测时将取样组件取出,并向三个第一管体内注入一定量清水至三个第一管体的下端处。向呈等边三角形径向预埋分布的第一管体内注入一定量清水至三个第一管体的下端处,以达到对第一管体的下端密封效果,将声波透射法检测仪布设在相对最短的第一管体的长度范围内,进行声波透射法检测,获得第二检测结果。第二检测结果主要反应多个取样组件均没有进行取样的桩基的最上端部分,进而对第一检测结果进行补充。
快速桩基完整性检测系统,快速桩基完整性检测系统包括5个长度逐级递增的第一管体,并对应设置5个长度逐渐递增的取样组件;
其中,5个长度逐级递增的第一管体的长度分别为桩基长度的1/6、2/6、1/2、2/3和5/6,对应设置的5个长度逐渐递增的取样组件中开放式上样筒的长度均为桩基长度的1/6。
快速桩基完整性检测系统,还包括:密封圈,其套设在第一圆形片体的外周上,且使得开放式上样筒的第一圆形片体的周缘与套设在其上的所述套管的下端的内侧壁可拆卸的相互抵顶固定。
快速桩基完整性检测系统,第一圆形片体的外周上设置有外螺纹,所述套管的下端的内侧壁上设置有与第一圆形片体的外螺纹匹配的内螺纹,使得开放式上样筒的第一圆形片体的周缘与套设在其上的所述套管的下端的内侧壁可拆卸的螺纹连接。
在上述两个方案中,密封圈或者螺纹连接的目的都在于,避免在灌注混凝土过程中,向套管内漏浆,以顺利完成取样作业。
快速桩基完整性检测系统,所述套管的下端的周缘呈径向分布的刀刃状,且所述套管的壁厚至少为3mm。多个取样组件均为不锈钢材质,以满足取样刚度的需要,并且套管的下端的周缘呈径向分布的刀刃状,以减小取样时,混凝土对套管的阻力,也同时减少切样时,套管壁对混凝土样品构造的影响。
如图2、3、4所示,一种应用如上述的快速桩基完整性检测系统的快速桩基完整性检测方法,包括以下步骤:
步骤一、桩基成孔后,灌注混凝土之前,在桩内的桩基钢笼的内侧绑缚固定多个第一管体,使得多个第一管体的上端高出桩基顶面至少100mm;
步骤二、将多个取样组件一一对应设置入多个第一管体内,且使得任一取样组件的开放式上样筒的第二圆形片体延伸出其对应的第一管体的下端,且该开放式上样筒的第一圆形片体的周缘与所述套管的下端的内侧壁可拆卸的相互抵顶固定;并将支撑块嵌入至操作柄和第一管体的上端之间;
步骤三、灌注混凝土;
步骤四、在灌注的混凝土强度达到15-20%时,将支撑块去除,并应用手柄将套管向下切入开放式上样筒外侧的混凝土内,至手柄与第一管体的上端抵顶;以及
步骤五、将多个取样组件抽离多个第一管体后,将取样器和切样器分离,对开放式上样筒内挂设的混凝土样品进行现场检测,获得第一检测结果。
快速桩基完整性检测方法中,还包括以下步骤:
步骤六、向呈等边三角形径向预埋分布的第一管体内注入一定量清水至三个第一管体的下端处,将声波透射法检测仪布设在相对最短的第一管体的长度范围内,进行声波透射法检测,获得第二检测结果。
快速桩基完整性检测方法中,所述现场检测为对桩基的长度、局部缺陷情况、桩底沉渣厚度和持力层情况进行检测,若第一检测结果中,混凝土样品有局部缺陷情况,则根据桩基的取样深度采用声波透射法检测仪进一步进行桩基完整性检测。对第一检测结果进行进一步定性和定量检测,具有检测的定向性,相对原有声波投射法检测更加快速且准确。
尽管本发明的实施方案已公开如上,但其并不仅仅限于说明书和实施方式中所列运用,它完全可以被适用于各种适合本发明的领域,对于熟悉本领域的人员而言,可容易地实现另外的修改,因此在不背离说明书及等同范围所限定的一般概念下,本发明并不限于特定的细节和这里示出与描述的图例。
技术研发人员:王昊卿,于静涛,杜波
技术所有人:中国路桥工程有限责任公司
备 注:该技术已申请专利,仅供学习研究,如用于商业用途,请联系技术所有人。
声 明 :此信息收集于网络,如果你是此专利的发明人不想本网站收录此信息请联系我们,我们会在第一时间删除
