皮带中部自动取样烘干装置的制作方法

本发明涉及工程机械技术领域的自动取样烘干装置,尤其涉及一种介于皮带头尾之间且配合皮带,以取出皮带上的物料样本并烘干的装置。
背景技术:
皮带中部取样烘干装置是安装在皮带头尾之间,用于取出运行输送皮带上的物料的装置。清扫取样头安装在输送机中部,按照设定的时间周期旋转一周,从运行的皮带上取得一个完整截面的物料样品,用于抽样检验物料的品质。皮带输送机按宽度1200mm,输送量为300t/h计算。运货卡车每车50t,每天生产时长10h,每车都要抽检,则每天至少抽检取样60次。每次按停机2分钟计算,那么每天实际生产时长为8小时。取样工作量繁重,人工工作环境差。
现有的立式皮带中部取样头为机架式卧式结构,安装在皮带头尾之间,工作空间小,皮带宽度可≥1400mm,但是取样头刮板在刮砂子或较小石子(≤20mm)效果并不理想,尤其在刮板底部磨损后,余料更不易清除彻底。随着取样量工作量增加,取样斗的开口宽度随取样粒度的增大而增大,传动功率增加,传动机构体积大,不能满足较大型的皮带输送机取样的要求。在下雨天,原料含水率过大,无法进行级配分析试验。一般皮带机的支撑托辊为35°槽形托辊,为3托辊支撑形式,皮带成形与取样头的运动轨迹有明显错开现象,造成取样过程存在余料,不能取得完整的物料样品,造成漏料。抽检时每个样本都要人工设定干燥时间。烘干设定时间过长,成本增加;过短,样本不能干透。
技术实现要素:
本发明提供了皮带中部自动取样烘干装置,其克服了背景技术中立式皮带中部取样头所存在的不足。
本发明解决其技术问题的所采用的技术方案是:
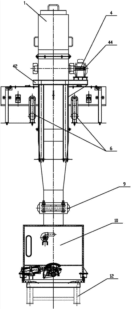
皮带中部自动取样烘干装置,包括机架(2)、清扫取样头(3)、驱动装置(4)、圆弧托辊组(6)、输送皮带(7)、溜道(8)、控制阀(9)和加热炉(10);所述输送皮带(7)支撑在圆弧托辊组(6)上,所述圆弧托辊组(6)包括托辊架(62)和多排沿输送皮带(7)输送方向布置的托辊排,所述托辊排包括多个沿圆弧线间隔布置且垂直输送方向的辊子(61),所述输送皮带(7)支撑在辊子(61)上且受托辊排之多个辊子(61)圆弧线间隔布置的作用横截面呈类弧形;所述清扫取样头(3)能摆动悬挂在机架(2)且包括取样斗(31)和毛刷清扫器(32);所述取样斗(31)包括两沿摆动轴线间隔布置的侧板(313)和固接在两侧板(313)之间的刮板(313),所述刮板(313)底端与输送皮带(7)留有间隙;所述毛刷清扫器(32)包括有位于刮板(313)后的毛刷(322),所述毛刷(322)与输送皮带(7)挤压接触;所述驱动装置(4)安装在机架(2)且传动连接清扫取样头(3)以带动清扫取样头(3)摆动,以带动刮板(313)和毛刷(322)摆动实现物料(5)的前后两级清扫取样;所述溜道(8)连接圆弧托辊组(6)和加热炉(10)以将清扫取样的物料(5)送至加热炉(10)内加热,所述控制阀(9)设在溜道(8)。
一实施例之中:所述毛刷清扫器(32)包括两前后间隔布置的刷架(321),之前的刷架(321)位于两侧板(313)前侧之后,之后的刷架(321)位于两侧板(313)后侧之后;所述刮板(313)固接在之前的刷架(321)的前端面,所述毛刷(322)固接在两刷架(321)之间;所述溜道(8)连接圆弧托辊组(6)前侧和加热炉(10)。
一实施例之中:所述刮板(313)之前还固接有陶瓷片(312)。
一实施例之中:所述侧板(313)末端面呈圆弧,且所述侧板(313)末端面与输送皮带(7)留有间隙。
一实施例之中:所述机架(2)采用四点支撑结构。
一实施例之中:还包括称重传感器组(11)和称重传感器组支架(12),所述加热炉(10)通过称重传感器组(11)设在称重传感器组支架(12)之上。
一实施例之中:所述加热炉(10)包括炉体(103),所述炉体(103)中设置有中空的炉膛(104),所述炉膛(104)中设置有加热管(101),所述炉体(103)下部设置开门机构(106),所述炉体(103)上还设有观察孔(105)。
一实施例之中:所述炉膛(104)中设置有风机(102),所述风机(102)设置在炉膛(104)的侧边。
一实施例之中:所述炉体(103)内侧设置有保温材料。
一实施例之中:还包括plc控制系统,所述plc控制系统信号连接称重传感器组(11)以获得清扫取样的物料(5)的重量数据;所述加热炉(10)包括炉体(103),所述炉体(103)中设置有中空的炉膛(104),所述炉膛(104)中设置有加热管(101),所述炉体(103)下部设置开门机构(106);所述plc控制系统信号连接控制阀(9)、开门机构(106)和加热管(101)。
本技术方案与背景技术相比,它具有如下优点:
驱动装置带动清扫取样头摆动过程中:取样斗绕轴旋转,取得一个完整截面的物料并推入溜道,实现一级清扫;毛刷清扫器绕轴旋转,将余料清扫干净,一并倒入溜道,实现二级清扫,先取样斗推物料后毛刷清扫物料相结合实现二级清扫取样,清扫彻底,不留余料。输送皮带工作截面呈圆弧状,清扫取样头运动轨迹为摆动,能符合输送皮带的输送截面,取样截面完整,清扫彻底,不留余料。增加加热炉,可得干燥的物料以便后续筛分试验得出级配曲线数据。
设置称重传感器,将数字信号传输到控制系统后划分重量值区间,自动给出相应的干燥时间,以上方法合理的控制了加热时间,操作简单、使用方便且节约了能源。
附图说明
下面结合附图和实施例对本发明作进一步说明。
图1为本发明的装置的正面示意图;
图2为本发明的装置的左面示意图;
图3为本发明的清扫取样头的中部剖视图;
图4为本发明的清扫取样头和驱动轴的侧面示意图;
图5为本发明的圆弧托辊组的示意图;
图6为本发明的加热炉示意图;
图7为本发明的自动取样烘干装置控制原理简图。
图中:1-上壳体;2-机架;3-清扫取样头;4-驱动装置;5-物料;6-圆弧托辊组;7-输送皮带;8-溜道;9-控制阀;10-加热炉;11-称重传感器组;12-称重传感器组支架;31-取样斗;311-侧板;312-陶瓷片;313-刮板;314-销轴;315-开口销;32-毛刷清扫器;321-刷架;322-毛刷;41-轴承座;42-传动轴;43-轴用弹性挡圈;44-减速装置;61-辊子;62-托辊架;101-加热管;102-风机;103-炉体;104-炉膛;105-观察孔;106-开门机构。
具体实施方式
请查阅图1至图7,皮带中部自动取样烘干装置,包括上壳体1、机架2、清扫取样头3、驱动装置4、圆弧托辊组6、输送皮带7、溜道8、控制阀9、加热炉10、称重传感器组11和称重传感器组支架12。本实施例之中,所述机架2为下壳体支架;所述控制阀9可为气动蝶阀。所述上壳体1、机架2独立安装在地面且都采用四点支撑结构,整体刚性好,安装位置灵活,在皮带输送机工作中段均可安装,有独立性,不受皮带机支架的影响,能适应于大宽度皮带或小宽度皮带。
所述输送皮带7支撑在圆弧托辊组6上,所述圆弧托辊组6包括一构成支撑结构的托辊架62和多排沿输送皮带7输送方向布置的托辊排,所述托辊排包括多个沿圆弧线间隔布置且垂直输送方向的辊子61,所述输送皮带7支撑在辊子61上且受托辊排之多个辊子61圆弧线间隔布置的作用横截面呈类弧形,即,输送皮带7之上的输送截面呈类弧形。所述托辊排的辊子61的数量根据皮带的宽度确定,可为五个辊子61、七个辊子61、九个辊子61或十一个辊子61等。
所述清扫取样头3能摆动悬挂在机架2,该摆动轴线和上述弧形的轴线重合且沿左右方向布置,以使清扫取样头3运动轨迹符合输送皮带7的输送截面。所述清扫取样头3包括取样斗31和毛刷清扫器32。本实施例之中,所述清扫采样头之不接触物料面可采用轻质材料制造,结构轻巧,转动惯量小,耐腐蚀。所述取样斗31包括两沿摆动轴线间隔布置的侧板313和一固接在两侧板313之间的刮板313,所述两侧板311的间距即宽度随输送量的增加而加大;所述侧板313末端面呈圆弧,且所述侧板313末端面与输送皮带7留有圆弧间隙,所述刮板313底端与输送皮带7留有间隙,防止刮板和侧板磨损。最好,所述刮板313之前还固接有陶瓷片312,以能防止刮板和侧板磨损,又能减轻粘性物料因粘附内壁引起的通道堵塞现象。所述毛刷清扫器32包括两前后间隔布置的刷架321和一毛刷322,之前的刷架321位于两侧板313前侧之后,之后的刷架321位于两侧板313后侧之后;所述刮板313固接在之前的刷架321的前端面,所述毛刷322固接在两刷架321之间;所述毛刷322位于刮板313后,所述毛刷322与输送皮带7挤压接触。
所述驱动装置4安装在机架2且传动连接清扫取样头3以带动清扫取样头3摆动,以带动刮板313和毛刷322摆动实现物料5的前后两级清扫取样。本实施例之中,所述驱动装置4安装于机架2的一侧,而且包括电机、传动轴42、整体式轴承座41、轴用弹性挡圈43及减速装置44;所述轴用弹性挡圈43将轴承座41装接在传动轴42的轴端,通过所述轴承座41将传动轴42悬挂在壳体内侧中部。所述取样斗31通过销轴314固定装接在传动轴42,所述毛刷清扫器32通过开口销315固定装接在传动轴42,使清扫取样头悬挂摆动连接在机架;所述驱动装置4通过直联减速装置44或者皮带或者链条传动带动传动轴42旋转,带动清扫取样头3摆动。
所述驱动装置4带动清扫取样头3摆动过程中:取样斗绕轴旋转,取得一个完整截面的物料并推入溜道,实现一级清扫;毛刷清扫器绕轴旋转,将余料清扫干净,一并倒入溜道,实现二级清扫;上述的一级清扫、二级清扫交错布置,即,前后布置。所述清扫取样斗摆动一个周期完成一次取样周期。本实施例之中,输送皮带工作截面呈圆弧状,清扫取样头3运动轨迹符合输送皮带7的输送截面,取样截面完整,不留余料;先取样斗推物料后毛刷清扫物料相结合实现二级清扫取样,不留余料。所述传动机构上设有制动装置,通过传感器和plc控制清扫取样斗3的启动和制动,取样周期可在0-30min范围内调节。
所述溜道8连接圆弧托辊组6前侧和加热炉10以将清扫取样的物料5送至加热炉10内加热,所述控制阀9设在溜道8。所述加热炉10通过称重传感器组11设在称重传感器组支架12之上。
所述加热炉10包括炉体103,所述炉体103中设置有中空的炉膛104,所述炉膛104中设置有加热管101,所述炉体103下部设置开门机构106。所述炉膛104中设置有风机102,所述风机102设置在炉膛104的侧边,使炉膛104内空气不断循环,物料均匀加热,热效率提高。所述炉体103内侧设置有保温材料。所述炉体103的偏上部位设置了观察孔105,操作者在加热过程中可很清楚观察到炉膛104内情况,以便有出现突发情况迅速做出相应的处理措施。
本实施例,装置还包括plc控制系统,所述plc控制系统信号连接称重传感器组11以获得清扫取样的物料5的重量数据,本实施例之中,称重传感器传输的重量信号经过变送器的a/d转化模块,转换成数字传输至plc控制系统;所述plc控制系统信号连接控制阀9、开门机构106和加热管101,在经过数值对比后,自动设定加热时长,而后通过plc传递给继电器信号,以此控制气动蝶阀和开门机构的开闭。
根据本发明的一个具体实施例,如图7所示的加热时间控制流程图,加热炉10的控制方法包括:根据待烘干物料重量分段确定加热时间△t。
当w<0.5kg时,设定加热时间△t=0min,气动蝶阀打开,开门机构关闭,继续进料。
当0.5kg<w<15kg时,设定加热时间△t=10min。当t1=0min时,烘干开始,关闭气动蝶阀,关闭开门机构。当t2=10min时,烘干结束。关闭气动蝶阀,打开开门机构。
当w>15kg时,设定加热时间△t=15min。当t1=0min时,烘干开始,关闭气动蝶阀,关闭开门机构。当t2=15min时,烘干结束。关闭气动蝶阀,打开开门机构。
以上所述,仅为本发明较佳实施例而已,故不能依此限定本发明实施的范围,即依本发明专利范围及说明书内容所作的等效变化与修饰,皆应仍属本发明涵盖的范围内。
技术研发人员:郑皎,黄文景,张宝裕,郭志东,陈海生,梁静波
技术所有人:福建南方路面机械有限公司
备 注:该技术已申请专利,仅供学习研究,如用于商业用途,请联系技术所有人。
声 明 :此信息收集于网络,如果你是此专利的发明人不想本网站收录此信息请联系我们,我们会在第一时间删除
