一种农产品晾晒装置的制作方法

本技术涉及农产品领域,具体为一种农产品晾晒装置。
背景技术:
1、很多农产品在采摘回来之后,需要进行晾晒,在面积有限的时候,难以晾晒更多的农产品,所以就需要一种利用竖直方向空间的来晾晒更多的农产品,但是竖直方向晾晒时,收集农产品又称为了难题,所以就需要一种晾晒个收集便捷的晾晒装置来解决竖直方向晾晒时,收集不便的问题。
技术实现思路
1、本实用新型的目的在于提供一种农产品晾晒装置,以解决上述背景技术中提出的问题。
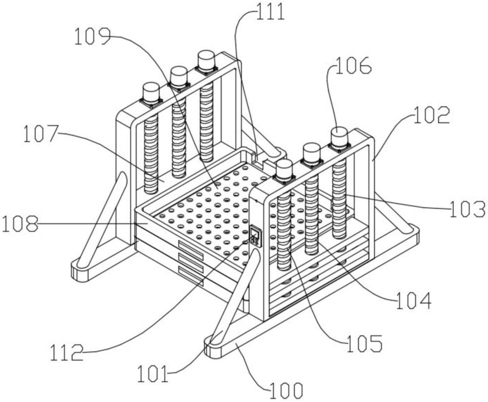
2、为实现上述目的,本实用新型提供如下技术方案:一种农产品晾晒装置,包括左右对称的两个动力架,每个所述动力架都转动连接有第一螺纹轴、第二螺纹轴和第三螺纹轴,所述动力架上端面固定连接有与每根螺纹轴上下对齐的三个主电机,所述主电机与每根螺纹轴都动力连接,每个所述动力架都上下滑动连接有三块螺纹连接板,上侧所述螺纹连接板与所述第三螺纹轴螺纹连接,中间的所述螺纹连接板与所述第二螺纹轴螺纹连接,下侧的所述螺纹连接板与所述第一螺纹轴螺纹连接,每块所述螺纹连接板都只与一根螺纹轴螺纹连接,与其他两根螺纹轴不连接,左右对称的每两块螺纹连接板都固定连接有晾晒架,所述晾晒架转动连接有晾晒孔板,所述晾晒孔板下端面固定连接有左右对称的两组固定板,每组所述固定板都转动连接有转动杆,所述晾晒架下端面固定连接有左右对称的两个固定架,每个所述固定架也都固定连接有固定板,所述固定架上的所述固定板转动连接有转动轴,所述转动轴与所述转动杆之间都转动连接有转动连接板,右侧所述固定架上的所述固定板右端面固定连接有副电机,所述副电机与所述转动轴动力连接。
3、有益的,每个所述动力架下端面都固定连接有底板,所述底板与所述动力架之间固定连接有前后对称的两根支撑柱;
4、有益的,右侧所述动力架前端面固定连接有控制器,所述控制器控制每个主电机和副电机;
5、有益的,所述晾晒架设有左右对称的两个卡槽,所述卡槽能够卡入上侧的所述固定架,防止碰撞;
6、有益的,所述晾晒架设有排料孔,所述排料孔能够便捷的手机农产品。
7、与现有技术相比,本实用新型的有益效果是:
8、本实用新型通过设置了晾晒架、晾晒孔板和转动连接板,能够在每个晾晒孔板上晾晒农产品,并通过第一螺纹轴、第二螺纹轴和第三螺纹轴分别带动上下三个晾晒架一次向上移动,将农产品晾晒在竖直方向,节省平面面积,同时副电机能够带动每个晾晒孔板转动,从而帮助人们便捷的将农作物从排料孔收集出来。
技术特征:
1.一种农产品晾晒装置,包括左右对称的两个动力架(102),其特征在于:每个所述动力架(102)都转动连接有第一螺纹轴(103)、第二螺纹轴(104)和第三螺纹轴(105),所述动力架(102)上端面固定连接有与每根螺纹轴上下对齐的三个主电机(106),所述主电机(106)与每根螺纹轴都动力连接,每个所述动力架(102)都上下滑动连接有三块螺纹连接板(107),上侧所述螺纹连接板(107)与所述第三螺纹轴(105)螺纹连接,中间的所述螺纹连接板(107)与所述第二螺纹轴(104)螺纹连接,下侧的所述螺纹连接板(107)与所述第一螺纹轴(103)螺纹连接,每块所述螺纹连接板(107)都只与一根螺纹轴螺纹连接,与其他两根螺纹轴不连接,左右对称的每两块螺纹连接板(107)都固定连接有晾晒架(108),所述晾晒架(108)转动连接有晾晒孔板(109),所述晾晒孔板(109)下端面固定连接有左右对称的两组固定板(117),每组所述固定板(117)都转动连接有转动杆(118),所述晾晒架(108)下端面固定连接有左右对称的两个固定架(113),每个所述固定架(113)也都固定连接有固定板(117),所述固定架(113)上的所述固定板(117)转动连接有转动轴(114),所述转动轴(114)与所述转动杆(118)之间都转动连接有转动连接板(115),右侧所述固定架(113)上的所述固定板(117)右端面固定连接有副电机(116),所述副电机(116)与所述转动轴(114)动力连接。
2.根据权利要求1所述的一种农产品晾晒装置,其特征在于:每个所述动力架(102)下端面都固定连接有底板(100),所述底板(100)与所述动力架(102)之间固定连接有前后对称的两根支撑柱(101)。
3.根据权利要求2所述的一种农产品晾晒装置,其特征在于:右侧所述动力架(102)前端面固定连接有控制器(112)。
4.根据权利要求3所述的一种农产品晾晒装置,其特征在于:所述晾晒架(108)设有左右对称的两个卡槽(111)。
5.根据权利要求4所述的一种农产品晾晒装置,其特征在于:所述晾晒架(108)设有排料孔(110)。
技术总结
本技术公开了一种农产品晾晒装置,包括左右对称的两个动力架,每个动力架都转动连接有第一螺纹轴、第二螺纹轴和第三螺纹轴,动力架上端面固定连接有与每根螺纹轴上下对齐的三个主电机,主电机与每根螺纹轴都动力连接,每个动力架都上下滑动连接有三块螺纹连接板,左右对称的每两块螺纹连接板都固定连接有晾晒架,晾晒架转动连接有晾晒孔板,晾晒孔板下端面固定连接有左右对称的两组固定板,每组固定板都转动连接有转动杆,晾晒架下端面固定连接有左右对称的两个固定架,每个固定架上的固定板转动连接有转动轴,转动轴与转动杆之间都转动连接有转动连接板,右侧固定架上的固定板右端面固定连接有副电机,副电机与转动轴动力连接。
技术研发人员:张银龙
受保护的技术使用者:昆明瑞格农业科技有限公司
技术研发日:20231127
技术公布日:2024/8/20
技术研发人员:张银龙
技术所有人:昆明瑞格农业科技有限公司
备 注:该技术已申请专利,仅供学习研究,如用于商业用途,请联系技术所有人。
声 明 :此信息收集于网络,如果你是此专利的发明人不想本网站收录此信息请联系我们,我们会在第一时间删除
