一种货架粉末静电喷涂系统的粉末回收供给装置的制作方法

本技术涉及粉末回收供给装置结构,尤其涉及一种货架粉末静电喷涂系统的粉末回收供给装置。
背景技术:
1、静电粉末喷涂法的工作原理与一般的液态涂料静电喷涂法几乎相同,不同之处在于粉末喷涂是分散的,而不是雾化的。这种方法一般是依靠静电粉末喷枪进行操作的,静电粉末喷枪将粉末涂料喷出,粉末涂料在被喷出的过程中会分散成粉末粒子,同时会带有负电荷,带负电荷的粉末粒子被喷涂到接地的被涂物上后,再将被涂物加热,使喷涂后的粉末在被涂物的表面固化成膜。
2、现有的货架粉末静电喷涂系统在进行粉末涂料时,并不能使其全部吸附在被涂物上,会有部分的粉末涂料掉落,从而导致粉末涂料发生较多浪费,同时掉落的粉末可能与喷涂间内杂物混合,进而容易影响喷涂粉末的回收利用效果。
技术实现思路
1、本部分的目的在于概述本实用新型的实施例的一些方面以及简要介绍一些较佳实施例。在本部分以及本申请的说明书摘要和实用新型名称中可能会做些简化或省略以避免使本部分说明书摘要和实用新型名称的目的模糊,而这种简化或省略不能用于限制本实用新型的范围。
2、鉴于上述现有一种货架粉末静电喷涂系统的粉末回收供给装置存在的问题,提出了本实用新型。
3、因此,本实用新型目的是提供一种货架粉末静电喷涂系统的粉末回收供给装置,其适用于解决现有的货架粉末静电喷涂系统在进行粉末涂料时,并不能使其全部吸附在被涂物上,会有部分的粉末涂料掉落,从而导致粉末涂料发生较多浪费,同时掉落的粉末可能与喷涂间内杂物混合,进而容易影响喷涂粉末的回收利用效果的问题。
4、为解决上述技术问题,本实用新型提供如下技术方案:一种货架粉末静电喷涂系统的粉末回收供给装置,包括:
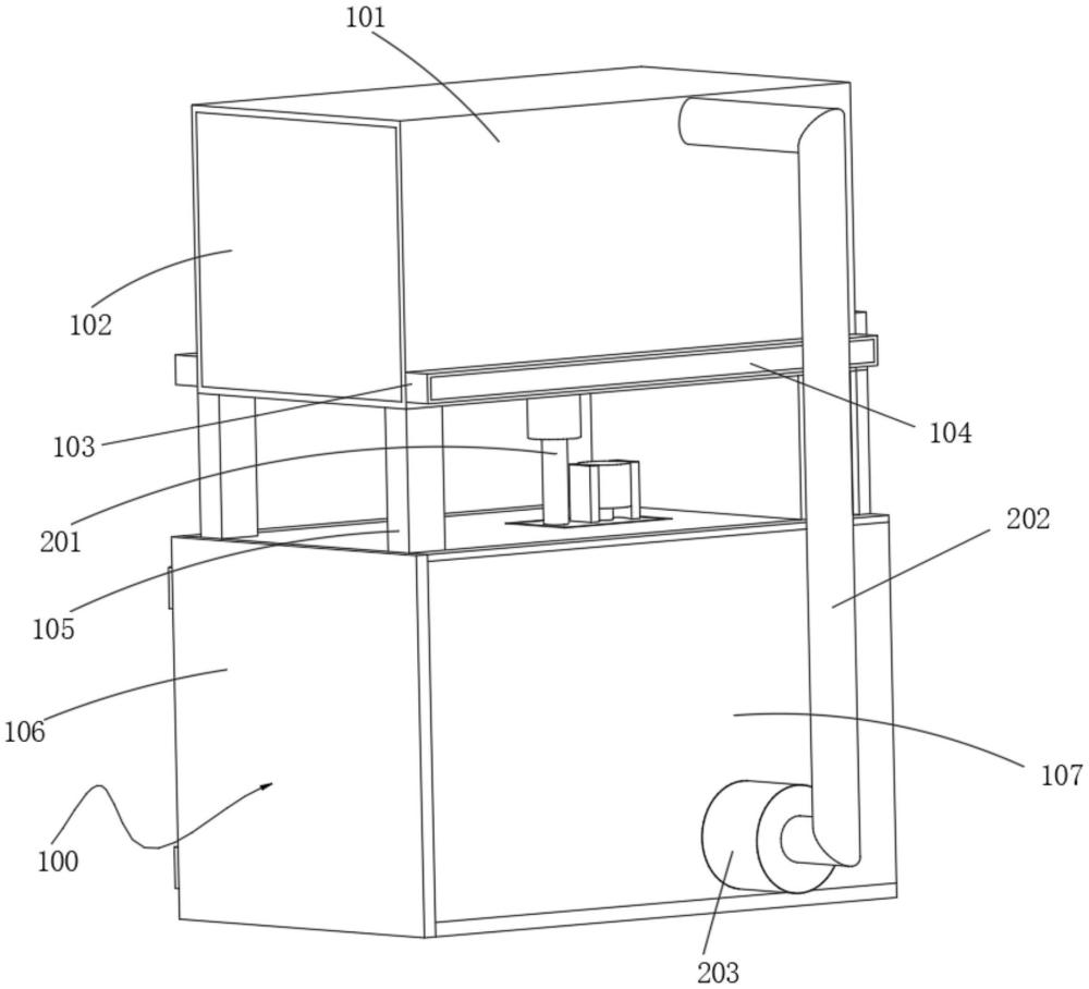
5、主体单元,其包括喷涂箱以及固定连接在喷涂箱下表面的支撑柱,所述支撑柱下表面固定连接有回收箱,所述喷涂箱一侧固定连接有连接箱;
6、回收供给单元,其包括喷涂箱下表面固定连接有第一电动伸缩杆以及固定连接在第一电动伸缩杆下表面的拉伸板,所述连接箱内固定连接有伺服电机,所述伺服电机输出轴一侧固定连接有卷收环,所述卷收环外表面固定连接有牵引绳,所述牵引绳一端固定连接在刮取板一侧,所述刮取板下表面滑动连接在喷涂箱内表面,所述喷涂箱下表面固定连接有导料管,所述导料管另一端固定连接在回收箱上表面,所述回收箱一侧固定连接有气力输送泵,所述气力输送泵一侧固定连接有上料管,所述上料管一端固定连接在喷涂箱一侧。
7、作为本实用新型所述一种货架粉末静电喷涂系统的粉末回收供给装置的一种优选方案,其中:所述连接箱一侧卡合连接有防护板,所述喷涂箱内表面固定连接有隔板,且喷涂箱底部镂空设置有出料口,所述隔板下表面固定连接有喷头,所述喷涂箱一侧卡合连接有维护门,所述回收箱一侧通过合页固定连接有连接门。
8、作为本实用新型所述一种货架粉末静电喷涂系统的粉末回收供给装置的一种优选方案,其中:所述回收箱内表面固定连接有第一l形板,所述第一l形板上表面固定连接有弹簧,所述弹簧上表面固定连接有第二l形板,所述第二l形板上表面固定连接有弹簧,所述弹簧一端固定连接在回收箱内表面。
9、作为本实用新型所述一种货架粉末静电喷涂系统的粉末回收供给装置的一种优选方案,其中:所述拉伸板下表面固定连接有防护环,所述防护环内表面转动连接有次动轮,所述次动轮一侧啮合连接于主动轮,所述主动轮上表面固定连接有驱动电机转动轴。
10、作为本实用新型所述一种货架粉末静电喷涂系统的粉末回收供给装置的一种优选方案,其中:所述驱动电机转动轴一侧固定连接有夹持板,所述夹持板下表面固定连接有回收箱,所述第一l形板上表面固定连接有限位块,所述次动轮下表面固定连接有联动轴,所述联动轴下表面固定连接有调节杆,所述第二l形板下表面固定连接有筛选箱。
11、作为本实用新型所述一种货架粉末静电喷涂系统的粉末回收供给装置的一种优选方案,其中:所述筛选箱下表面固定连接有连接漏斗,所述连接漏斗下表面固定连接有引导管,且引导管一端固定连接有气力输送泵,所述筛选箱一侧固定连接有箱板,所述箱板一侧固定连接有震动电机,所述箱板一侧固定连接有第二电动伸缩杆,所述第二电动伸缩杆一端固定连接在连接门。
12、本实用新型的有益效果:
13、在设备正常工作时,利用喷涂箱内部喷头对产品进行喷涂处理,进而利用喷涂箱内部的刮取板对喷涂箱内表面残留的粉末进行刮取,进而通过导料管将粉末导入回收箱内表面,进一步利用震动电机带动筛选箱进行处理,进而使筛选箱带动其内部粉末进行震动,进一步利用驱动电机带动主动轮进行转动,进而通过主动轮带动次动轮进行转动,使次动轮带动联动轴进行转动,进而使联动轴下表面的调节杆进行转动,使其对筛选箱内部的粉末进行刮动处理,进而方便将粉末在筛选箱内进行筛选处理,进而降低回收粉末内夹杂的杂物,进一步利用连接漏斗对粉末进行接收,进而通过气力输送泵将粉末重新送入喷涂箱内部,当粉末回收完成后,利用第二电动伸缩杆带动箱板进行取下,进而通过连接门带动第二电动伸缩杆进行移动,使其便于对筛选箱内部残留的杂物进行清理,进而提高设备后续的工作效率,当清理时,利用第一电动伸缩杆带动拉伸板上移,使调节杆高度上升,进一步使其便于清理。
14、附图说明
15、为了更清楚地说明本实用新型实施例的技术方案,下面将对实施例描述中所需要使用的附图作简单地介绍,显而易见地,下面描述中的附图仅仅是本实用新型的一些实施例,对于本领域普通技术人员来讲,在不付出创造性劳动的前提下,还可以根据这些附图获得其它的附图。其中:
16、图1为本实用新型提出的一种货架粉末静电喷涂系统的粉末回收供给装置的整体结构示意图;
17、图2为本实用新型提出的一种货架粉末静电喷涂系统的粉末回收供给装置的回收供给单元结构示意图;
18、图3为本实用新型提出的一种货架粉末静电喷涂系统的粉末回收供给装置的筛选箱内部结构示意图。
技术特征:
1.一种货架粉末静电喷涂系统的粉末回收供给装置,其特征在于,包括:
2.根据权利要求1所述的一种货架粉末静电喷涂系统的粉末回收供给装置,其特征在于:所述连接箱(103)一侧卡合连接有防护板(104),所述喷涂箱(101)内表面固定连接有隔板(108),且喷涂箱(101)底部镂空设置有出料口,所述隔板(108)下表面固定连接有喷头(109),所述喷涂箱(101)一侧卡合连接有维护门(102),所述回收箱(107)一侧通过合页(212)固定连接有连接门(106)。
3.根据权利要求1所述的一种货架粉末静电喷涂系统的粉末回收供给装置,其特征在于:所述回收箱(107)内表面固定连接有第一l形板(221),所述第一l形板(221)上表面固定连接有弹簧(216),所述弹簧(216)上表面固定连接有第二l形板(215),所述第二l形板(215)上表面固定连接有弹簧(216),所述弹簧(216)一端固定连接在回收箱(107)内表面。
4.根据权利要求3所述的一种货架粉末静电喷涂系统的粉末回收供给装置,其特征在于:所述拉伸板(205)下表面固定连接有防护环(222),所述防护环(222)内表面转动连接有次动轮(217),所述次动轮(217)一侧啮合连接于主动轮(214),所述主动轮(214)上表面固定连接有驱动电机(213)转动轴。
5.根据权利要求4所述的一种货架粉末静电喷涂系统的粉末回收供给装置,其特征在于:所述驱动电机(213)转动轴一侧固定连接有夹持板(223),所述夹持板(223)下表面固定连接有回收箱(107),所述第一l形板(221)上表面固定连接有限位块(226),所述次动轮(217)下表面固定连接有联动轴(219),所述联动轴(219)下表面固定连接有调节杆(220),所述第二l形板(215)下表面固定连接有筛选箱(218)。
6.根据权利要求5所述的一种货架粉末静电喷涂系统的粉末回收供给装置,其特征在于:所述筛选箱(218)下表面固定连接有连接漏斗(211),所述连接漏斗(211)下表面固定连接有引导管,且引导管一端固定连接有气力输送泵(203),所述筛选箱(218)一侧固定连接有箱板(225),所述箱板(225)一侧固定连接有震动电机(210),所述箱板(225)一侧固定连接有第二电动伸缩杆(224),所述第二电动伸缩杆(224)一端固定连接在连接门(106)。
技术总结
本技术公开了一种货架粉末静电喷涂系统的粉末回收供给装置,包括:主体单元,其包括喷涂箱以及固定连接在喷涂箱下表面的支撑柱;回收供给单元,其包括喷涂箱下表面固定连接有第一电动伸缩杆以及固定连接在第一电动伸缩杆下表面的拉伸板。本技术利用喷涂箱内部喷头对产品进行喷涂处理,进而利用喷涂箱内部的刮取板对喷涂箱内表面残留的粉末进行刮取,进而通过导料管将粉末导入回收箱内表面,进一步利用震动电机带动筛选箱进行处理,进而通过主动轮带动次动轮进行转动,使其便于对筛选箱内部残留的杂物进行清理,进而提高设备后续的工作效率,当清理时,利用第一电动伸缩杆带动拉伸板上移,使调节杆高度上升,进一步使其便于清理。
技术研发人员:李渊
受保护的技术使用者:南京东升货架制造有限公司
技术研发日:20231129
技术公布日:2024/8/20
技术研发人员:李渊
技术所有人:南京东升货架制造有限公司
备 注:该技术已申请专利,仅供学习研究,如用于商业用途,请联系技术所有人。
声 明 :此信息收集于网络,如果你是此专利的发明人不想本网站收录此信息请联系我们,我们会在第一时间删除
