一种风冷冷藏风道制作用钣金模具的制作方法

本技术涉及钣金模具,具体为一种风冷冷藏风道制作用钣金模具。
背景技术:
1、在生产行业中,经常会需要对钣金件进行折弯、弯曲。钣金件的折弯通常是通过弯曲模具来实现的,弯曲模具中的凹模,多为下模,有时也可以是上模,用于定位和提供成型型面,凸模一般为弯曲冲头、折弯刀等,与凹模配合可以将钣金弯曲至需要的形状、角度,风冷冷藏风道制作的流程中需要用到钣金模具对零部件进行加工。
2、如申请号为cn202022557934.9的实用新型公开了一种钣金件折弯模具,其技术方案要点是包括下模座、设置在下模座中的下模、上模座、固定连接在上模座底部中间位置的上模、设置在上模两侧的两上压板、固定连接在上压板顶部并且沿竖直方向贯穿上模座的引导杆、套设在引导杆外侧并且两端分别固定连接在上压板顶部和上模座底部的弹簧,在完成钣金件折弯之后,下模在弹簧的作用下上升,即使钣金件嵌入到下模当中,也可以从下模的侧面将钣金件取出,使得钣金件卡入到下模中之后,也能够容易的被取出。
3、类似于上述申请目前还存在以下不足:钣金件折弯模具通过定位板对钣金件进行限位,限位结构较为薄弱,钣金件在冲压的过程中容易发生偏移,稳定性较差。于是,有鉴于此,针对现有的结构及缺失予以研究改良,提出一种风冷冷藏风道制作用钣金模具。
技术实现思路
1、本实用新型的目的在于提供一种风冷冷藏风道制作用钣金模具,以解决上述背景技术中提出的问题。
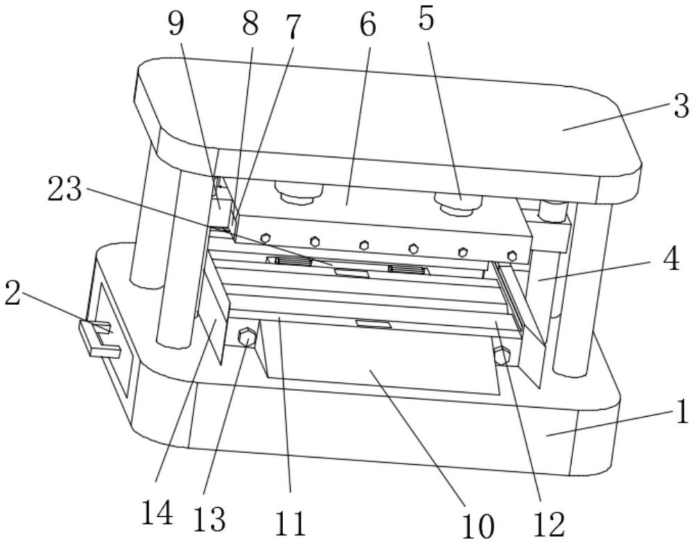
2、为实现上述目的,本实用新型提供如下技术方案:一种风冷冷藏风道制作用钣金模具,包括底座,所述底座上端固定安装有顶板,所述底座上端左右两侧固定安装有限位杆,所述顶板下端设置有液压柱,所述液压柱下端固定安装有固定台,所述固定台左右侧焊接连接有限位块,所述底座上端前侧固定安装有滑台,所述底座上端位于滑台后端焊接连接有固定条,所述底座上端位于固定条左右侧焊接连接有限位条,所述底座上端位于限位条后端设置有液压杆,所述液压杆上端固定安装有挡块,所述挡块前端开设有凹槽,所述凹槽内部滑动连接有卡块,所述卡块与凹槽之间设置有拉伸弹簧,所述卡块上端焊接连接有压板。
3、进一步的,所述底座左侧滑动连接有收纳盒,所述固定台下端开设有卡槽,所述卡槽内部滑动连接有上模具。
4、进一步的,所述固定条之间嵌合有下模具,所述固定条远离中轴线一侧左右端螺纹连接有固定螺母。
5、进一步的,所述限位条靠近中轴线一侧开设有滑槽,所述滑槽内转动连接有第一丝杆。
6、进一步的,所述第一丝杆外侧贯穿连接有清理块,所述清理块下端固定安装有清理刷。
7、进一步的,所述固定条内部开设有空槽,所述空槽内部左右侧转动连接有第二丝杆,所述第二丝杆外侧贯穿连接有顶块。
8、进一步的,所述限位杆贯穿限位块内部,所述凹槽内径与卡块外径相吻合。
9、本实用新型提供了一种风冷冷藏风道制作用钣金模具,具备以下有益效果:
10、其一、本实用新型,通过限位杆与限位块的配合,提高上模具下压时的稳定性,通过滑台与限位条的配合,将钣金材料引导至指定位置,同时通过液压杆带动挡块上升,进一步提高钣金材料位置的准确性,液压杆再次带动挡块下降利用压板将钣金材料压制,进一步提高钣金时的稳定性。
11、其二、本实用新型,通过固定台与卡槽的配合,便于对上模具的更换,通过固定条与固定螺母的配合,便于对下模具进行更换,提高钣金模具的使用范围,同时收纳盒可以收纳修理工具与待更换的钣金模具,便于对模具的更换和机器的维修。
12、其三、本实用新型,通过滑槽与第一丝杆的配合,压制完成后通过第一丝杆带动清理块滑动,清理块下端的清理刷会对下模具进行清扫,防止下模具上残渣堆积影响下一次的冲压,通过第二丝杆与顶块的配合,冲压完成利用第二丝杆带动顶块将钣金材料顶出,便于冷藏风道部件的脱模。
技术特征:
1.一种风冷冷藏风道制作用钣金模具,其特征在于,包括底座(1),所述底座(1)上端固定安装有顶板(3),所述底座(1)上端左右两侧固定安装有限位杆(4),所述顶板(3)下端设置有液压柱(5),所述液压柱(5)下端固定安装有固定台(6),所述固定台(6)左右侧焊接连接有限位块(9),所述底座(1)上端前侧固定安装有滑台(10),所述底座(1)上端位于滑台(10)后端焊接连接有固定条(11),所述底座(1)上端位于固定条(11)左右侧焊接连接有限位条(14),所述底座(1)上端位于限位条(14)后端设置有液压杆(15),所述液压杆(15)上端固定安装有挡块(23),所述挡块(23)前端开设有凹槽(24),所述凹槽(24)内部滑动连接有卡块(25),所述卡块(25)与凹槽(24)之间设置有拉伸弹簧(26),所述卡块(25)上端焊接连接有压板(27)。
2.根据权利要求1所述的一种风冷冷藏风道制作用钣金模具,其特征在于,所述底座(1)左侧滑动连接有收纳盒(2),所述固定台(6)下端开设有卡槽(7),所述卡槽(7)内部滑动连接有上模具(8)。
3.根据权利要求1所述的一种风冷冷藏风道制作用钣金模具,其特征在于,所述固定条(11)之间嵌合有下模具(12),所述固定条(11)远离中轴线一侧左右端螺纹连接有固定螺母(13)。
4.根据权利要求1所述的一种风冷冷藏风道制作用钣金模具,其特征在于,所述限位条(14)靠近中轴线一侧开设有滑槽(16),所述滑槽(16)内转动连接有第一丝杆(17)。
5.根据权利要求4所述的一种风冷冷藏风道制作用钣金模具,其特征在于,所述第一丝杆(17)外侧贯穿连接有清理块(18),所述清理块(18)下端固定安装有清理刷(19)。
6.根据权利要求1所述的一种风冷冷藏风道制作用钣金模具,其特征在于,所述固定条(11)内部开设有空槽(20),所述空槽(20)内部左右侧转动连接有第二丝杆(21),所述第二丝杆(21)外侧贯穿连接有顶块(22)。
7.根据权利要求1所述的一种风冷冷藏风道制作用钣金模具,其特征在于,所述限位杆(4)贯穿限位块(9)内部,所述凹槽(24)内径与卡块(25)外径相吻合。
技术总结
本技术公开了一种风冷冷藏风道制作用钣金模具,涉及钣金模具技术领域,包括底座,所述底座上端固定安装有顶板,所述底座上端左右两侧固定安装有限位杆,所述顶板下端设置有液压柱,所述液压柱下端固定安装有固定台,所述固定台左右侧焊接连接有限位块,所述底座上端前侧固定安装有滑台,所述底座上端位于滑台后端焊接连接有固定条。该一种风冷冷藏风道制作用钣金模具,通过限位杆与限位块的配合,提高上模具下压时的稳定性,通过滑台与限位条的配合,将钣金材料引导至指定位置,同时通过液压杆带动挡块上升,进一步提高钣金材料位置的准确性,液压杆再次带动挡块下降利用压板将钣金材料压制,进一步提高钣金时的稳定性。
技术研发人员:陈晖
受保护的技术使用者:滁州市泊延模具装备制造有限公司
技术研发日:20231130
技术公布日:2024/8/20
技术研发人员:陈晖
技术所有人:滁州市泊延模具装备制造有限公司
备 注:该技术已申请专利,仅供学习研究,如用于商业用途,请联系技术所有人。
声 明 :此信息收集于网络,如果你是此专利的发明人不想本网站收录此信息请联系我们,我们会在第一时间删除
