一种抗氧化的石英砂过滤器的制作方法

本实用新型涉及过滤器领域,特别涉及一种抗氧化的石英砂过滤器。
背景技术:
石英砂过滤器通常用在饮用水净水方面,通过石英砂过滤掉水中的大部分杂质,石英砂过滤器通常设置在潮湿的环境中。现有技术中,由于石英砂过滤器的箱体通常采用碳钢材质,在长时间使用时,通常会因为腐蚀而影响使用寿命,一般的解决办法是做防腐处理,但是会增加运营成本。
技术实现要素:
本实用新型要解决的技术问题是提供一种抗氧化的石英砂过滤器,解决现有技术中既能保证抗腐蚀效果又能节省运营成本的问题。
为了解决上述技术问题,本实用新型的技术方案为:
一种抗氧化的石英砂过滤器,包括一过滤器箱体和设置在所述过滤器箱体内的石英砂过滤器,在所述过滤器箱体上设置有一进水口,在所述过滤器箱体的下方设置有出水口;其中,在所述过滤器箱体为玻璃钢过滤器箱体。
其中,在所述过滤器箱体内的顶部设置有分流隔板,在所述进水口上接有一进水管,所述分流隔板和所述进水管的另一端连接。
具体的,在所述分流隔板上设置有多个导流槽。
更具体的,所述导流槽的数量至少为三个。
其中,所述石英砂过滤器包括多个石英砂过滤舱,所述多个石英砂过滤舱固定连接。
具体的,所述石英砂过滤舱的数量至少为三个。
其中,在所述过滤器箱体的底部设置有排砂管道。
其中,在所述出水口外还设置抽水泵。
其中,在所述过滤器箱体的侧壁上设置有观察口。
具体的,其特征在于:所述观察口上设置有钢化玻璃。
采用上述技术方案,由于采用了玻璃钢过滤器箱体,使得不需要采用另外的防腐措施就能够起到防腐蚀的效果,从而增加过滤器的使用寿命,节约使用成本,用户体验好。
附图说明
图1为本实用新型抗氧化的石英砂过滤器的结构示意图。
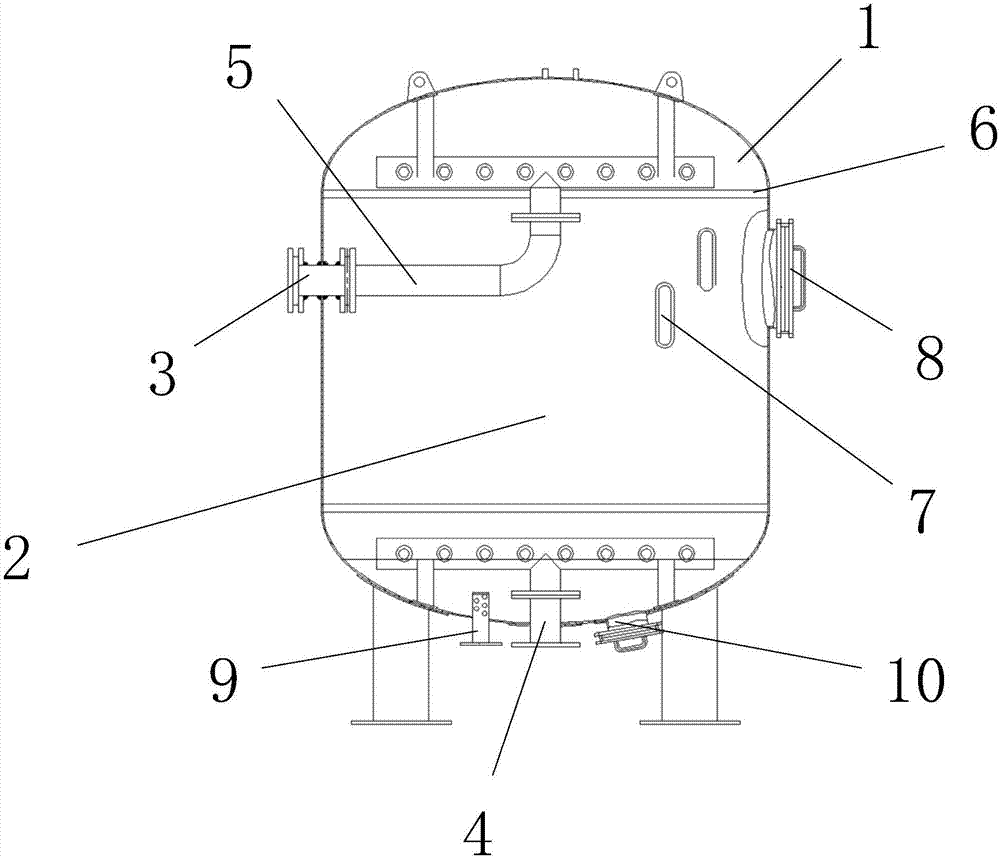
图中,1-过滤器箱体,2-石英砂过滤器,3-进水口,4-出水口,5-进水管,6-分流隔板,7-观察口,8-检修舱门,9-排砂管道,10-应急舱门。
具体实施方式
下面结合附图对本实用新型的具体实施方式作进一步说明。在此需要说明的是,对于这些实施方式的说明用于帮助理解本实用新型,但并不构成对本实用新型的限定。此外,下面所描述的本实用新型各个实施方式中所涉及的技术特征只要彼此之间未构成冲突就可以相互组合。
作为本实用新型的第一实施例,提出一种抗氧化的石英砂过滤器,如图1所示,包括一玻璃钢过滤器箱体1和设置在过滤器箱体内的石英砂过滤器2,在过滤器箱体1上设置有一进水口3,在过滤器箱体1的下方设置有出水口4;采用玻璃钢过滤箱体可以有效防止因为腐蚀而造成的过滤器箱体损坏。在进水口3上设置有一进水管5延伸至过滤器箱体1内的石英砂过滤器2上方,在进水管5的另一端连接有分流隔板6,分流隔板6通过连接架可拆卸的固定设置在过滤器箱体1的顶部,以保证其稳定性,在分流隔板6上涂覆有耐腐蚀纳米涂层,保证其使用寿命,分流隔板6上设置有三个导流槽,可以将进水均匀的倒流到石英砂过滤器2中,石英砂过滤器2分为三个过滤舱,分别对应分流隔板6的三个导流槽,导流槽分别将进水倒流到每个过滤舱中,每个过滤舱中置有石英砂,本实施例中采用颗粒直径为0.3mm-0.5mm的石英砂。采用分流和分腔过滤相结合的过滤结构,能够有效利用石英砂过滤层,提高流体与滤层的接触面积,进一步提高过滤的效率。
继续如图1所示,在过滤器箱体1的侧壁上设置有观察口7,在观察口7上设置有防爆钢化玻璃,通过观察口7可以观测到过滤箱体内的过滤情况,对出现的积水等情况可以及时发现。在过滤器箱体1的侧壁上还设置有检修舱门8,通过检修舱门8维修人员可以进入过滤器箱体1内对部件进行维护及更换。在过滤器箱体1的底部设置有排砂管道9,可以在需要对石英砂进行更换时方便石英砂的全部排出,在石英砂排出后,通过检修舱门8可以将新的石英砂放入石英砂过滤器2。同时在过滤器箱体1的底部设置还设置有仅能够将手伸入过滤器箱体1的应急舱门10,以防止维修时物品掉落至过滤器箱体1的底部无法拿到的情况。
过滤器箱体1通过设置在过滤器箱体1底部的三脚式支撑架支撑,可以将其固定设置在房顶,地面,地下室等地方。过滤器箱体1的顶部设置有吊钩,可以使用吊车吊运,移动方便。
作为上述实施例的优选实施例,提出另一种抗氧化的石英砂过滤器,在第一实施例的基础上,在出水口上连接有出水管,在出水管的一端设置有抽水泵,可以增加过滤器箱体1的水流速度,提升过滤速度。
采用上述技术方案,由于采用了玻璃钢过滤器箱体,使得不需要采用另外的防腐措施就能够起到防腐蚀的效果,从而增加过滤器的使用寿命,节约使用成本,用户体验好。
以上结合附图对本实用新型的实施方式作了详细说明,但本实用新型不限于所描述的实施方式。对于本领域的技术人员而言,在不脱离本实用新型原理和精神的情况下,对这些实施方式进行多种变化、修改、替换和变型,仍落入本实用新型的保护范围内。
技术研发人员:苏裕昌,张金,刘积容,黄裕璋,罗涵
技术所有人:福建省蓝深环保技术股份有限公司
备 注:该技术已申请专利,仅供学习研究,如用于商业用途,请联系技术所有人。
声 明 :此信息收集于网络,如果你是此专利的发明人不想本网站收录此信息请联系我们,我们会在第一时间删除
