桁架式刮吸泥机的制作方法

本实用新型涉及一种桁架式刮吸泥机。
背景技术:
周边传动刮泥机,是一种排泥设备。用于城市污水处理厂、自来水厂以及工业废水处理中直径较大的圆形沉淀池中,排除沉降在池底的污泥和撇除池面的浮渣。
以往吸泥机中,排污排污潜水泵都是直接固定设置在底梁上的,这种安装所带来的缺陷是不便于排污潜水泵的安装、拆卸;具体表现为:当需要修理的时候需要将排污潜水泵拆下,这时就需要人工爬到沉淀池的底部,由于排污潜水泵比较重,因此需要多个人一起下到沉淀池内搬运排污潜水泵,这就使得泵的安装、拆卸和维护都非常不便。
技术实现要素:
本实用新型要解决的技术问题是:克服现有技术的不足,提供一种桁架式刮吸泥机,解决以往对排污潜水泵不方便安装、拆卸的缺陷。
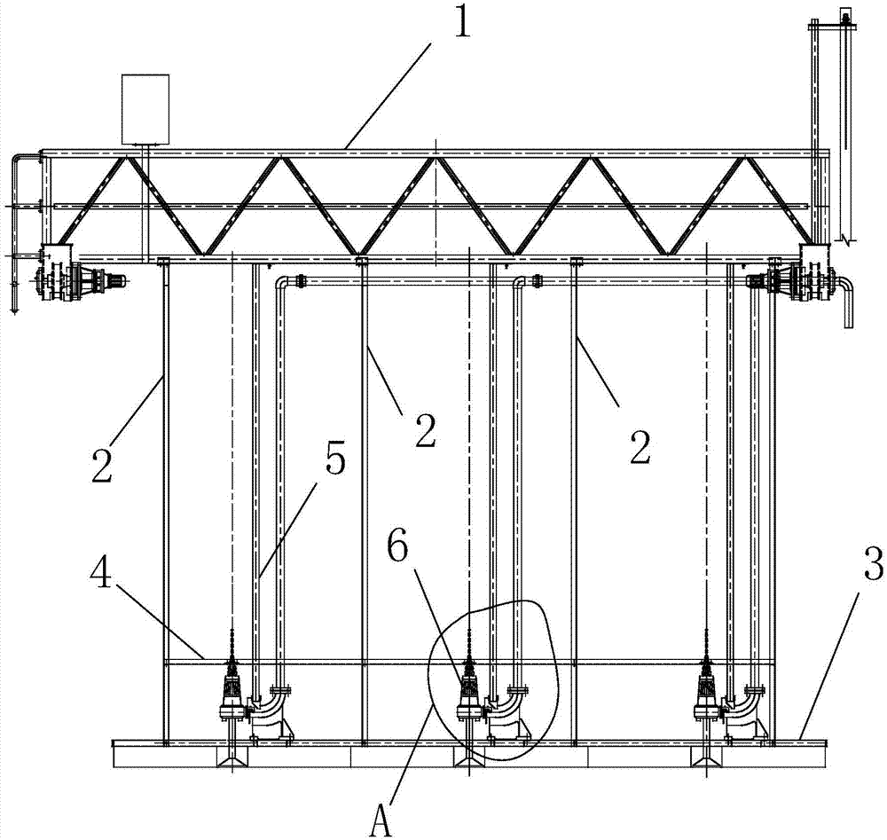
本实用新型解决其技术问题所采用的技术方案是:一种桁架式刮吸泥机,包括行走支架,所述行走支架的下端设置有用于安装潜水排污泵的安装架,所述安装架包括多根纵梁、横梁以及底梁,各纵梁的上端与行走支架固定连接,各纵梁的下端与底梁固定连接,所述横梁水平设置并与各纵梁固定连接;
所述底梁上设置有多个排污组件,所述的排污组件包括底座、弯管、排污潜水泵以及出泥管,所述的弯管固定设置在底座上,所述排污潜水泵与弯管进口连接,所述出泥管与弯管出口连接,所述排污潜水泵的上端连接吊链,所述吊链的上端与行走支架固定连接。
进一步的,所述横梁位于排污潜水泵的上端,所述横梁上开设有穿孔,所述吊链从穿孔中穿过。吊链从横梁的穿孔中穿过,因此横梁可以有效防止吊链摆动对排污潜水泵所造型的影响,提升排污潜水泵与弯管之间连接的稳定性。
进一步的,所述排污组件还包括一根纵加强梁,所述纵加强梁的下端与底座固定连接,所述纵加强梁的上端与行走支架固定连接。纵加强梁的设置主要目的提升底座在整个安装架上的稳定性,减轻各纵梁的纵向负担。
本实用新型的有益效果是:改变传统排污潜水泵的安装方式,由吊链直接吊装,然后在与弯管进行连接,此种结构方便排污潜水泵的安装、拆卸。
附图说明
下面结合附图对本实用新型进一步说明。
图1是吸泥机的示意图;
图2是图1中A处视图;
其中,1、行走支架,2、纵梁,3、底梁,4、横梁,5、纵加强梁,6、排污潜水泵,7、底座,8、弯管,9、出泥管,10、吊链。
具体实施方式
现在结合附图对本实用新型作进一步的说明。这些附图均为简化的示意图仅以示意方式说明本实用新型的基本结构,因此其仅显示与本实用新型有关的构成。
如图1图2所示,一种桁架式刮吸泥机,包括行走支架1,所述行走支架1的下端设置有用于安装潜水排污泵的安装架,安装架包括多根纵梁2、横梁4以及底梁3,各纵梁2的上端与行走支架1固定连接,各纵梁2的下端与底梁3固定连接,所述横梁4水平设置并与各纵梁2固定连接。
底梁3上设置有多个排污组件,本实施中,排污组件为3组,排污组件包括底座7、弯管8、排污潜水泵6以及出泥管9,弯管8固定设置在底座7上,排污潜水泵6与弯管8进口连接,采用螺栓固定连接,出泥管9与弯管8出口连接,排污潜水泵6的上端连接吊链10,吊链10的上端与行走支架1固定连接。
横梁4位于排污潜水泵6的上端,横梁4上开设有穿孔,吊链10从穿孔中穿过。吊链10从横梁4的穿孔中穿过,因此横梁4可以有效防止吊链10摆动对排污潜水泵6所造型的影响,提升排污潜水泵6与弯管8之间连接的稳定性。
排污组件还包括一根纵加强梁5,纵加强梁5的下端与底座7固定连接,纵加强梁5的上端与行走支架1固定连接。纵加强梁5的设置主要目的提升底座7在整个安装架上的稳定性,减轻各纵梁2的纵向负担。
改变传统排污潜水泵6的安装方式,由吊链10直接吊装,在拆卸的时候无需人工进行抬起,比较省力,只需在行走支架1上控制吊链10的长度即可控制排污潜水泵6的安装位置,降低进入沉淀池内工人的操作强度。
以上述依据本实用新型的理想实施例为启示,通过上述的说明内容,相关工作人员完全可以在不偏离本项实用新型技术思想的范围内,进行多样的变更以及修改。本项实用新型的技术性范围并不局限于说明书上的内容,必须要根据权利要求范围来确定其技术性范围。
技术研发人员:刘贤伟
技术所有人:江苏博隆环保设备有限公司
备 注:该技术已申请专利,仅供学习研究,如用于商业用途,请联系技术所有人。
声 明 :此信息收集于网络,如果你是此专利的发明人不想本网站收录此信息请联系我们,我们会在第一时间删除
