一种GL型给料机的制作方法

本实用新型涉及给料机技术领域,具体涉及一种GL型给料机。
背景技术:
给料机用于把物料从贮料仓或其它贮料设备中均匀或定量的供给到受料设备中,是实行流水作业自动化的必备设备,但是目前应用到油砂粉碎的给料机中,由于挖掘油砂含油性、块状且大小不一、易粘结等特性,使得油砂极易粘附在给料机上,降低给料机的工作效率以及使用寿命,并且现有的给料机储料不均匀,流量不方便调控以及不具有自清功能。
技术实现要素:
针对现有技术中的缺陷,本实用新型提供一种GL型给料机,结合挖掘油砂的特性,而设计的GL型给料机,集破碎、均匀出料、自清功能于一体并且适用于挖掘机、装载机进料。
为实现上述目的,本实用新型提供如下技术方案:
一种GL型给料机,包括机架、进料箱、破碎轴、变速箱以及电机;
所述机架上安装有所述进料箱,所述进料箱为一矩形壳体,且所述矩形壳体的上部具有一开口,所述矩形壳体内安装有V型物料导板,所述V型物料导板的横向长度与所述矩形壳体的横向长度相同,所述V型物料导板的上部分别与所述矩形壳体的开口处的内壁连接,所述V型物料导板的底部设有用于安装所述破碎轴的下料口,所述破碎轴设有两条,两条所述破碎轴并行设置且运动方向相反,所述破碎轴上倾斜设置有若干破碎刃,且两条所述破碎轴上的相对应的破碎刃交叉设置,所述两条破碎轴的两端分别转动安装于所述机架上,所述两条破碎轴的处于不同侧的其中一端部分别通过一传动轴连接于所述变速箱,所述变速箱安装于所述机架上,所述变速箱一侧的机架上还安装有所述电机,所述电机与所述变速箱之间通过皮带连接,所述电机与一变频器电连接。
作为一种改进的方案,所述电机与所述变速箱皮带连接部分设有安全保护罩。
作为一种改进的方案,所述破碎轴的两端套装有轴承,所述轴承位于所述破碎轴与所述机架转动安装的位置。
作为一种改进的方案,所述电机上安装有带轮。
作为一种改进的方案,所述变速箱设有动力输入轴。
作为一种改进的方案,所述动力输入轴上安装有带轮。
作为一种改进的方案,所述机架、进料箱、变速箱以及电机的表面设有一层防锈层。
与现有技术相比,本实用新型的有益效果是:
GL型给料机,包括机架、进料箱、破碎轴、变速箱以及电机;
机架上安装有进料箱,进料箱为一矩形壳体,且矩形壳体的上部具有一开口,矩形壳体内安装有V型物料导板,V型物料导板的横向长度与矩形壳体的横向长度相同,V型物料导板的上部分别与矩形壳体的开口处的内壁连接,V型物料导板的底部设有用于安装破碎轴的下料口,破碎轴设有两条,两条破碎轴并行设置且运动方向相反,破碎轴上倾斜设置有若干破碎刃,且两条破碎轴上的相对应的破碎刃交叉设置,两条破碎轴的两端分别转动安装于机架上,两条破碎轴的处于不同侧的其中一端部分别通过一传动轴连接于变速箱,变速箱安装于机架上,变速箱一侧的机架上还安装有电机,电机与变速箱之间通过皮带连接,所述电机与一变频器电连接,基于以上结构,机架上安装有进料箱,且进料箱为矩形壳体,可方便安装于机架上,矩形壳体内部安装有V型物料导板,可利用V型物料导板倾斜的两面将物料顺着倾斜的两面向破碎轴聚拢,且破碎轴并行设置有两根且运动方向相反,破碎轴上倾斜设置有所述若干破碎刃,且两条破碎轴上的相对应的破碎刃交叉设置,物料接触到两根相向运动的破碎轴,物料被破碎轴的破碎刃挤压击碎成小块从底部下料口落下,物料被破碎的同时,进行相反方向运动,还起到自清功能,两条破碎轴的处于不同侧的其中一端部分别通过一传动轴连接于变速箱,且变速箱连接电机,电机与一变频器电连接,通过变频器调速控制,从而控制电机转速,进而调节被击碎物料的控制流量。
电机与变速箱皮带连接部分设有保护罩,基于以上结构,设有保护罩可以保证工作人员的安全,以免误伤。
破碎轴的两端套装有轴承,轴承位于破碎轴与机架转动安装的位置,基于以上结构,可减少破碎轴的磨损,增加使用寿命。
电机上安装有带轮,变速箱设有动力输入轴,动力输入轴上安装有带轮,基于以上结构,可实现电机与变速箱之间通过皮带传动。
机架、进料箱、变速箱以及电机的表面设有一层防锈层,基于以上结构,可防止给料机在恶劣的环境中使用时出现生锈腐蚀。
综上,本实用新型实现了结合挖掘油砂的特性,而设计的GL型给料机,集破碎、均匀出料、自清功能于一体并且适用于挖掘机、装载机进料的技术效果,该实用新型设计结构简单,操作控制简便,易于大规模制造与安装,应用范围广。
附图说明
为了更清楚地说明本实用新型具体实施方式或现有技术中的技术方案,下面将对具体实施方式或现有技术描述中所需要使用的附图作简单地介绍。在所有附图中,类似的元件或部分一般由类似的附图标记标识。附图中,各元件或部分并不一定按照实际的比例绘制。
图1为本实用新型俯视的结构示意图;
图2为本实用新型正面的结构示意图;
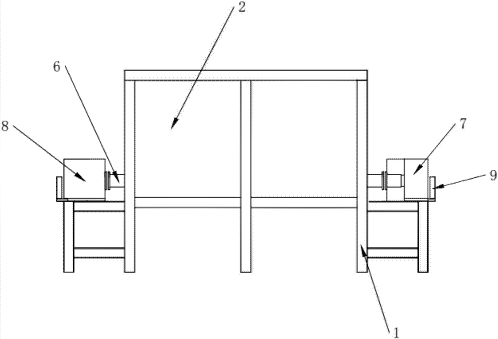
图中:1-机架;2-进料箱;3-V型物料导板;4-破碎轴;5-破碎刃;6-传动轴;7-变速箱;8-电机;9-保护罩。
具体实施方式
下面将结合附图对本实用新型技术方案的实施例进行详细的描述。以下实施例仅用于更加清楚地说明本实用新型的技术方案,因此只作为示例,而不能以此来限制本实用新型的保护范围。
如图1和图2所示,一种GL型给料机,包括机架1、进料箱2、破碎轴4、变速箱7以及电机8;
机架1上安装有进料箱2,进料箱2为一矩形壳体,且矩形壳体的上部具有一开口,矩形壳体内安装有V型物料导板3,V型物料导板3的横向长度与矩形壳体的横向长度相同,V型物料导板3的上部分别与矩形壳体的开口处的内壁连接,V型物料导板3的底部设有用于安装破碎轴4的下料口,破碎轴4设有两条,两条破碎轴4并行设置且运动方向相反,破碎轴4上倾斜设置有若干破碎刃5,且两条破碎轴4上的相对应的破碎刃5交叉设置,两条破碎轴4的两端分别转动安装于机架1上,两条破碎轴4的处于不同侧的其中一端部分别通过一传动轴6连接于变速箱7,变速箱7安装于机架1上,变速箱7一侧的机架1上还安装有电机8,电机8与变速箱7之间通过皮带连接,所述电机8与一变频器电连接,其中变频器为市面上所常见的并可以购买到的。
在本实施例中,机架1上安装有进料箱2,且进料箱2为矩形壳体,可方便安装于机架1上,矩形壳体内部安装有V型物料导板3,可利用V型物料导板3倾斜的两面将物料顺着倾斜的两面向破碎轴4聚拢,且破碎轴4并行设置有两根且运动方向相反,破碎轴4上倾斜设置有所述若干破碎刃5,且两条破碎轴4上的相对应的破碎刃5交叉设置,物料接触到两根相向运动的破碎轴4,物料被破碎轴4的破碎刃5挤压击碎成小块从底部下料口落下,物料被破碎的同时,进行相反方向运动,还起到自清功能,两条破碎轴4的处于不同侧的其中一端部分别通过一传动轴6连接于变速箱7,且变速箱7连接电机8,电机8与一变频器电连接,通过变频器调速控制,从而控制电机8转速,进而调节被击碎物料的控制流量。
在本实施例中,电机8与变速箱7皮带连接部分设有保护罩9,设有保护罩9可以保证工作人员的安全,以免误伤。
在本实施例中,破碎轴4的两端套装有轴承,轴承位于破碎轴4与机架1转动安装的位置,可减少破碎轴4的磨损,增加使用寿命。
在本实施例中,电机8上安装有带轮,变速箱7设有动力输入轴,动力输入轴上安装有带轮,可实现电机8与变速箱7之间通过皮带传动。
在本实施例中,机架1、进料箱2、变速箱7以及电机8的表面设有一层防锈层,可防止给料机在恶劣的环境中使用时出现生锈腐蚀。
最后应说明的是:以上各实施例仅用以说明本实用新型的技术方案,而非对其限制;尽管参照前述各实施例对本实用新型进行了详细的说明,本领域的普通技术人员应当理解:其依然可以对前述各实施例所记载的技术方案进行修改,或者对其中部分或者全部技术特征进行等同替换;而这些修改或者替换,并不使相应技术方案的本质脱离本实用新型各实施例技术方案的范围,其均应涵盖在本实用新型的权利要求和说明书的范围当中。
技术研发人员:吴英,曹占元,张晓宝,庞泽升
技术所有人:克拉玛依市恒通能源有限公司,中国科学院地质与地球物理研究所兰州油气资源研究中心
备 注:该技术已申请专利,仅供学习研究,如用于商业用途,请联系技术所有人。
声 明 :此信息收集于网络,如果你是此专利的发明人不想本网站收录此信息请联系我们,我们会在第一时间删除