首页  专利技术  电子通信装置的制造及其应用技术

一种可调式预粉碎消音二次粉碎型矿石加工装置的制作方法

2025-09-25 12:20:01 363次浏览
一种可调式预粉碎消音二次粉碎型矿石加工装置的制作方法

本实用新型涉及一种矿石加工装置,具体是一种可调式预粉碎消音二次粉碎型矿石加工装置。



背景技术:

矿石在进行开采后,根据不同的使用情况,我需要将矿石粉碎成不同大小的颗粒,在粉碎矿石的过程中,由于粉碎机械与矿石之间为硬性碰撞,导致粉碎过程中,发出极大的噪音,矿石一般比较大,没法直接在粉碎机械粉碎,需要提前预处理,同时现有的粉碎装置,只能进行单一大小粒径的粉碎,功能单一,不能满足目前矿石粉碎的需求。



技术实现要素:

本实用新型的目的在于提供一种可调式预粉碎消音二次粉碎型矿石加工装置,以解决上述背景技术中提出的问题。

为实现上述目的,本实用新型提供如下技术方案:

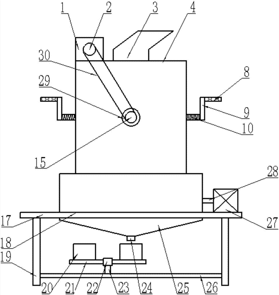
一种可调式预粉碎消音二次粉碎型矿石加工装置,包括消音型可调式预粉碎装置和消音型二次粉碎收料装置;所述消音型可调式预粉碎装置包括第一电机、传动轴、加料筒、预处理箱、第一隔音棉、弧形隔板、凸起、防滑螺纹、转动手柄、丝杆、固定轴承、粉碎锤、连接杆、固定盘、转动轴、进料口、轴承座和传动带;所述预处理箱固定设置在二次粉碎箱中央位置上;所述第一隔音棉设置在预处理箱侧壁中;所述加料筒焊接在第一隔音棉中央位置上;所述第一电机固定设置在预处理箱上方左侧上;所述传动轴固定设置在第一电机上;所述轴承座固定设置在预处理箱中央位置上;所述转动轴通过轴承座设置在预处理箱中;所述固定盘固定设置在转动轴上;所述连接杆设置有四根,等角度固定设置在固定盘上;所述粉碎锤焊接在连接杆上端;所述弧形隔板设置有两块,设置在连接杆左右两侧;所述固定轴承固定设置在弧形隔板中央位置中;所述丝杆一端设置在固定轴承中,另一端设置在预处理箱外侧;所述转动手柄固定设置在丝杆上;所述进料口设置在预处理箱下方;所述消音型二次粉碎收料装置包括基座、二次粉碎箱、支撑柱、收料箱、承载板、万向轴、固定柱、下料口、导料罩、固定板、第二电机、粉碎轴、第二隔音棉、二次粉碎进料口、固定套、粉碎叶片和过滤网;所述基座固定设置在四根支撑柱上;所述二次粉碎箱固定设置在基座中;所述第二隔音棉设置在二次粉碎箱侧壁中;所述二次粉碎进料口设置在二次粉碎箱上方;所述第二电机固定设置在基座右侧上;所述粉碎轴一端固定设置在第二电机上,另一端设置在二次粉碎箱中;所述固定套设置有八个,固定设置在粉碎轴上;所述粉碎叶片固定设置在固定套两侧上;所述导料罩固定设置在二次粉碎箱下方;所述下料口设置在导料罩下方;所述支撑柱固定设置在基座下方;所述固定板固定设置在四根支撑柱下方上;所述固定柱焊接在固定板上;所述万向轴固定设置在固定柱上;所述承载板设置有两块,焊接在万向轴上;所述收料箱设置在承载板上。

作为本实用新型进一步的方案:所述预处理箱侧壁设置为中空型。

作为本实用新型进一步的方案:所述转动轴通过传动带与传动轴连接。

作为本实用新型进一步的方案:所述弧形隔板上设置有若干凸起。

作为本实用新型进一步的方案:所述转动手柄上设置有防滑螺纹。

作为本实用新型进一步的方案:所述二次粉碎箱侧壁设置为中空型。

作为本实用新型再进一步的方案:所述过滤网固定设置在二次粉碎箱内壁上,粉碎叶片下方。

与现有技术相比,本实用新型的有益效果是:

本实用新型装置根据矿石需要预处理的情况,转动转动手柄移动弧形隔板,通过加料筒加入矿石,启动第一电机带动转动轴旋转,带动连接杆上的粉碎锤旋转,通过粉碎锤和弧形隔板上的凸起的配合对矿石进行预处理粉碎,通过第一隔音棉消除预处理粉碎时噪音;预处理粉碎后的物料通过二次粉碎进料口进入二次粉碎箱中,启动第二电机带动粉碎轴上的粉碎叶片对矿石进行二次粉碎,粉碎的物料通过过滤网过滤,过滤后的矿石通过导料罩下方的下料口排除,收集在收料箱,转动承载板能够收集在另一个收料箱中,通过第二隔音棉消除二次粉碎时噪音;该装置设计合理,能够根据要求调节预处理粉碎效果,然后进行二次粉碎,有效提高了粉碎的效率,并且整个装置具有良好的降噪功能。

附图说明

图1为可调式预粉碎消音二次粉碎型矿石加工装置的结构示意图。

图2为可调式预粉碎消音二次粉碎型矿石加工装置的主视图。

图3为可调式预粉碎消音二次粉碎型矿石加工装置中二次粉碎装置的结构示意图。

图4为可调式预粉碎消音二次粉碎型矿石加工装置中收料装置的俯视图。

图中:1-第一电机,2-传动轴,3-加料筒,4-预处理箱,5-第一隔音棉,6-弧形隔板,7-凸起,8-防滑螺纹,9-转动手柄,10-丝杆,11-固定轴承,12-粉碎锤,13-连接杆,14-固定盘,15-转动轴,16-进料口,17-基座,18-二次粉碎箱,19-支撑柱,20-收料箱,21-承载板,22-万向轴,23-固定柱,24-下料口,25-导料罩,26-固定板,27-第二电机,28-粉碎轴,29-轴承座,30-传动带,31-第二隔音棉,32-二次粉碎进料口,33-固定套,34-粉碎叶片,35-过滤网。

具体实施方式

下面结合具体实施方式对本专利的技术方案作进一步详细地说明。

请参阅图1-4,一种可调式预粉碎消音二次粉碎型矿石加工装置,包括消音型可调式预粉碎装置和消音型二次粉碎收料装置;所述消音型可调式预粉碎装置包括第一电机1、传动轴2、加料筒3、预处理箱4、第一隔音棉5、弧形隔板6、凸起7、防滑螺纹8、转动手柄9、丝杆10、固定轴承11、粉碎锤12、连接杆13、固定盘14、转动轴15、进料口16、轴承座29和传动带30;所述预处理箱4固定设置在二次粉碎箱18中央位置上,预处理箱4侧壁设置为中空型;所述第一隔音棉5设置在预处理箱4侧壁中;所述加料筒3焊接在第一隔音棉5中央位置上;所述第一电机1固定设置在预处理箱4上方左侧上;所述传动轴2固定设置在第一电机1上;所述轴承座29固定设置在预处理箱4中央位置上;所述转动轴15通过轴承座29设置在预处理箱4中,转动轴15通过传动带30与传动轴2连接;所述固定盘14固定设置在转动轴15上;所述连接杆13设置有四根,等角度固定设置在固定盘14上;所述粉碎锤12焊接在连接杆13上端;所述弧形隔板6设置有两块,设置在连接杆13左右两侧,弧形隔板6上设置有若干凸起7;所述固定轴承11固定设置在弧形隔板6中央位置中;所述丝杆10一端设置在固定轴承11中,另一端设置在预处理箱4外侧;所述转动手柄9固定设置在丝杆10上,转动手柄9上设置有防滑螺纹8;所述进料口16设置在预处理箱4下方;根据矿石需要预处理的情况,转动转动手柄9移动弧形隔板6,通过加料筒3加入矿石,启动第一电机1带动转动轴15旋转,带动连接杆13上的粉碎锤12旋转,通过粉碎锤12和弧形隔板6上的凸起7的配合对矿石进行预处理粉碎,通过第一隔音棉5消除预处理粉碎时噪音;所述消音型二次粉碎收料装置包括基座17、二次粉碎箱18、支撑柱19、收料箱20、承载板21、万向轴22、固定柱23、下料口24、导料罩25、固定板26、第二电机27、粉碎轴28、第二隔音棉31、二次粉碎进料口32、固定套33、粉碎叶片34和过滤网35;所述基座17固定设置在四根支撑柱19上;所述二次粉碎箱18固定设置在基座17中,二次粉碎箱18侧壁设置为中空型;所述第二隔音棉31设置在二次粉碎箱18侧壁中;所述二次粉碎进料口32设置在二次粉碎箱18上方;所述第二电机27固定设置在基座17右侧上;所述粉碎轴28一端固定设置在第二电机27上,另一端设置在二次粉碎箱18中;所述固定套33设置有八个,固定设置在粉碎轴28上;所述粉碎叶片34固定设置在固定套33两侧上;所述过滤网35固定设置在二次粉碎箱18内壁上,粉碎叶片34下方;所述导料罩25固定设置在二次粉碎箱18下方;所述下料口24设置在导料罩25下方;所述支撑柱19固定设置在基座17下方;所述固定板26固定设置在四根支撑柱19下方上;所述固定柱23焊接在固定板26上;所述万向轴22固定设置在固定柱23上;所述承载板21设置有两块,焊接在万向轴22上;所述收料箱20设置在承载板21上;预处理粉碎后的物料通过二次粉碎进料口32进入二次粉碎箱18中,启动第二电机27带动粉碎轴28上的粉碎叶片34对矿石进行二次粉碎,粉碎的物料通过过滤网35过滤,过滤后的矿石通过导料罩25下方的下料口24排除,收集在收料箱20,转动承载板21能够收集在另一个收料箱20中,通过第二隔音棉31消除二次粉碎时噪音。

上面对本专利的较佳实施方式作了详细说明,但是本专利并不限于上述实施方式,在本领域的普通技术人员所具备的知识范围内,还可以在不脱离本专利宗旨的前提下做出各种变化。

文档序号 : 【 12871070 】

技术研发人员:李洪涛,籍志强,郭小刚,闫晋峰,左飞
技术所有人:山西潞安环保能源开发股份有限公司常村煤矿

备 注:该技术已申请专利,仅供学习研究,如用于商业用途,请联系技术所有人。
声 明此信息收集于网络,如果你是此专利的发明人不想本网站收录此信息请联系我们,我们会在第一时间删除
李洪涛籍志强郭小刚闫晋峰左飞山西潞安环保能源开发股份有限公司常村煤矿
一种矿渣回收利用装置的制作方法 一种娃娃的制造方法
相关内容