养殖厂禽畜粪便全自动化处理设备的制作方法

本实用新型涉及禽畜粪便处理技术领域,更具体地说,它涉及一种养殖厂禽畜粪便全自动化处理设备。
背景技术:
由于养殖厂每天产生大量的禽畜粪便,容易造成病毒和有害病菌的传播,因此养殖厂禽畜粪便全自动化处理设备孕育而生,养殖厂禽畜粪便全自动化处理设备是对禽畜粪便的烘干处理,以改善养殖厂的环境。
现有授权公告号为CN205205009U的中国专利提供了一种禽畜粪便处理装置,其包括干燥室,干燥室的上方为第二进料口,干燥室位于第二进料口的正下方设置有第二出料口,此外干燥室上贯穿设置有进风管,以供气体流入,当半固态状的禽畜粪便经第二进料口流向第二出料口的过程中,进风管处流动的气体对禽畜粪便进行风干,使半固态状的禽畜粪便称为固态状的禽畜粪便块。
但是,禽畜的粪便仅在第二进料口和第二出料口之间的下落过程中进行风干,由于禽畜的粪便从第二进料口进入第二出料口的时间较短,因此禽畜粪便块风干的不彻底,导致禽畜粪便块表面仍比较潮湿,在收集装袋后,容易导致相邻禽畜粪便块之间相互粘接,导致在施肥的时候,整袋的禽畜粪便块凝固在一起,需要对凝固在一起的禽畜粪便块进行敲碎,因此不便于进行施肥。
技术实现要素:
针对现有技术存在的不足,本实用新型的目的在于提供一种能够提高禽畜粪便块表面干燥程度的养殖厂禽畜粪便全自动化处理设备。
为实现上述目的,本实用新型提供了如下技术方案:
一种养殖厂禽畜粪便全自动化处理设备,包括烘干腔室、位于烘干腔室上方的进料口、位于烘干腔室下方的出料口,所述烘干腔室内且位于进料口的正下方设置有用于承接禽畜粪便的承料平台,所述承料平台的内部设置有用于对承料平台进行加热以将禽畜粪便烘烤成禽畜粪便块的电阻加热件,所述承料平台与烘干腔室内侧壁之间设置有供禽畜粪便块通过的下料间隙,所述烘干腔室内且位于承料平台上方设置有可与承料平台上禽畜粪便块相抵的摆动板,所述摆动板贯穿设置有若干个下料通孔,所述烘干腔室内侧壁设置有与摆动板连接并驱动摆动板转动以将禽畜粪便块甩入下料间隙处的转动件。
通过采用上述技术方案,当禽畜粪便需要烘干的时候,将禽畜粪便经进料口倒入,倒入的禽畜粪便经下料通孔落在承料平台上,承料平台经电阻加热件加热,并对禽畜粪便进行加热,从而将禽畜粪便烘干成块状的禽畜粪便块,直至禽畜粪便块的表面较为干燥的时候,在摆动板的抵触下在承料平台上滚动,由于离心力的作用,较干燥的禽畜粪便块会被甩入下料间隙,经下料间隙流出,然后汇聚在出料口进行下料,由于电热烘干的方式效果比较直接,而一般表面较为干燥的禽畜粪便块才容易滚动,并进入下料间隙内,从而有效提高禽畜粪便块表面的干燥程度。
进一步地,所述摆动板的底壁设置有若干个可与禽畜粪便块相抵的橡胶棒。
通过采用上述技术方案,当禽畜粪便块较小的时候,橡胶棒可以与之相抵,并借助禽畜粪便块的滚动将甩入下料间隙,另一方面,橡胶棒能够使半固态状的禽畜粪便划成相同大小的体积,经烘烤后的禽畜粪便块体积大致相同,提高施肥时的均匀性。
进一步地,每一所述橡胶棒内均设置有易于橡胶棒变形的变形空腔。
通过采用上述技术方案,变形空腔使橡胶棒更加易于变形,使橡胶棒遇到表面湿度较大禽畜粪便块的时候,湿度较大的禽畜粪便块与承料平台的摩擦力较大,橡胶棒能够产生较大的弯曲,绕过表面湿度较大的禽畜粪便块,从而避免将难以推动的禽畜粪便块过早的推入下料间隙内。
进一步地,所述承料平台朝向烘干腔室内侧壁方向的外侧壁设置有逐渐向下倾斜以使禽畜粪便块滑向烘干室内侧壁的导向面。
通过采用上述技术方案,当禽畜粪便块位于导向面的时候,由于重力作用,逐渐向下滑动,并滚动至烘干腔室的内侧壁处,经烘干腔室内侧壁向下滑动,以减少将禽畜粪便块撞散的情况,另一方面,增大禽畜粪便块与承料平台接触的时间,使禽畜粪便的表面更加的干燥。
进一步地,所述烘干腔室内侧壁且位于承料平台的下方设置有进气通孔,所述烘干腔室外部设置有与进气通孔相通以向烘干腔室内充入气体的正压源。
通过采用上述技术方案,经下料间隙落下的禽畜粪便块进过高速气流的风干,从而进一步提高禽畜分表表面的干燥程度,且承料平台下方处于高温的状态,进气通孔吹出的气体也是高温的气体,此外当禽畜粪便块卡嵌在下料间隙处的时候,经进气通孔吹出的气体会经下料间隙处向上吹动,由于烘干后的禽畜粪便块的质量较轻,从而使卡嵌在下料间隙处的禽畜粪便块晃动,并迅速下落。
进一步地,所述烘干腔室位于承料平台下方的内侧壁设置有呈螺旋状以引导禽畜粪便块螺旋向下滚动的导向轨道。
通过采用上述技术方案,进入导向轨道内的禽畜粪便块呈螺旋向下滚动,大大延长了禽畜粪便块被流动气体吹动的时间,进一步提高禽畜粪便块表面干燥的程度。
进一步地,所述摆动板的边缘向上凸起设置有用于防止摆动板上禽畜粪便被水平甩出的防甩筒。
通过采用上述技术方案,摆动板上方的禽畜粪便较多的时候,防甩筒能够有效防止其水平被摆动板甩出,尽可能使摆动板上的禽畜粪便块经下料通孔落在承料平台上。
综上所述,本实用新型具有以下有益效果:
1、经过高温承料平台的烘烤和进气通孔内气体的风干,从而有效提高禽畜粪便块表面的干燥程度;
2、吹动的气体能够将卡嵌在下料间隙处的禽畜粪便块吹动,并使其迅速下落,防止下料间隙处的堵塞。
附图说明
图1为本实施例的剖面结构示意图;
图2为图1中A部分的放大图。
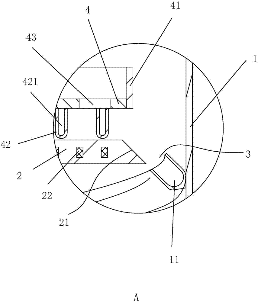
图中:1、烘干腔室;11、导向轨道;12、进料口;13、出料口;14、进气通孔;2、承料平台;21、导向面;22、电阻加热件;3、下料间隙;4、摆动板;41、防甩筒;42、橡胶棒;421、变形空腔;43、下料通孔;5、转动件。
具体实施方式
以下结合附图对本实用新型作进一步详细说明。
本具体实施例仅仅是对本实用新型的解释,其并不是对本实用新型的限制,本领域技术人员在阅读完本说明书后可以根据需要对本实施例做出没有创造性贡献的修改,但只要在本实用新型的权利要求范围内都受到专利法的保护。
实施例:
一种养殖厂禽畜粪便全自动化处理设备,参照图1,其包括烘干腔室1、位于烘干腔室1上方的进料口12、位于烘干腔室1下方的出料口13,烘干腔室1优选为圆柱形的中空腔体,烘干腔室1内且位于进料口12的正下方设置有承料平台2,以承接从进料口12落下呈半固态状的禽畜粪便,承料平台2优选为圆板状结构,承料平台2可以通过若干个钢筋条固定在烘干腔室1内侧壁上。
参照图1和图2,承料平台2的内部设置有电阻加热件22,用于对承料平台2进行加热,以将半固态状的禽畜粪便烘烤呈固态状的禽畜粪便块,电阻加热件22优选为电阻丝,电阻丝的电源线贯穿至烘干腔室1的外部,当电阻丝通电后,即可对承料平台2进行加热。
参照图1和图2,承料平台2与烘干腔室1内侧壁之间设置有供禽畜粪便块通过的下料间隙3,烘干腔室1内且位于承料平台2的上方设置有摆动板4,摆动板4可与承料平台2上禽畜粪便块相抵,摆动板4可以为圆形或方形结构,摆动板4优选为圆形结构,烘干腔室1内侧壁设置有与摆动板4连接并驱动摆动板4转动的转动件5,转动件5优选为电机,电机的转动轴与摆动板4固定连接,当电机通电后,电机的转动轴带动摆动板4转动,摆动板4能够将承料平台2上的禽畜粪便块甩入下料间隙3处,禽畜粪便块经下料间隙3向下移动,直至从出料口13落出;摆动板4上贯穿设置有若干个下料通孔43,以使从进料口12下落的禽畜粪便通过并掉落至承料平台2上,下料通孔43的直径优选为5-8cm,摆动板4与承料平台2之间的距离优选为3-4cm。
参照图1,摆动板4的边缘向上凸起设置有防甩筒41,以用于防止摆动板4上的禽畜粪便白水平甩出,以尽可能使半固态状的禽畜粪便都能掉落在承料平台2上,提高禽畜粪便的烘干效果。
参照图1和图2,摆动板4的底壁设置有若干个可与禽畜粪便块相抵的橡胶棒42,当禽畜粪便块的大小尺寸小于摆动板4与承料平台2之间的距离时,橡胶板能够与尺寸较小的禽畜粪便块相抵,并将其抵出,每一橡胶棒42内均设置有能偶使橡胶棒42易于变形的变形空腔421,提高橡胶棒42的柔韧性,减少橡胶棒42将呈块状的禽畜粪便块打碎。
参照图1和图2,承料平台2朝向烘干腔室1内侧壁方向的外侧壁设置有导向面21,导向面21逐渐向下倾斜,以使禽畜粪便块滑向烘干腔室1内侧壁,烘干腔室1内侧壁且位于承料平台2的下方设置有进气通孔14,烘干腔室1外部设置有正压源,正压源与进气通孔14相通,以向烘干腔室1内充入气体,正压源优选为空气压缩机(图中未示出)。
参照图1和图2,烘干腔室1位于承料平台2下方的内侧壁设置有呈螺旋状的导向轨道11,以用于引导禽畜粪便块螺旋向下滚动,延长禽畜粪便块向下滚动的时间,使禽畜粪便块被承料平台2烘干以后,在烘干腔室1内进行流动气体的风干,导向轨道11优选呈“U”型结构。
工作原理如下:当呈半固态状的禽畜粪便需要烘干处理的时候,启动电机、电阻丝和空气压缩机,然后将呈半固态状的禽畜粪便经进料口12倒入烘干腔室1内,呈半固态状的禽畜粪便竖直落在转动的摆动板4上,然后经下料通孔43落在承料平台2上。
落在承料平台2上的禽畜粪便经承料平台2高温的烘烤,烘干成为块状的禽畜粪便块,由于高温直接对禽畜粪便块进行烘烤,因此有效提高禽畜粪便块表面干燥程度;转动的摆动板4和橡胶棒42与禽畜粪便块相抵,从而将禽畜粪便块不断向周向推动,从而将表面较干燥的禽畜粪便块直接推向导向面21或甩到下料间隙3处,禽畜粪便块移动至导向轨道11内,然后在导向轨道11呈螺旋向下滚动,进气通孔14内的气体不断的吹向烘干腔室1内侧壁,从而进一步对禽畜粪便块表面进行烘干,直至禽畜粪便块经出料口13滚出。
经出料口13滚出的禽畜粪便块的表面较为干燥,禽畜粪便块装袋后,禽畜粪便块之间相互不会粘接,从而避免整袋禽畜粪便块粘固在一起。
技术研发人员:朱江燕
技术所有人:南京绿倡环保科技有限公司
备 注:该技术已申请专利,仅供学习研究,如用于商业用途,请联系技术所有人。
声 明 :此信息收集于网络,如果你是此专利的发明人不想本网站收录此信息请联系我们,我们会在第一时间删除
