一种鱼鳞旋转清理设备及其操作方法

本发明涉及除污,尤其涉及一种鱼鳞旋转清理设备及其操作方法。
背景技术:
1、我国淡水水域辽阔,淡水养殖业非常发达。每年均会产生数量巨大的加工副产物——鱼鳞,鱼鳞最常用的利用方式是烘干磨粉用作饲料,有的甚至直接丢弃,严重造成了自然资源的浪费及环境的污染。然后从水生动物,特别是海鱼中提取抗氧化胶原蛋白或胶原蛋白肽,获取的提取物,在营养、制药和药妆工业中具有巨大的潜力;
2、在鱼鳞清洗的过程中,由于鱼鳞表面附着油脂,导致鱼鳞粘连在一起;在清洗时由于鱼鳞较薄,粘连在一起的鱼鳞较难分离,很难短时间内对每片鱼鳞进行完全清洗,导致鱼鳞清洗效率较低;同时鱼鳞中混合油脂和其他杂质,鱼鳞清洗后排出的废液长时间容易变质发出异味污染环境,亟待解决。
技术实现思路
1、为解决背景技术中存在的技术问题,本发明提出一种鱼鳞旋转清理设备及其操作方法。
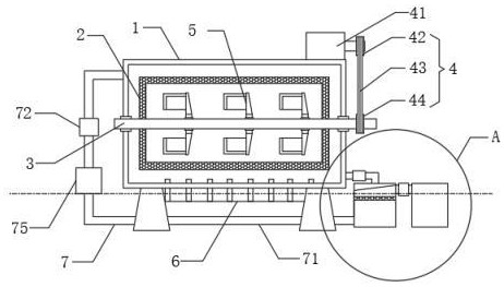
2、本发明提出的一种鱼鳞旋转清理设备,包括机体、网胆、驱动轴、驱动组件、气嘴组件,机体上具有进水口和排水口,进水口与外接水源连通,气嘴组件安装在机体的底部,且与外接气源源连接用于向机体内部输送高压气体;
3、网胆通过驱动轴可旋转的安装在机体内,网胆内具有容纳鱼鳞的空间,驱动组件安装在机体上且与驱动轴传动连接,机体上具有第一换料件,网胆上具有第二换料件,当鱼鳞进入网胆内时,驱动组件驱使网胆旋转以使得鱼鳞在机体内浸泡和清洗。
4、优选的,第一换料件为第一盖板,机体上具有第一换料口,第一盖板转动安装在机体上,第一盖板可转动盖合在机体上对第一换料口形成封堵,第二换料件为第二盖板,网胆上具有第二换料口,第二盖板转动安装在网胆上,第二盖板可转动盖合在网胆上对第二换料口形成封堵。
5、优选的,鱼鳞旋转清理设备还包括多个同类型的清洗组件,多个清洗组件沿着驱动轴轴向均匀布置,且多个清洗组件均位于网胆内,清洗组件包括套环、多个连杆和多个收集罐,套环套设在驱动轴上,每个收集罐均通过连杆固定在套环上,且多个收集罐关于套环环形阵列布置,每个收集罐均具有开口,每个收集罐的底部均具有多个过水孔,多个过水孔与开口相对布置,每个收集罐的内部均设置有多个指向开口的固定杆,且固定杆沿其轴向均匀布置有刷毛,当驱动轴正向旋转时,鱼鳞由开口处进入收集罐内,刷毛对鱼鳞进行刷洗,当驱动轴反向旋转时,粘连的鱼鳞在刷毛的阻碍下分离并从收集罐开口处流出。
6、优选的,存在一个与套环同心的虚拟圆,虚拟圆所在的平面与驱动轴垂直,虚拟圆上存在一点的切线方向与收集罐开口所在平面垂直。
7、优选的,收集罐的开口面积大于底壁面积,收集罐的底部侧壁反向延伸并向外弯曲形成导流部,刷毛沿着固定杆的轴向从收集罐的开口至底壁依次增长,相邻两个固定杆上的刷毛存在交汇点。
8、优选的,收集罐上具有驱动轴轴向垂直的驱动片,驱动片螺旋桨状设置,当驱动轴旋转时,驱动片可驱使网胆内的水沿着驱动轴的轴向流动。
9、优选的,鱼鳞旋转清理设备还包括循环过滤组件,循环过滤组件包括过滤水箱、第一管道、水泵、单向阀,第一管道的两端均与机体内连通,且第一管道进水端高度低于出水端高度,过滤水箱和水泵依次安装在第一管道上,且过滤水箱靠近第一管道的进水端,单向阀装配在第一管道上,且位于第一管道进水端与过滤水箱之间,过滤水箱内具有过滤网。
10、优选的,循环过滤组件还包括缓冲罐和废料收集机构,缓冲罐装配在第一管道上,废料收集机构包括废料收集箱、第二管道、电子阀门,第二管道两端分别装配在过滤水箱和废料收集箱上,电子阀门安装在第二管道上,第二管道的高度大于过滤网的高度,缓冲罐与废料收集箱上下位布置,当水泵关闭时,缓冲罐中的水倒流对过滤网形成冲洗,并使得废料进入废料收集箱内。
11、优选的,第二管道水平设置,第二管道的底壁与缓冲罐的底壁处于同一水平面内。
12、鱼鳞旋转清理设备的操作方法,包括以下步骤:
13、s1、打开第一盖板和第二盖板将鱼鳞放入网胆内,并向机体内注入适当的水,且网胆部分处于水内;
14、s2、启动驱动组件和水泵,驱动组件驱使驱动轴间断正向和反向转动,水泵间断工作;
15、s3、通过气嘴组件向机体内输入高压气体;
16、s4、鱼鳞在网胆内清洗一段时间后,关闭驱动组件和水泵并断开气源;
17、s5、打开第一盖板和第二盖板取出鱼鳞。
18、本发明在网胆内部安装清洗组件,清洗组件中的收集罐内设置有毛刷,收集罐根据清洗组件的转动方向抓取或释放网胆内的鱼鳞,该过程中,刷毛对鱼鳞表面进行刷洗,同时由于刷毛的阻力作用,对粘连在一起的鱼鳞进行分离,可进一步提升鱼鳞清洗的均匀性,同时提升鱼鳞的清洗效率;
19、本发明还设置有循环过滤组件,可以对机体内部的水源进行过滤和净化,保持机体内水源的洁净度,进一步保证鱼鳞的清洗效果,同时循环过滤组件上设置有收集过滤废物的废料收集箱可以对鱼鳞清洗废物进行收集,便于后期处理,可以防止清洗废液污染环境。
技术特征:
1.一种鱼鳞旋转清理设备,其特征在于,包括机体(1)、网胆(2)、驱动轴(3)、驱动组件(4)、气嘴组件(6),机体(1)上具有进水口和排水口,进水口与外接水源连通,气嘴组件(6)安装在机体(1)的底部,且与外接气源源连接用于向机体(1)内部输送高压气体;
2.根据权利要求1所述的一种鱼鳞旋转清理设备,其特征在于,第一换料件为第一盖板(11),机体(1)上具有第一换料口,第一盖板(11)转动安装在机体(1)上,第一盖板(11)可转动盖合在机体(1)上对第一换料口形成封堵,第二换料件为第二盖板(21),网胆(2)上具有第二换料口,第二盖板(21)转动安装在网胆(2)上,第二盖板(21)可转动盖合在网胆(2)上对第二换料口形成封堵。
3.根据权利要求1所述的一种鱼鳞旋转清理设备,其特征在于,还包括多个同类型的清洗组件(5),多个清洗组件(5)沿着驱动轴(3)轴向均匀布置,且多个清洗组件(5)均位于网胆(2)内,清洗组件(5)包括套环(51)、多个连杆(52)和多个收集罐(53),套环(51)套设在驱动轴(3)上,每个收集罐(53)均通过连杆(52)固定在套环(51)上,且多个收集罐(53)关于套环(51)环形阵列布置,每个收集罐(53)均具有开口,每个收集罐(53)的底部均具有多个过水孔(534),多个过水孔(534)与开口相对布置,每个收集罐(53)的内部均设置有多个指向开口的固定杆(532),且固定杆(532)沿其轴向均匀布置有刷毛(533),当驱动轴(3)正向旋转时,鱼鳞由开口处进入收集罐(53)内,刷毛(533)对鱼鳞进行刷洗,当驱动轴(3)反向旋转时,粘连的鱼鳞在刷毛(533)的阻碍下分离并从收集罐(53)开口处流出。
4.根据权利要求3所述的一种鱼鳞旋转清理设备,其特征在于,存在一个与套环(51)同心的虚拟圆,虚拟圆所在的平面与驱动轴(3)垂直,虚拟圆上存在一点的切线方向与收集罐(53)开口所在平面垂直。
5.根据权利要求4所述的一种鱼鳞旋转清理设备,其特征在于,收集罐(53)的开口面积大于底壁面积,收集罐(53)的底部侧壁反向延伸并向外弯曲形成导流部(531),刷毛(533)沿着固定杆(532)的轴向从收集罐(53)的开口至底壁依次增长,相邻两个固定杆(532)上的刷毛存在交汇点。
6.根据权利要求5所述的一种鱼鳞旋转清理设备,其特征在于,收集罐(53)上具有驱动轴(3)轴向垂直的驱动片(535),驱动片(535)螺旋桨状设置,当驱动轴(3)旋转时,驱动片(535)可驱使网胆(2)内的水沿着驱动轴(3)的轴向流动。
7.根据权利要求1所述的一种鱼鳞旋转清理设备,其特征在于,还包括循环过滤组件(7),循环过滤组件(7)包括过滤水箱(73)、第一管道(71)、水泵(72)、单向阀(74),第一管道(71)的两端均与机体(1)内连通,且第一管道(71)进水端高度低于出水端高度,过滤水箱(73)和水泵(72)依次安装在第一管道(71)上,且过滤水箱(73)靠近第一管道(71)的进水端,单向阀(74)装配在第一管道(71)上,且位于第一管道(71)进水端与过滤水箱(73)之间,过滤水箱(73)内具有过滤网(731)。
8.根据权利要求7所述的一种鱼鳞旋转清理设备,其特征在于,循环过滤组件(7)还包括缓冲罐(75)和废料收集机构(76),缓冲罐(75)装配在第一管道(71)上,废料收集机构(76)包括废料收集箱(761)、第二管道(762)、电子阀门(763),第二管道(762)两端分别装配在过滤水箱(73)和废料收集箱(761)上,电子阀门(763)安装在第二管道(762)上,第二管道(762)的高度大于过滤网(731)的高度,缓冲罐(75)与废料收集箱(761)上下位布置,当水泵(72)关闭时,缓冲罐(75)中的水倒流对过滤网(731)形成冲洗,并使得废料进入废料收集箱(761)内。
9.根据权利要求8所述的一种鱼鳞旋转清理设备,特征其在于,第二管道(762)水平设置,第二管道(762)的底壁与缓冲罐(75)的底壁处于同一水平面内。
10.一种鱼鳞旋转清理设备的操作方法,所述方法应用于权利要求1-9任一项所述的清理设备,其特征在于,包括以下步骤:
技术总结
本发明公开了一种鱼鳞旋转清理设备及其操作方法,包括机体、网胆、驱动轴、驱动组件、气嘴组件,气嘴组件安装在机体的底部,且与外接气源源连接;网胆通过驱动轴可旋转的安装在机体内,网胆内具有容纳鱼鳞的空间,驱动组件安装在机体上且与驱动轴传动连接,机体上具有第一换料件,网胆上具有第二换料件;本发明在网胆内部安装清洗组件,清洗组件中的收集罐内设置有毛刷,收集罐根据清洗组件的转动方向抓取或释放网胆内的鱼鳞,该过程中,刷毛对鱼鳞表面进行刷洗,同时由于刷毛的阻力作用,对粘连在一起的鱼鳞进行分离,可进一步提升鱼鳞清洗的均匀性,同时提升鱼鳞的清洗效率。
技术研发人员:陈西广,张欣,程晓杰
受保护的技术使用者:中国海洋大学
技术研发日:
技术公布日:2024/8/26
技术研发人员:陈西广,张欣,程晓杰
技术所有人:中国海洋大学
备 注:该技术已申请专利,仅供学习研究,如用于商业用途,请联系技术所有人。
声 明 :此信息收集于网络,如果你是此专利的发明人不想本网站收录此信息请联系我们,我们会在第一时间删除
