一种快速清理装置的制作方法

本技术涉及肉制品加工,尤其涉及一种快速清理装置。
背景技术:
1、目前肉制品加工的过程中存在需要将肉皮上的毛发清理的工序,现有的清理方式只能满足基础的使用需求,其依然存在下述问题:
2、其一,现有的清理方式存在清理效率低,操作起来费时费力,增加了工人劳动负担的缺陷;
3、其二,现有的清理方式清理过后肉皮上被清理掉的毛发依然会大量粘附在其表面上,进而降低了清理质量,需要工人反复清洗,降低了工作效率。
技术实现思路
1、针对现有技术的不足,本实用新型提供了一种快速清理装置,通过操控结构和毛发清理结构的协同配合,克服了现有技术的不足,有效的解决了现有的毛发清理方式存在清理效率低和清理质量差的问题。
2、为了实现上述目的,本实用新型采用了如下技术方案:
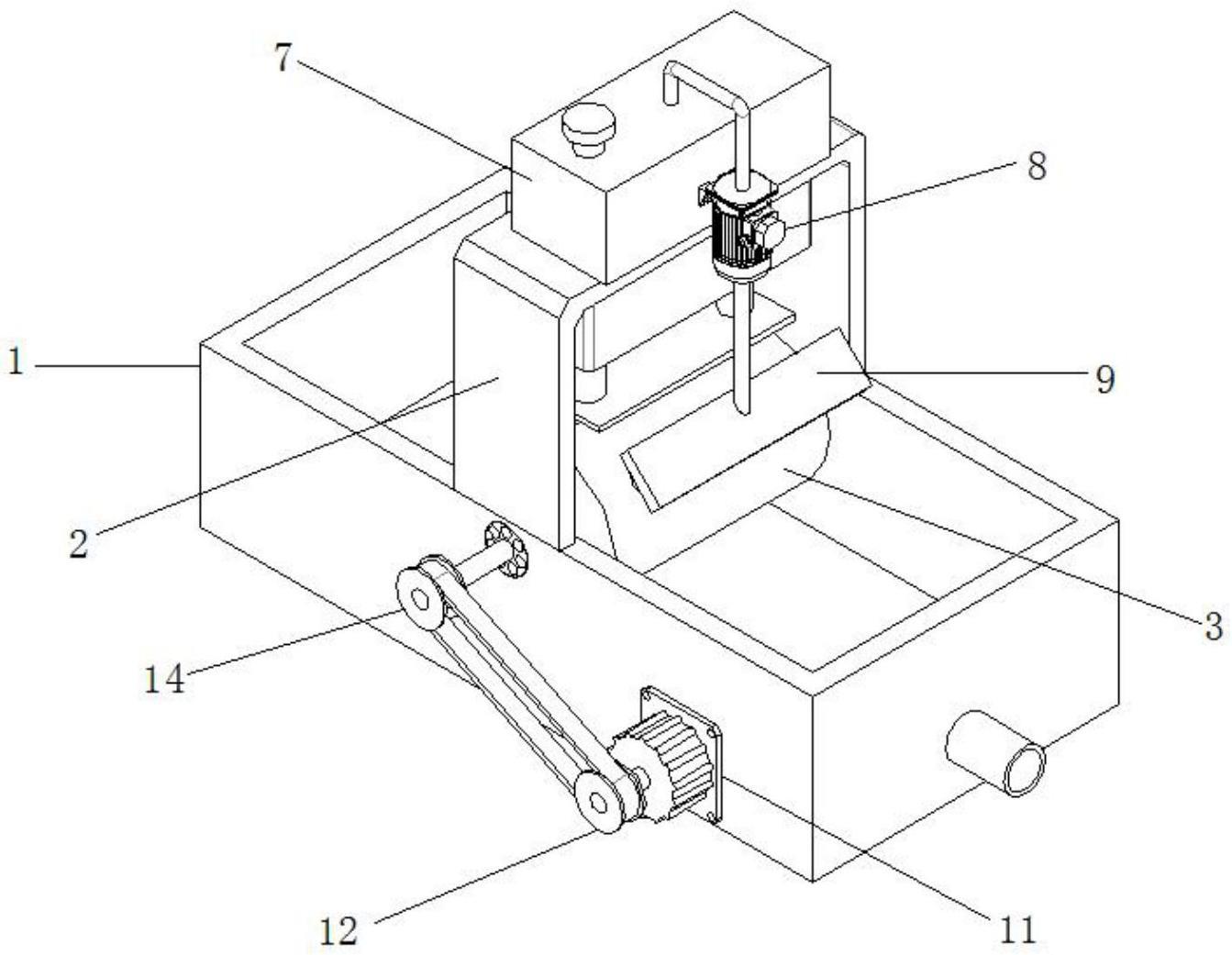
3、一种快速清理装置,包括设有排放管的排放池,所述排放池的顶部中间外壁固设有倒u型机架,倒u型机架上设有毛发清理结构,且排放池的中部通过操控结构连接有转辊,所述毛发清理结构由冲洗组件、固设于倒u型机架顶部外壁的气缸、固设于气缸活塞端的刀座和固设于刀座底部外壁的刮毛刀组成;
4、通过采用上述技术方案,通过气缸控制刮毛刀接触到肉皮表面并随着转辊转动的带动作用,能够自动对肉皮表面上的毛发快速清理掉,提高了清理效率,操作起来省时省力,减轻了工人劳动负担。
5、优选的,所述冲洗组件由固设于倒u型机架顶部外壁的蓄水箱、固设于蓄水箱侧壁的高压水泵、喷淋架和设于喷淋架上均匀分布的高压喷水头组成;
6、所述高压水泵的抽水端通过第一管道与蓄水箱连通,且高压水泵的出水端通过第二管道与喷淋架连通;
7、通过采用上述技术方案,设置有冲洗组件,能够在刮毛刀刮除后,利用均匀分布的高压喷水头喷出的水将大量附着在肉皮表面上的毛发冲洗掉,提高了清理质量,无需后续工人反复清洗,提高了工作效率。
8、优选的,所述操控结构由固设于排放池正面外壁的操控电机、固设于操控电机输出轴上的主动皮带轮、转动安装于排放池中部的传动横轴和固设于传动横轴上的从动皮带轮组成;
9、所述主动皮带轮和从动皮带轮通过同一根皮带传动连接,且转辊固设于传动横轴上;
10、通过采用上述技术方案,便于通过启动操控电机自动控制转辊转动,提高了自动化程度。
11、优选的,所述蓄水箱的顶部设有加注口,且加注口上螺接有密封盖;
12、通过采用上述技术方案,便于定期往蓄水箱内补充水源,保证水源的充足。
13、本实用新型的有益效果为:
14、1、通过气缸控制刮毛刀接触到肉皮表面并随着转辊转动的带动作用,能够自动对肉皮表面上的毛发快速清理掉,提高了清理效率,操作起来省时省力,减轻了工人劳动负担;
15、2、设置有冲洗组件,能够在刮毛刀刮除后,利用均匀分布的高压喷水头喷出的水将大量附着在肉皮表面上的毛发冲洗掉,提高了清理质量,无需后续工人反复清洗,提高了工作效率。
技术特征:
1.一种快速清理装置,包括设有排放管的排放池(1),其特征在于,所述排放池(1)的顶部中间外壁固设有倒u型机架(2),倒u型机架(2)上设有毛发清理结构,且排放池(1)的中部通过操控结构连接有转辊(3),所述毛发清理结构由冲洗组件、固设于倒u型机架(2)顶部外壁的气缸(4)、固设于气缸(4)活塞端的刀座(5)和固设于刀座(5)底部外壁的刮毛刀(6)组成。
2.根据权利要求1所述的一种快速清理装置,其特征在于,所述冲洗组件由固设于倒u型机架(2)顶部外壁的蓄水箱(7)、固设于蓄水箱(7)侧壁的高压水泵(8)、喷淋架(9)和设于喷淋架(9)上均匀分布的高压喷水头(10)组成。
3.根据权利要求1所述的一种快速清理装置,其特征在于,所述操控结构由固设于排放池(1)正面外壁的操控电机(11)、固设于操控电机(11)输出轴上的主动皮带轮(12)、转动安装于排放池(1)中部的传动横轴(13)和固设于传动横轴(13)上的从动皮带轮(14)组成。
4.根据权利要求2所述的一种快速清理装置,其特征在于,所述高压水泵(8)的抽水端通过第一管道与蓄水箱(7)连通,且高压水泵(8)的出水端通过第二管道与喷淋架(9)连通。
5.根据权利要求2所述的一种快速清理装置,其特征在于,所述蓄水箱(7)的顶部设有加注口,且加注口上螺接有密封盖。
6.根据权利要求3所述的一种快速清理装置,其特征在于,所述主动皮带轮(12)和从动皮带轮(14)通过同一根皮带传动连接,且转辊(3)固设于传动横轴(13)上。
技术总结
本技术公开了一种快速清理装置,涉及肉制品加工技术领域,针对现有的毛发清理方式存在清理效率低和清理质量差的问题,现提出如下方案,其包括设有排放管的排放池,所述排放池的顶部中间外壁固设有倒U型机架,倒U型机架上设有毛发清理结构,且排放池的中部通过操控结构连接有转辊。本技术通过气缸控制刮毛刀接触到肉皮表面并随着转辊转动的带动作用,能够自动对肉皮表面上的毛发快速清理掉,提高了清理效率,操作起来省时省力,减轻了工人劳动负担;设置有冲洗组件,能够在刮毛刀刮除后,利用均匀分布的高压喷水头喷出的水将大量附着在肉皮表面上的毛发冲洗掉,提高了清理质量,无需后续工人反复清洗,提高了工作效率。
技术研发人员:冯涛
受保护的技术使用者:北川县禹露茶业有限公司
技术研发日:20221115
技术公布日:2024/1/13
技术研发人员:冯涛
技术所有人:北川县禹露茶业有限公司
备 注:该技术已申请专利,仅供学习研究,如用于商业用途,请联系技术所有人。
声 明 :此信息收集于网络,如果你是此专利的发明人不想本网站收录此信息请联系我们,我们会在第一时间删除
