一种胶水遮挡装置的制作方法

本技术是一种胶水遮挡装置,属于干式复合机领域。
背景技术:
1、干法复合工艺,就是涂胶后将胶液中的溶剂通过加热排气的方法使其充分干燥,然后在“干的”状况下进行复合,干式复合机在使用时需要使用遮挡装置来将胶水进行阻挡,避免胶水对周围环境造成影响;市面上的遮挡装置由遮挡板、滑块、底板和胶水槽等结构组成,在干式复合机在胶水滴落时由遮挡板对出液部进行保护,这时遮挡板内侧的胶水一部分会粘黏在其内壁,一部分会沿着胶水槽向下滴落,从而在使用后需要人工对遮挡板进行清洁,同时清洁的过程中胶水会粘黏在皮肤表面对皮肤造成损伤,也降低干式复合机的实用性。
技术实现思路
1、针对现有技术存在的不足,本实用新型目的是提供一种胶水遮挡装置,以解决上述背景技术中提出的问题,本实用新型能够将干式复合机使用时喷溅的胶水进行清洁。
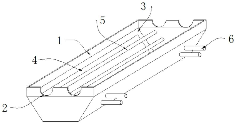
2、为了实现上述目的,本实用新型是通过如下的技术方案来实现:一种胶水遮挡装置,包括保护挡板和调节组件,所述保护挡板的表面两侧开设有卡合槽,所述保护挡板的内侧安装有侧挡板,用于快速清洁侧挡板的所述调节组件设置于保护挡板的内侧底部,且调节组件包括电动机、旋转杆、保护底座、连接件、固定杆、刮板、移动座和清洁毛刷,所述电动机的输出端设置有旋转杆,且电动机的下方安装有保护底座,所述旋转杆的表面设置有连接件,且连接件的内侧连接有固定杆,所述固定杆的下端安装有刮板,且固定杆的上端设置有移动座,所述移动座的左右两侧设置有清洁毛刷。
3、进一步地,所述侧挡板的表面设置有连接垫板,所述连接垫板的前方表面安装有支撑杆。
4、进一步地,所述保护挡板的外部右侧设置有卡合柱,且卡合柱的横向中轴线和保护挡板的竖直中轴线相垂直。
5、进一步地,所述保护挡板的内部左右两侧设置有安装板,且安装板的内侧设置有支撑架。
6、进一步地,两个所述支撑架之间设置有用于快速更换的连接组件,且连接组件包括连接背板和气缸,所述连接背板的内侧设置有气缸。
7、进一步地,所述连接组件还包括折叠板和拆卸式橡胶板,所述气缸的输出端连接有折叠板,两个所述折叠板之间安装有拆卸式橡胶板。
8、进一步地,所述连接背板的横向中轴线和拆卸式橡胶板的横向中轴线相重合,且连接背板呈“c”字型。
9、本实用新型的有益效果:本实用新型的一种胶水遮挡装置,
10、调节组件的设置在干式复合机进行使用时通过控制终端促使电动机开始工作,电动机工作时产生的作用力促使旋转杆工作,其次连接件将固定杆和旋转杆相连接,这样在连接后当旋转杆转动时固定杆也随之进行调整,从而在调整的过程中移动座带动清洁毛刷来将侧挡板上粘附的胶水向下清洁,接着在清洁的过程中刮板也同步将胶水清洁,有利于避免胶水出现溅出的现象,也能够胶水凝固在侧挡板上影响后续的使用。
11、卡合柱在保护挡板进行安装时卡合槽和卡合柱与其进行安装,这样能够在长时间使用后来装置拆卸进行检修,能够有效的避免干式复合机使用时出现故障,从而能够延长设备的使用寿命。
12、连接组件通过控制终端促使气缸开始共工作,气缸工作时产生的作用力促使折叠板根据需求进行长度的调整,这样在以适用于不同规格的拆卸式橡胶板,接着在干式复合机进行使用后可将拆卸式橡胶板进行更换。
技术特征:
1.一种胶水遮挡装置,包括保护挡板(1)和调节组件(7),其特征在于:所述保护挡板(1)的表面两侧开设有卡合槽(2),所述保护挡板(1)的内侧安装有侧挡板(3),用于快速清洁侧挡板(3)的所述调节组件(7)设置于保护挡板(1)的内侧底部,且调节组件(7)包括电动机(701)、旋转杆(702)、保护底座(703)、连接件(704)、固定杆(705)、刮板(706)、移动座(707)和清洁毛刷(708),所述电动机(701)的输出端设置有旋转杆(702),且电动机(701)的下方安装有保护底座(703),所述旋转杆(702)的表面设置有连接件(704),且连接件(704)的内侧连接有固定杆(705),所述固定杆(705)的下端安装有刮板(706),且固定杆(705)的上端设置有移动座(707),所述移动座(707)的左右两侧设置有清洁毛刷(708)。
2.根据权利要求1所述的一种胶水遮挡装置,其特征在于:所述侧挡板(3)的表面设置有连接垫板(4),所述连接垫板(4)的前方表面安装有支撑杆(5)。
3.根据权利要求1所述的一种胶水遮挡装置,其特征在于:所述保护挡板(1)的外部右侧设置有卡合柱(6),且卡合柱(6)的横向中轴线和保护挡板(1)的竖直中轴线相垂直。
4.根据权利要求1所述的一种胶水遮挡装置,其特征在于:所述保护挡板(1)的内部左右两侧设置有安装板(8),且安装板(8)的内侧设置有支撑架(9)。
5.根据权利要求4所述的一种胶水遮挡装置,其特征在于:两个所述支撑架(9)之间设置有用于快速更换的连接组件(10),且连接组件(10)包括连接背板(1001)和气缸(1002),所述连接背板(1001)的内侧设置有气缸(1002)。
6.根据权利要求5所述的一种胶水遮挡装置,其特征在于:所述连接组件(10)还包括折叠板(1003)和拆卸式橡胶板(1004),所述气缸(1002)的输出端连接有折叠板(1003),两个所述折叠板(1003)之间安装有拆卸式橡胶板(1004)。
7.根据权利要求6所述的一种胶水遮挡装置,其特征在于:所述连接背板(1001)的横向中轴线和拆卸式橡胶板(1004)的横向中轴线相重合,且连接背板(1001)呈“c”字型。
技术总结
本技术提供一种胶水遮挡装置,包括保护挡板和调节组件,所述保护挡板的表面两侧开设有卡合槽,所述保护挡板的内侧安装有侧挡板,用于快速清洁侧挡板的所述调节组件设置于保护挡板的内侧底部,且调节组件包括电动机、旋转杆、保护底座、连接件、固定杆、刮板、移动座和清洁毛刷,与现有技术相比,本技术具有如下的有益效果:连接组件通过控制终端促使气缸开始共工作,气缸工作时产生的作用力促使折叠板根据需求进行长度的调整,这样在以适用于不同规格的拆卸式橡胶板,接着在干式复合机进行使用后可将拆卸式橡胶板进行更换。
技术研发人员:张长江,杨过昊,谷延锋
受保护的技术使用者:河南德鲁特包装材料有限公司
技术研发日:20240312
技术公布日:2024/9/2
技术研发人员:张长江,杨过昊,谷延锋
技术所有人:河南德鲁特包装材料有限公司
备 注:该技术已申请专利,仅供学习研究,如用于商业用途,请联系技术所有人。
声 明 :此信息收集于网络,如果你是此专利的发明人不想本网站收录此信息请联系我们,我们会在第一时间删除
