烟片分选装置和松散回潮机出料系统的制作方法

本申请涉及烟草加工设备,特别涉及一种烟片分选装置和松散回潮机出料系统。
背景技术:
1、在烟草加工过程中,需要松散回潮工序以便于后道工序的加工。松散回潮工序的主要工艺任务是对烟片进行松散,将大块的烟片松散成卷烟工序中所需要的烟片,并提高烟片的含水率。但由于一些片烟被压得比较实,导致无法被完全松散开来,不可避免地会出现未被彻底松散的烟片,这些未被彻底松散的烟片形成块状片烟(以下也称烟块),掺杂在已经松散完全的松散烟片中。块状片烟易导致水分吸收不均匀,叶组配方不均匀,这部分片烟进入到后道工序加工时,对卷烟的产品质量将产生不良影响。
2、上述陈述仅用于提供与本申请有关的背景技术信息,而不必然地构成现有技术。
技术实现思路
1、本申请的目的在于提供一种烟片分选装置和松散回潮机出料系统,旨在解决因烟块掺杂在松散烟片中导致叶组配方不均匀而对卷烟的产品质量产生不良影响的问题。
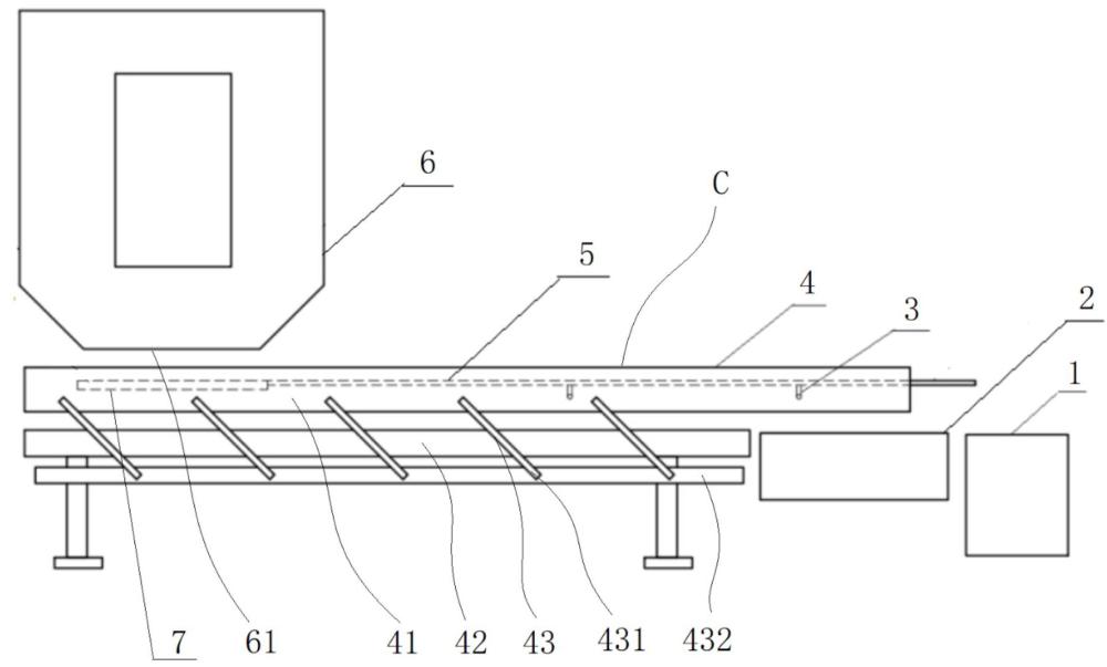
2、本申请第一方面提供一种烟片分选装置,用于分选待分选烟片,包括:
3、分选筛,包括筛选部,所述筛选部包括筛口,所述分选筛被配置为从所述分选筛的第一端接收所述待分选烟片,使所述待分选烟片从所述分选筛的第一端向所述分选筛的第二端输送,且输送过程中使所述待分选烟片中的松散烟片从所述筛选部的所述筛口落至所述分选筛的下方,使所述待分选烟片中的烟块从所述分选筛的第二端输出以离开所述分选装置;和
4、振动输送机,包括料槽,所述料槽的槽底间隔地设置于所述分选筛的下方,所述料槽被配置为接收落至所述分选筛的下方的所述松散烟片,并将所述松散烟片从所述料槽输出以离开所述分选装置。
5、在一些实施例的烟片分选装置中,
6、所述烟片分选装置还包括铺平装置,所述铺平装置被配置为接收并铺平所述待分选烟片;
7、所述分选筛设置于所述铺平装置的下游,被配置为从所述分选筛的第一端接收从所述铺平装置输出的铺平的所述待分选烟片。
8、在一些实施例的烟片分选装置中,所述铺平装置包括与所述分选筛的第一端连接的铺平板。
9、在一些实施例的烟片分选装置中,所述料槽的第一端和第二端分别位于所述分选筛的第一端与第二端下方,所述料槽被配置将所述松散烟片从所述料槽的所述第二端输出以离开所述分选装置,所述分选筛的第二端比所述料槽的第二端朝向远离所述分选筛的第一端的一侧突出。
10、在一些实施例的烟片分选装置中,所述分选筛的第二端的端面垂直于所述分选筛的输送方向,所述料槽的第二端的端面相对于所述料槽的输送方向具有小于90度的夹角。
11、在一些实施例的烟片分选装置中,所述分选筛固定设置于所述料槽内。
12、在一些实施例的烟片分选装置中,所述料槽的侧壁高于所述筛选部的筛选表面。
13、在一些实施例的烟片分选装置中,
14、所述分选筛固定设置于所述料槽内;和/或
15、所述铺平装置与所述分选筛固定连接;和/或
16、所述铺平装置固定设置于所述料槽内。
17、在一些实施例的烟片分选装置中,所述分选筛的筛选部由从所述分选筛的第一端延伸至第二端的多个筛选杆组成,所述多个筛选杆平行间隔地布置于同一平面上,相邻的所述筛选杆之间的间隔形成所述筛选部的所述筛孔。
18、在一些实施例的烟片分选装置中,所述烟片分选装置还包括支撑架,所述支撑架连接于所述料槽上并间隔地设置于所述料槽的底壁上方,所述筛选部支撑于所述支撑架上,所述支撑架避让所述筛孔。
19、在一些实施例的烟片分选装置中,所述支撑架与所述筛选部的各所述筛选杆连接。
20、在一些实施例的烟片分选装置中,所述支撑架包括支撑杆和多个连接杆,所述支撑杆间隔地设置于所述筛选部的下方及所述料槽的底壁上方,所述支撑杆的两端分别连接于所述料槽的两侧壁上,所述多个连接杆与所述多个筛选杆对应设置,各所述连接杆连接于所述支撑杆和对应的所述筛选杆之间并避让所述筛孔。
21、在一些实施例的烟片分选装置中,所述烟片分选装置包括多个所述支撑架,所述多个支撑架从所述分选筛的第一端至第二端间隔布置。
22、本申请第二方面提供一种松散回潮机出料系统,包括:
23、松散回潮机,包括出料罩,所述出料罩具有出料口;
24、本申请第一方面所述的烟片分选装置,所述烟片分选装置位于所述松散回潮机的下游,被配置为从所述出料口接收松散回潮后的烟片作为待分选烟片;
25、第一承接装置,位于所述烟片分选装置下游,被配置为接收从所述分选筛的第二端输出所述分选装置的所述烟块;和
26、第二承接装置,位于所述烟片分选装置下游,被配置为接收从所述料槽的第二端输出所述分选装置的松散烟片。
27、基于本申请提供的烟片分选装置,在振动输送机的料槽的底壁上方设置了分选筛,可以使烟块与分散烟片分别从分选筛和振动输送机的料槽输出烟片分选装置,从而实现从待分选烟片中剔除烟块,提高卷烟的产品质量。
28、松散回潮机出料系统包括本申请的烟片分选装置,从而具有本申请的烟片分选装置具有的优点。
29、通过以下参照附图对本申请的示例性实施例的详细描述,本申请的其它特征及其优点将会变得清楚。
技术特征:
1.一种烟片分选装置(c),用于分选待分选烟片,其特征在于,包括:
2.根据权利要求1所述的烟片分选装置(c),其特征在于,
3.根据权利要求2所述的烟片分选装置(c),其特征在于,所述铺平装置(7)包括与所述分选筛(5)的第一端连接的铺平板(71)。
4.根据权利要求1所述的烟片分选装置(c),其特征在于,所述料槽(41)的第一端和第二端分别位于所述分选筛(5)的第一端与第二端下方,所述料槽(41)被配置将所述松散烟片从所述料槽(41)的所述第二端输出以离开所述分选装置(c),所述分选筛(5)的第二端比所述料槽(41)的第二端朝向远离所述分选筛(5)的第一端的一侧突出。
5.根据权利要求1所述的烟片分选装置(c),其特征在于,所述分选筛(5)的第二端的端面垂直于所述分选筛(5)的输送方向,所述料槽(41)的第二端的端面相对于所述料槽(41)的输送方向具有小于90度的夹角。
6.根据权利要求1所述的烟片分选装置(c),其特征在于,所述分选筛(5)固定设置于所述料槽(41)内。
7.根据权利要求1所述的烟片分选装置(c),其特征在于,所述料槽(41)的侧壁高于所述筛选部(51)的筛选表面。
8.根据权利要求2所述的烟片分选装置(c),其特征在于,
9.根据权利要求1所述的烟片分选装置(c),其特征在于,所述分选筛(5)的筛选部(51)由从所述分选筛(5)的第一端延伸至第二端的多个筛选杆(511)组成,所述多个筛选杆(511)平行间隔地布置于同一平面上,相邻的所述筛选杆(511)之间的间隔形成所述筛选部(51)的所述筛孔(512)。
10.根据权利要求9所述的烟片分选装置(c),其特征在于,还包括支撑架(3),所述支撑架(3)连接于所述料槽(41)上并间隔地设置于所述料槽(41)的底壁上方,所述筛选部(51)支撑于所述支撑架(3)上,所述支撑架(3)避让所述筛孔(512)。
11.根据权利要求10所述的烟片分选装置(c),其特征在于,所述支撑架(3)与所述筛选部(51)的各所述筛选杆(511)连接。
12.根据权利要求11所述的烟片分选装置(c),其特征在于,所述支撑架(3)包括支撑杆(31)和多个连接杆(32),所述支撑杆(31)间隔地设置于所述筛选部(51)的下方及所述料槽(41)的底壁上方,所述支撑杆(31)的两端分别连接于所述料槽(41)的两侧壁上,所述多个连接杆(32)与所述多个筛选杆(511)对应设置,各所述连接杆(32)连接于所述支撑杆(31)和对应的所述筛选杆(511)之间并避让所述筛孔(32)。
13.根据权利要求10所述的烟片分选装置(c),其特征在于,所述烟片分选装置(c)包括多个所述支撑架(3),所述多个支撑架(3)从所述分选筛(5)的第一端至第二端间隔布置。
14.一种松散回潮机出料系统,其特征在于,包括:
技术总结
本申请提供一种烟片分选装置和松散回潮机出料系统。烟片分选装置用于分选待分选烟片,包括:分选筛,包括筛选部,筛选部包括筛口,分选筛被配置为从分选筛的第一端接收待分选烟片,使待分选烟片从分选筛的第一端向分选筛的第二端输送,且输送过程中使待分选烟片中的松散烟片从筛选部的筛口落至分选筛的下方,使待分选烟片中的烟块从分选筛的第二端输出以离开分选装置;和振动输送机,包括料槽,料槽的槽底间隔地设置于分选筛的下方,料槽被配置为接收落至分选筛的下方的松散烟片,并将松散烟片从料槽输出以离开分选装置。
技术研发人员:林天勤,卢清芳,郭榕华,陈满金,林豫璋,张炜,黄松,苏兴亮
受保护的技术使用者:龙岩烟草工业有限责任公司
技术研发日:
技术公布日:2024/9/2
技术研发人员:林天勤,卢清芳,郭榕华,陈满金,林豫璋,张炜,黄松,苏兴亮
技术所有人:龙岩烟草工业有限责任公司
备 注:该技术已申请专利,仅供学习研究,如用于商业用途,请联系技术所有人。
声 明 :此信息收集于网络,如果你是此专利的发明人不想本网站收录此信息请联系我们,我们会在第一时间删除
