一种带有筛筒防堵结构的筛分机的制作方法

本发明涉及饲料加工,具体为一种带有筛筒防堵结构的筛分机。
背景技术:
1、养殖是指培育和繁殖动植物。养殖包括家畜养殖、家禽养殖、水产养殖和特种养殖等种类,养殖的家畜需要喂食饲料,饲料在使用前需要通过饲料筛分机进行筛。
2、在饲料筛分过程中,由于各种原因,如物料中的杂质,会导致饲料筛分机的筛筒出现堵塞的现象,进而影响其正常工作,导致饲料中的杂质无法进行很好的剔除,降低了饲料的整体质量,同时造成堵塞的筛筒需要工作人员进行清理,增强了劳动力的同时还严重影响了饲料筛分的效率,降低了工作效率,为此,提出一种带有筛筒防堵结构的筛分机。
技术实现思路
1、基于此,本发明的目的是提供一种带有筛筒防堵结构的筛分机,以解决上述背景中提出的技术问题。
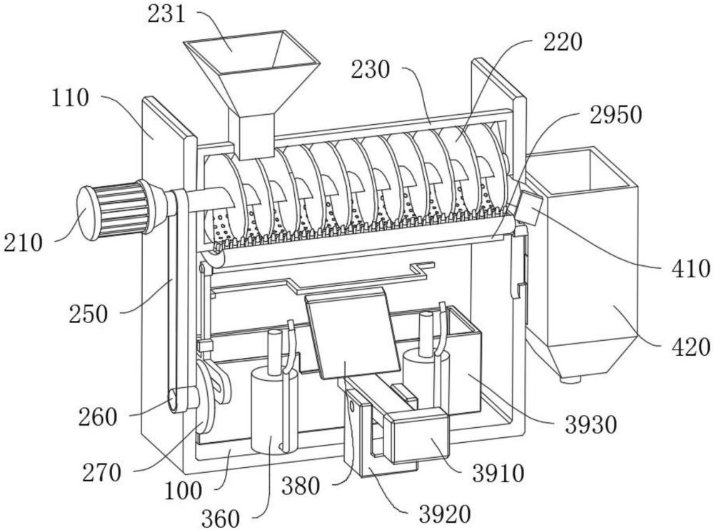
2、为实现上述目的,本发明提供如下技术方案:一种带有筛筒防堵结构的筛分机,包括底板,所述底板顶端两侧焊接有竖板,两组所述竖板之间设有防堵组件,所述防堵组件正下方设有清理组件,所述竖板一侧设有升降组件,所述防堵组件包括固定连接于竖板一侧的伺服电机,所述伺服电机输出端固定连接有绞龙,所述绞龙表面转动连接有筛筒,且绞龙表面一端转动连接有皮带,所述皮带内壁远离绞龙的一端转动有连接轴,所述连接轴的一端贯穿于竖板并焊接有圆盘,所述圆盘远离连接轴的一端固定连接有圆轴,所述圆轴表面滑动连接有移动块,所述移动块顶端焊接有竖杆,所述竖杆一侧转动连接有支撑板,所述支撑板顶端固定连接有弧形板,所述弧形板顶端固定连接有若干组顶柱。
3、作为本发明的一种带有筛筒防堵结构的筛分机优选技术方案,所述竖杆内部上端与支撑板内部旋转连接有一组转动轴,所述转动轴内部一端开设有两组弹簧凹槽,所述弹簧凹槽内部设有限位弹簧,所述限位弹簧一端固定连接有活动板,所述活动板远离限位弹簧的一端转动连接有滚珠,所述竖杆一侧开设有吻合滚珠的卡槽。
4、作为本发明的一种带有筛筒防堵结构的筛分机优选技术方案,所述筛筒顶端一侧设有进料口,所述筛筒底端开设有若干组吻合顶柱的漏槽,且筛筒与竖板固定连接。
5、作为本发明的一种带有筛筒防堵结构的筛分机优选技术方案,所述竖杆前后端均滑动连接有限位块,所述限位块与竖板固定连接,所述限位弹簧远离活动板的一端与转动轴固定连接,所述活动板与转动轴滑动连接。
6、作为本发明的一种带有筛筒防堵结构的筛分机优选技术方案,所述清理组件包括固定连接于竖杆一侧的按压杆,所述按压杆正下方的两侧均设有活塞杆,所述活塞杆底端固定连接有活塞,且活塞杆表面套设有连接弹簧,所述活塞表面滑动连接有活塞筒。
7、作为本发明的一种带有筛筒防堵结构的筛分机优选技术方案,所述活塞筒表面一侧设有连接管,所述连接管远离活塞筒的一端连接有弧形伸缩管,所述弧形伸缩管远离连接管的一端与弧形板抵接。
8、作为本发明的一种带有筛筒防堵结构的筛分机优选技术方案,所述弧形板正下方设有斜板,所述斜板底端固定连接有转动板,所述转动板底端转动连接有固定座,且转动板远离斜板的一端固定连接有配重块,所述固定座一侧设有固定连接于底板顶端的收集箱。
9、作为本发明的一种带有筛筒防堵结构的筛分机优选技术方案,所述活塞筒与底板固定连接,所述固定座内部固定连接有基杆,所述基杆与转动板旋转连接。
10、作为本发明的一种带有筛筒防堵结构的筛分机优选技术方案,所述升降组件包括固定连接于筛筒一侧的接料板,所述接料板一端贯穿于竖板并固定连接有储存箱,所述转动轴远离竖杆的一端转动连接有横轴,所述横轴一端贯穿于储存箱一侧并固定连接有升降轴。
11、作为本发明的一种带有筛筒防堵结构的筛分机优选技术方案,储存箱内部一侧固定连接有伸缩块,所述伸缩块顶端与横轴固定连接,所述横轴内部转动连接有旋转轴,所述旋转轴与转动轴固定连接,所述储存箱底端设有出料口,所述出料口一侧安装有电磁阀门。
12、综上所述,本发明主要具有以下有益效果:
13、1、本发明通过将饲料从进料口倒入至筛筒内部,启动伺服电机,带动绞龙进行旋转,在绞龙的作用下对筛筒内的饲料进行输送,在输送的同时饲料中的一些杂质通过漏槽掉落进行筛分,有效地提高了饲料生产后的整体质量,绞龙转动的同时带动皮带转动,使弧形板带动顶柱插入漏槽内,对漏槽内部进行疏通,有效地防止对杂质进行剔除使造成筛筒堵塞的情况,避免了工作人员需要对装置进行停机清理的情况发生,进一步提高了工作效率,同时对饲料杂质机芯进行筛分时更加高效。
14、2、本发明通过弧形伸缩管持续伸出推动弧形板进行转动,弧形板在转动轴的作用下进行旋转,杂质掉落至收集箱内部集中进行处理,有效地防止杂质散落在工作区域,导致工作环境脏乱,定期集中清理可以保持工作区域的整洁,提高工作环境的质量,同时也有助于提升员工的工作效率和积极性。
15、3、本发明通过支撑板带动转动轴的往复升降,使转动轴通过横轴带动升降轴进行移动,使升降轴对出料口位置进行往复升降,防止对饲料进行接取时造成出料口的堵塞。
技术特征:
1.一种带有筛筒防堵结构的筛分机,包括底板(100),其特征在于:所述底板(100)顶端两侧焊接有竖板(110),两组所述竖板(110)之间设有防堵组件(200),所述防堵组件(200)正下方设有清理组件(300),所述竖板(110)一侧设有升降组件(400),所述防堵组件(200)包括固定连接于竖板(110)一侧的伺服电机(210),所述伺服电机(210)输出端固定连接有绞龙(220),所述绞龙(220)表面转动连接有筛筒(230),且绞龙(220)表面一端转动连接有皮带(250),所述皮带(250)内壁远离绞龙(220)的一端转动有连接轴(260),所述连接轴(260)的一端贯穿于竖板(110)并焊接有圆盘(270),所述圆盘(270)远离连接轴(260)的一端固定连接有圆轴(271),所述圆轴(271)表面滑动连接有移动块(280),所述移动块(280)顶端焊接有竖杆(290),所述竖杆(290)一侧转动连接有支撑板(2950),所述支撑板(2950)顶端固定连接有弧形板(2960),所述弧形板(2960)顶端固定连接有若干组顶柱(2970)。
2.根据权利要求1所述的一种带有筛筒防堵结构的筛分机,其特征在于:所述竖杆(290)内部上端与支撑板(2950)内部旋转连接有一组转动轴(2910),所述转动轴(2910)内部一端开设有两组弹簧凹槽(2911),所述弹簧凹槽(2911)内部设有限位弹簧(2920),所述限位弹簧(2920)一端固定连接有活动板(2930),所述活动板(2930)远离限位弹簧(2920)的一端转动连接有滚珠(2940),所述竖杆(290)一侧开设有吻合滚珠(2940)的卡槽(2941)。
3.根据权利要求1所述的一种带有筛筒防堵结构的筛分机,其特征在于:所述筛筒(230)顶端一侧设有进料口(231),所述筛筒(230)底端开设有若干组吻合顶柱(2970)的漏槽(240),且筛筒(230)与竖板(110)固定连接。
4.根据权利要求2所述的一种带有筛筒防堵结构的筛分机,其特征在于:所述竖杆(290)前后端均滑动连接有限位块(291),所述限位块(291)与竖板(110)固定连接,所述限位弹簧(2920)远离活动板(2930)的一端与转动轴(2910)固定连接,所述活动板(2930)与转动轴(2910)滑动连接。
5.根据权利要求1所述的一种带有筛筒防堵结构的筛分机,其特征在于:所述清理组件(300)包括固定连接于竖杆(290)一侧的按压杆(310),所述按压杆(310)正下方的两侧均设有活塞杆(320),所述活塞杆(320)底端固定连接有活塞(330),且活塞杆(320)表面套设有连接弹簧(340),所述活塞(330)表面滑动连接有活塞筒(350)。
6.根据权利要求5所述的一种带有筛筒防堵结构的筛分机,其特征在于:所述活塞筒(350)表面一侧设有连接管(360),所述连接管(360)远离活塞筒(350)的一端连接有弧形伸缩管(370),所述弧形伸缩管(370)远离连接管(360)的一端与弧形板(2960)抵接。
7.根据权利要求6所述的一种带有筛筒防堵结构的筛分机,其特征在于:所述弧形板(2960)正下方设有斜板(380),所述斜板(380)底端固定连接有转动板(390),所述转动板(390)底端转动连接有固定座(3920),且转动板(390)远离斜板(380)的一端固定连接有配重块(3910),所述固定座(3920)一侧设有固定连接于底板(100)顶端的收集箱(3930)。
8.根据权利要求7所述的一种带有筛筒防堵结构的筛分机,其特征在于:所述活塞筒(350)与底板(100)固定连接,所述固定座(3920)内部固定连接有基杆(3921),所述基杆(3921)与转动板(390)旋转连接。
9.根据权利要求2所述的一种带有筛筒防堵结构的筛分机,其特征在于:所述升降组件(400)包括固定连接于筛筒(230)一侧的接料板(410),所述接料板(410)一端贯穿于竖板(110)并固定连接有储存箱(420),所述转动轴(2910)远离竖杆(290)的一端转动连接有横轴(430),所述横轴(430)一端贯穿于储存箱(420)一侧并固定连接有升降轴(440)。
10.根据权利要求9所述的一种带有筛筒防堵结构的筛分机,其特征在于:储存箱(420)内部一侧固定连接有伸缩块(431),所述伸缩块(431)顶端与横轴(430)固定连接,所述横轴(430)内部转动连接有旋转轴(432),所述旋转轴(432)与转动轴(2910)固定连接,所述储存箱(420)底端设有出料口(421),所述出料口(421)一侧安装有电磁阀门(422)。
技术总结
本发明公开了一种带有筛筒防堵结构的筛分机,涉及饲料加工技术领域,包括底板,所述底板顶端两侧焊接有竖板,两组所述竖板之间设有防堵组件,所述防堵组件正下方设有清理组件。本发明通过将饲料从进料口倒入至筛筒内部,启动伺服电机,带动绞龙进行旋转,在绞龙的作用下对筛筒内的饲料进行输送,在输送的同时饲料中的一些杂质通过漏槽掉落进行筛分,有效地提高了饲料生产后的整体质量,绞龙转动的同时带动皮带转动,使弧形板带动顶柱插入漏槽内,对漏槽内部进行疏通,有效地防止对杂质进行剔除使造成筛筒堵塞的情况,避免了工作人员需要对装置进行停机清理的情况发生,进一步提高了工作效率,同时对饲料杂质机芯进行筛分时更加高效。
技术研发人员:谢正军,吴建东,栾兆双
受保护的技术使用者:萍乡双胞胎饲料有限公司
技术研发日:
技术公布日:2024/9/2
技术研发人员:谢正军,吴建东,栾兆双
技术所有人:萍乡双胞胎饲料有限公司
备 注:该技术已申请专利,仅供学习研究,如用于商业用途,请联系技术所有人。
声 明 :此信息收集于网络,如果你是此专利的发明人不想本网站收录此信息请联系我们,我们会在第一时间删除
