一种机械化育种选种装置的制作方法

本技术涉及农业生产,具体为一种机械化育种选种装置。
背景技术:
1、农业生产中,育种选种是指通过选择和筛选以培育出更适应特定环境和需求的优良品种,现有的育种选种装置,可以辅助人工进行优良品种的选择和筛选,机械化育种选种装置通过自动化和精确的方式,快速地进行大规模的遗传育种试验、品种筛选和选种工作,可以帮助农业科学家和育种专家高效地进行品种选育和筛选工作,以改良农作物的性状和品质,加快新品种的培育速度。
2、经检索,公告号为cn212418721u的专利公开了一种新型的小麦育种用选种装置,该方案的有益效果是:小麦育种用选种装置通过在上料口的左侧设置放置台,在放置台上设置丝杆等组件,从而可以将尼龙袋放置到放置台上并固定在推板上,通过丝杆驱动推板从左至右移动,使推板推动尼龙袋向上料口处靠近,方便尼龙袋内部的小麦种进入上料口内部,提高上料效率。
3、但是该装置缺少筛分机构,由于育种的颗粒大小不同,且育种中存在大量杂质,使用者在对其进行选取,只能进行单次筛分,较小的育种会连同颗粒杂质一同落入箱体的底部,由于较小的育种同样可以使用,使用者需要对滤板进行更换,从而进行二次筛分,进而降低了工作效率。
4、为解决上述问题,一种机械化育种选种装置,亟待开发。
技术实现思路
1、本实用新型的目的在于提供一种机械化育种选种装置,具备筛分效率高的优点,解决了上述背景技术中提出的问题。
2、为实现上述目的,本实用新型提供如下技术方案:
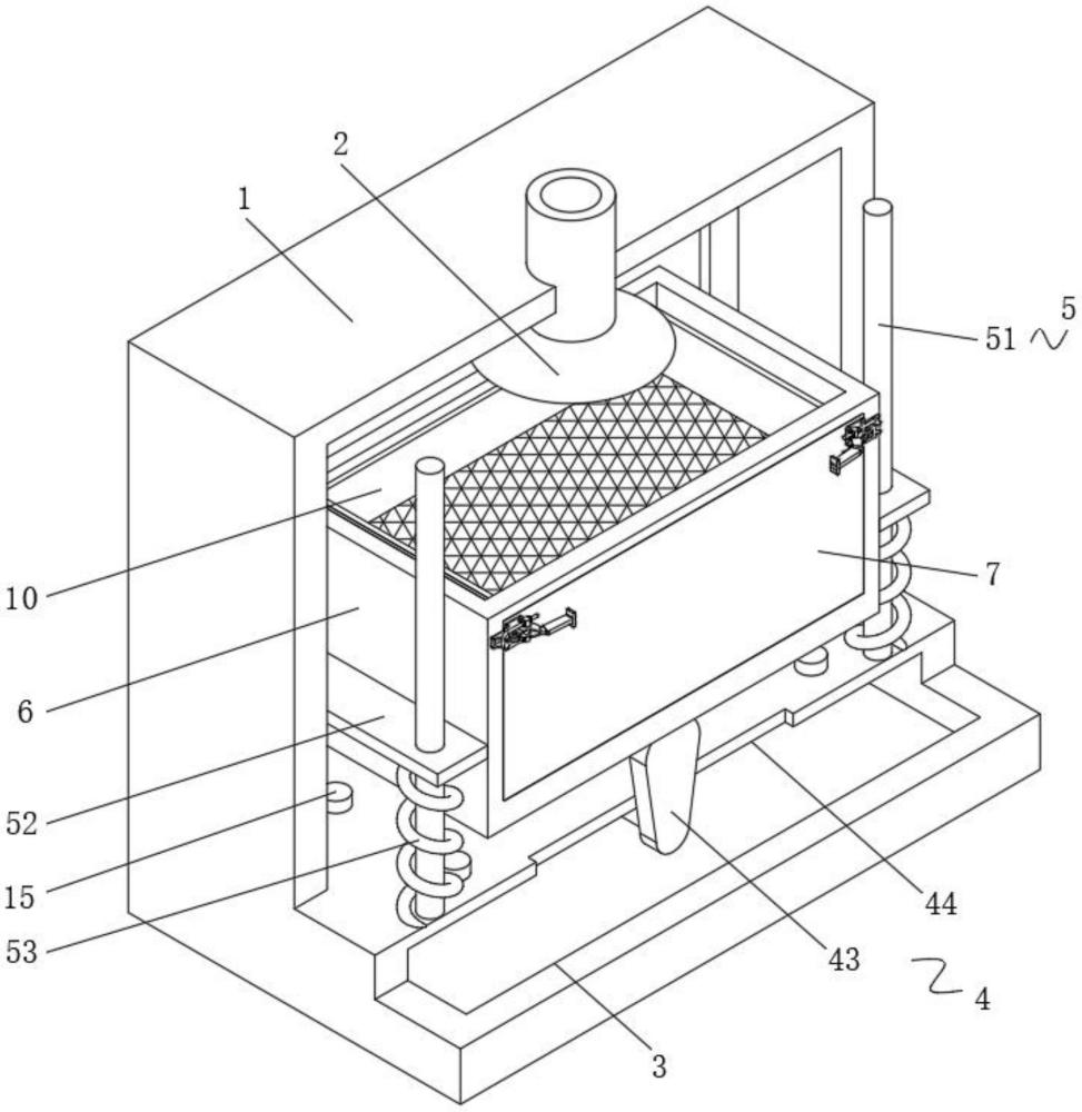
3、一种机械化育种选种装置,包括箱体,所述箱体的顶部连通有进料管,所述箱体的内部开设有空腔,所述空腔内腔的底部固定连接有驱动机构,所述箱体内腔底部的两侧均固定连接有导向机构,所述箱体的内腔设置有储料箱,所述储料箱的正表面转动连接有箱门,所述箱门内腔的两侧均固定连接有固定块二,所述固定块二的一侧滑动连接有两个限位块,上方所述两个限位块相对的一侧固定连接有过滤箱一,下方所述两个限位块相对的一侧固定连接有过滤箱二。
4、作为上述方案的进一步描述,所述储料箱正表面的两侧均固定连接有搭钩,所述箱门正表面的两侧均固定连接有把手,所述搭钩与把手相适配。
5、作为上述方案的进一步描述,所述驱动机构包含有固定连接于空腔内腔底部的双轴电机,所述双轴电机的两个输出轴均固定连接有短杆,所述短杆的一侧固定连接有固定块一,所述空腔内腔顶部的开设有两个通槽,所述固定块一位于通槽的内腔。
6、作为上述方案的进一步描述,所述双轴电机的表面套设有安装座,所述安装座顶部的两侧均螺纹连接有螺栓,所述双轴电机与箱体通过螺栓可拆卸连接。
7、作为上述方案的进一步描述,所述导向机构包含有固定连接于箱体内腔底部两侧的两个长杆,两个长杆的表面滑动连接有方形板,所述方形板的一侧与储料箱固定连接,所述长杆的表面套设有拉簧,所述拉簧的两端分别与箱体和方形板固定连接。
8、作为上述方案的进一步描述,所述箱体内腔底部的四角均固定连接有防撞垫,所述防撞垫的形状为圆形。
9、作为上述方案的进一步描述,所述箱体底部的四角均固定连接有支撑腿,四个支撑腿呈对称设置。
10、与现有技术相比,本实用新型的有益效果如下:
11、本实用新型具备筛分效率高的优点,在实际使用过程中,通过驱动机构的设置,能够带动储料箱进行升降,从而使得过滤箱一和过滤箱二进行移动,通过过滤箱一和过滤箱二的配合使用,起到了对育种进行多次筛分的作用,无需使用者进行多次操作,提高了使用者的工作效率,通过导向机构的设置,起到了对储料箱进行导向的作用,提高了储料箱在移动时的稳定性,使得储料箱在移动时不易发生晃动,解决了由于育种的颗粒大小不同,且育种中存在大量杂质,使用者在对其进行选取,只能进行单次筛分,较小的育种会连同颗粒杂质一同落入箱体的底部,由于较小的育种同样可以使用,使用者需要对滤板进行更换,从而进行二次筛分,进而降低了工作效率的问题。
技术特征:
1.一种机械化育种选种装置,包括箱体(1),其特征在于;所述箱体(1)的顶部连通有进料管(2),所述箱体(1)的内部开设有空腔(3),所述空腔(3)内腔的底部固定连接有驱动机构(4),所述箱体(1)内腔底部的两侧均固定连接有导向机构(5),所述箱体(1)的内腔设置有储料箱(6),所述储料箱(6)的正表面转动连接有箱门(7),所述箱门(7)内腔的两侧均固定连接有固定块二(8),所述固定块二(8)的一侧滑动连接有两个限位块(9),上方所述两个限位块(9)相对的一侧固定连接有过滤箱一(10),下方所述两个限位块(9)相对的一侧固定连接有过滤箱二(11)。
2.根据权利要求1所述的一种机械化育种选种装置,其特征在于:所述储料箱(6)正表面的两侧均固定连接有搭钩(12),所述箱门(7)正表面的两侧均固定连接有把手(13),所述搭钩(12)与把手(13)相适配。
3.根据权利要求1所述的一种机械化育种选种装置,其特征在于:所述驱动机构(4)包含有固定连接于空腔(3)内腔底部的双轴电机(41),所述双轴电机(41)的两个输出轴均固定连接有短杆(42),所述短杆(42)的一侧固定连接有固定块一(43),所述空腔(3)内腔顶部的开设有两个通槽(44),所述固定块一(43)位于通槽(44)的内腔。
4.根据权利要求3所述的一种机械化育种选种装置,其特征在于:所述双轴电机(41)的表面套设有安装座(14),所述安装座(14)顶部的两侧均螺纹连接有螺栓,所述双轴电机(41)与箱体(1)通过螺栓可拆卸连接。
5.根据权利要求1所述的一种机械化育种选种装置,其特征在于:所述导向机构(5)包含有固定连接于箱体(1)内腔底部两侧的两个长杆(51),两个长杆(51)的表面滑动连接有方形板(52),所述方形板(52)的一侧与储料箱(6)固定连接,所述长杆(51)的表面套设有拉簧(53),所述拉簧(53)的两端分别与箱体(1)和方形板(52)固定连接。
6.根据权利要求1所述的一种机械化育种选种装置,其特征在于:所述箱体(1)内腔底部的四角均固定连接有防撞垫(15),所述防撞垫(15)的形状为圆形。
7.根据权利要求1所述的一种机械化育种选种装置,其特征在于:所述箱体(1)底部的四角均固定连接有支撑腿(16),四个支撑腿(16)呈对称设置。
技术总结
本技术公开了一种机械化育种选种装置,包括箱体,所述箱体的顶部连通有进料管,所述箱体的内部开设有空腔,所述空腔内腔的底部固定连接有驱动机构,所述箱体内腔底部的两侧均固定连接有导向机构,所述箱体的内腔设置有储料箱。本技术具备筛分效率高的优点,在实际使用过程中,通过驱动机构的设置,能够带动储料箱进行升降,从而使得过滤箱一和过滤箱二进行移动,通过过滤箱一和过滤箱二的配合使用,起到了对育种进行多次筛分的作用,无需使用者进行多次操作,提高了使用者的工作效率,通过导向机构的设置,起到了对储料箱进行导向的作用,提高了储料箱在移动时的稳定性,使得储料箱在移动时不易发生晃动。
技术研发人员:赵金宝,李勇
受保护的技术使用者:霍邱县银泰农业科技服务有限公司
技术研发日:20240108
技术公布日:2024/9/2
技术研发人员:赵金宝,李勇
技术所有人:霍邱县银泰农业科技服务有限公司
备 注:该技术已申请专利,仅供学习研究,如用于商业用途,请联系技术所有人。
声 明 :此信息收集于网络,如果你是此专利的发明人不想本网站收录此信息请联系我们,我们会在第一时间删除
