一种智能消防灭火用自动调压控制设备的制作方法

本发明属于智能消防灭火,具体涉及一种智能消防灭火用自动调压控制设备。
背景技术:
1、消防栓为消防器材的一种,消防栓的一端压力大于0.5mpa时,需要用到自动调压装置。
2、中国专利申请号为202123287226.9公开了一种智能消防灭火用自动调压控制设备,属于智能消防灭火领域,包括底座,所述底座的顶部固定安装有调压箱体和消防栓本体,所述消防栓本体的内壁上固定安装有一号压力感应器,所述调压箱体和消防栓本体之间通过连接管固定连接,所述连接管的外部固定安装有电磁阀门,所述调压箱体的内部分为设备腔和调压腔,所述设备腔的内部固定安装有控制器,所述调压箱体的一侧固定安装有警报器;通过设置缓冲机构,可以在自动调压控制设备进行调压时,将调节时产生的冲击力进行缓冲,避免了设备内部长时间被调压时的压力冲撞,会使得装置容易发生损坏的问题,从而提高了设备的使用寿命。
3、上述公开专利中,通过缓冲板对水流实施拦截的方式进行降压,仅通过缓冲板阻挡导致调压效果一般,消防栓在安装使用过程中,无法对外界的冲击等干扰因素实施抵御,导致装置的使用安全性较低。
技术实现思路
1、为解决上述背景技术中提出的问题。本发明提供了一种智能消防灭火用自动调压控制设备,具有调压效果好,安全性高的特点。
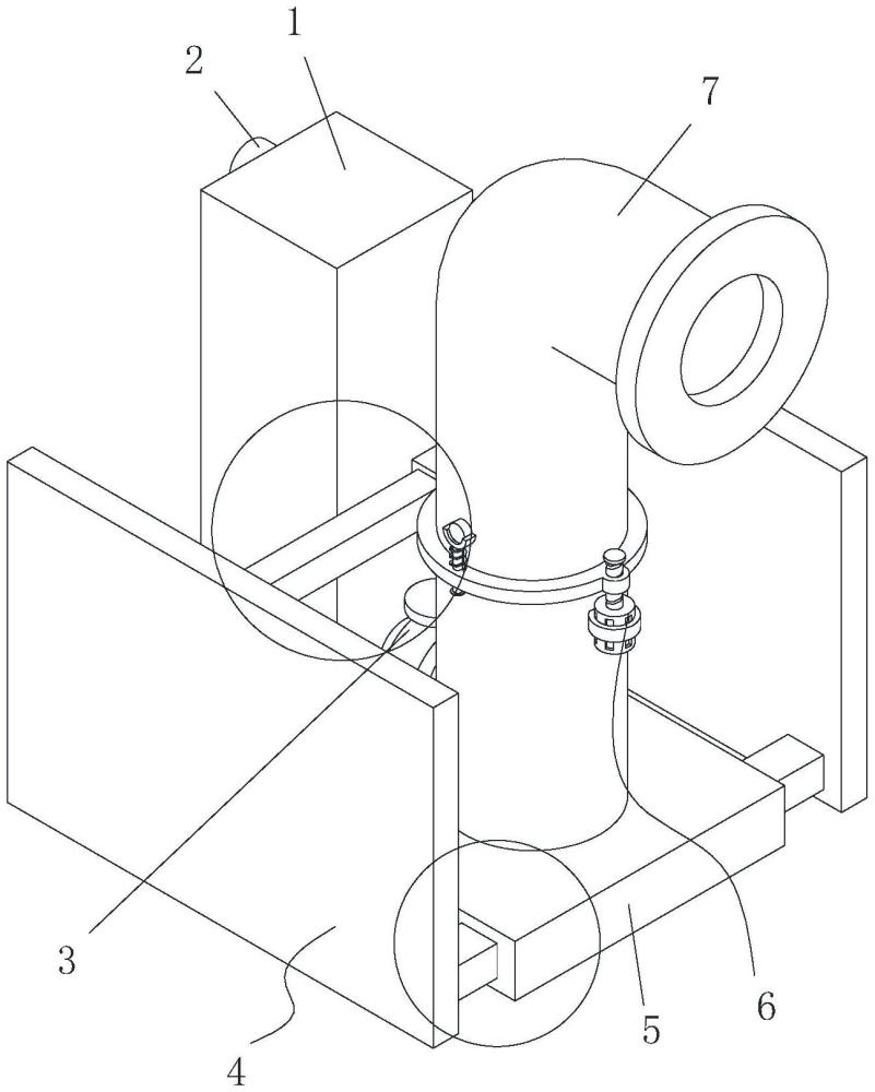
2、为实现上述目的,本发明提供如下技术方案:一种智能消防灭火用自动调压控制设备,包括底座,所述底座的侧面开设有防护组件,底座的顶部安装有消防栓本体,消防栓本体的内部嵌有调压组件,消防栓本体的侧面连接有控制阀,控制阀的侧面连接有警报器,警报器的侧面设置有调压箱体。
3、优选的,所述调压组件包括有减速叶、转轴和辅助组件,其中,消防栓本体的内部嵌有转轴,转轴的表面连接有减速叶,转轴的侧端连接有辅助组件,转轴的表面与消防栓本体的内转动槽之间紧密贴合。
4、优选的,所述消防栓本体内部的转轴表面套有定位块,定位块呈圆环状结构。
5、优选的,所述辅助组件包括有转动块、减速板、升降环、电机、螺杆和伸缩杆,其中,转轴的两端均连接有转动块,消防栓本体的表面设置有电机,电机的顶部连接有螺杆,螺杆的表面套有升降环,升降环的内部嵌有伸缩杆,伸缩杆的顶端连接有减速板。
6、优选的,所述减速板呈半圆环状结构,减速板的表面与转动块外侧之间紧密贴合。
7、优选的,所述升降环顶部的伸缩杆表面套有弹簧二,伸缩杆与减速板之间为伸缩式结构,伸缩杆呈t形帽杆状结构。
8、优选的,所述防护组件包括有防护板、滑块、弹簧一和滑槽,其中,底座的两侧均开设有两个滑槽,滑槽的内部嵌有弹簧一,弹簧一的侧面连接有滑块,滑块的侧面连接有防护板。
9、优选的,所述滑块的表面与滑槽的内壁之间紧密贴合,一侧滑块的侧面连接有连接杆,另一侧滑块的侧面连接有连接套。
10、与现有技术相比,本发明的有益效果是:
11、1、本发明通过设置调压组件,定位块起到限位作用,在转轴与消防栓本体之间的转动连接下,减速叶受到水流冲击可发生转动消耗动能,从而减缓水流的流速降低水压。
12、2、本发明通过设置辅助组件,电机驱动螺杆旋转,在螺杆与升降环之间的啮合连接下,可控制升降环限位升降移动调节减速板与转动块之间的摩擦力。
13、3、本发明通过设置防护组件,滑块与滑槽之间限位滑动,在弹簧一的形变作用下可使防护板很好的抵御外界的冲击,进而使装置的使用安全性更高,连接杆与连接套之间滑动限位可使防护板的稳定性更高、抵御效果更好。
技术特征:
1.一种智能消防灭火用自动调压控制设备,包括底座,其特征在于:所述底座的侧面开设有防护组件,底座的顶部安装有消防栓本体,消防栓本体的内部嵌有调压组件,消防栓本体的侧面连接有控制阀,控制阀的侧面连接有警报器,警报器的侧面设置有调压箱体。
2.根据权利要求1所述的一种智能消防灭火用自动调压控制设备,其特征在于:所述调压组件包括有减速叶、转轴和辅助组件,其中,消防栓本体的内部嵌有转轴,转轴的表面连接有减速叶,转轴的侧端连接有辅助组件,转轴的表面与消防栓本体的内转动槽之间紧密贴合。
3.根据权利要求2所述的一种智能消防灭火用自动调压控制设备,其特征在于:所述消防栓本体内部的转轴表面套有定位块,定位块呈圆环状结构。
4.根据权利要求2所述的一种智能消防灭火用自动调压控制设备,其特征在于:所述辅助组件包括有转动块、减速板、升降环、电机、螺杆和伸缩杆,其中,转轴的两端均连接有转动块,消防栓本体的表面设置有电机,电机的顶部连接有螺杆,螺杆的表面套有升降环,升降环的内部嵌有伸缩杆,伸缩杆的顶端连接有减速板。
5.根据权利要求4所述的一种智能消防灭火用自动调压控制设备,其特征在于:所述减速板呈半圆环状结构,减速板的表面与转动块外侧之间紧密贴合。
6.根据权利要求4所述的一种智能消防灭火用自动调压控制设备,其特征在于:所述升降环顶部的伸缩杆表面套有弹簧二,伸缩杆与减速板之间为伸缩式结构,伸缩杆呈t形帽杆状结构。
7.根据权利要求1所述的一种智能消防灭火用自动调压控制设备,其特征在于:所述防护组件包括有防护板、滑块、弹簧一和滑槽,其中,底座的两侧均开设有两个滑槽,滑槽的内部嵌有弹簧一,弹簧一的侧面连接有滑块,滑块的侧面连接有防护板。
8.根据权利要求7所述的一种智能消防灭火用自动调压控制设备,其特征在于:所述滑块的表面与滑槽的内壁之间紧密贴合,一侧滑块的侧面连接有连接杆,另一侧滑块的侧面连接有连接套。
技术总结
本发明公开了一种智能消防灭火用自动调压控制设备,属于智能消防灭火技术领域,包括底座,所述底座的侧面开设有防护组件,底座的顶部安装有消防栓本体,消防栓本体的内部嵌有调压组件,本发明通过设置调压组件,转轴与消防栓本体之间的转动连接下,减速叶受到水流冲击可发生转动消耗动能,从而减缓水流的流速降低水压;本发明通过设置辅助组件,电机驱动螺杆旋转,在螺杆与升降环之间的啮合连接下,可控制升降环限位升降移动调节减速板与转动块之间的摩擦力;本发明通过设置防护组件,滑块与滑槽之间限位滑动,在弹簧一的形变作用下可使防护板很好的抵御外界的冲击,进而使装置的使用安全性更高。
技术研发人员:杨国平,戴前进,戴晴,李贯利
受保护的技术使用者:九重门建设工程设计(江苏)有限公司
技术研发日:
技术公布日:2024/9/2
技术研发人员:杨国平,戴前进,戴晴,李贯利
技术所有人:九重门建设工程设计(江苏)有限公司
备 注:该技术已申请专利,仅供学习研究,如用于商业用途,请联系技术所有人。
声 明 :此信息收集于网络,如果你是此专利的发明人不想本网站收录此信息请联系我们,我们会在第一时间删除
