一种可变刚度浮式风机塔筒缩尺模型及其刚度调节方法与流程

本发明属于浮式风机模型试验领域,尤其涉及一种可变刚度浮式风机塔筒缩尺模型及其刚度调节方法。
背景技术:
1、本部分的陈述仅仅是提供了与本发明相关的背景技术信息,不必然构成在先技术。
2、目前分析浮式风机的动力学性能的理论方法往往建立在众多假设和简化的前提下,这可能导致计算的浮式风机的动力性能与实际浮式风机产生偏差。因此,进行浮式风机的模型试验显得尤为必要。
3、在浮式风机水池模型试验中,塔筒起到了承载风轮和机舱,并将两者与浮式平台连接,其自身需要承受风荷载,还需应对波浪力以及波浪飞溅引起的冲击力。在水池模型试验中,为了满足重量要求,塔筒缩尺模型通常采用刚度较低、质量较轻的铝材料。更重要的是,传统的缩尺模型一旦加工完成,则刚度不可调节。塔筒的一阶振动频率是其刚度的函数,若在制作完成后塔筒缩尺模型的一阶振动频率不符合试验要求,也无法对其进行更改,否则将损坏试验模型。
技术实现思路
1、为了解决上述背景技术中存在的技术问题,本发明提供一种可变刚度浮式风机塔筒缩尺模型及其刚度调节方法,其能够在确保满足几何相似准则以及准确的模拟塔影效应的前提下,可根据试验要求调节塔筒刚度,使得塔筒的一阶振动频率满足试验要求。
2、为了实现上述目的,本发明采用如下技术方案:
3、本发明的第一个方面提供一种可变刚度浮式风机塔筒缩尺模型。
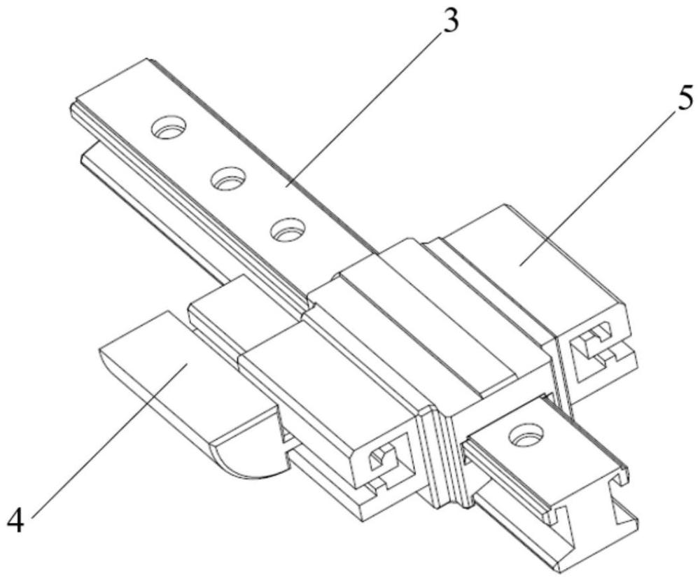
4、一种可变刚度浮式风机塔筒缩尺模型,其包括塔筒主体、塔筒合页、滑轨、刚度模块及滑块;
5、所述塔筒主体为实际浮式风机塔筒的缩尺模型;所述塔筒主体沿纵向分成第一塔筒主体部分和第二塔筒主体部分;所述第一塔筒主体部分和第二塔筒主体部分的一端通过塔筒合页固定连接,另一端可绕塔筒合页开合;
6、所述滑轨纵向固定在塔筒主体的内壁上;所述刚度模块固定在滑块上,所述滑块可沿所述滑轨运动。
7、作为一种实施方式,所述滑块侧面设置有公卡槽,所述刚度模块的侧面设置有母卡槽,所述母卡槽与公卡槽匹配连接。
8、上述技术方案的优点在于,这样能够方便滑块与刚度模块之间的可拆卸连接,提高后续浮式风机塔筒缩尺模型的刚度调节效率。
9、作为一种实施方式,所述刚度模块的外形为与塔筒主体内径相匹配的半圆锥形结构。
10、上述技术方案的优点在于,这样减少刚度模块安装时的摩擦。
11、作为一种实施方式,所述滑轨的顶端设有开口,所述滑块的滑动接口从所述开口滑入到滑轨中。
12、其中,开口形状可以为半圆形、稍微扁平的u形或者t形,允许滑块的滑动接口从顶部滑入到滑轨中。
13、作为一种实施方式,所述滑轨与塔筒主体的内壁采用螺纹连接固定。
14、上述技术方案的优点在于,这样一方面能够实现滑轨与塔筒主体的内壁的稳定连接,还能够利用滑轨多余螺孔处插入固定螺栓,实现滑块在滑轨上的位置固定。
15、作为一种实施方式,所述滑块通过锁定元件与滑轨固定锁止。
16、上述技术方案的优点在于,这样能够便于后续塔筒主体的刚度验证。
17、作为一种实施方式,所述滑轨与塔筒主体的内壁之间设置有缓冲元件。
18、上述技术方案的优点在于,这样可以有效吸收振动,保护滑轨连接的稳定性。
19、作为一种实施方式,所述滑轨为长直条形状。
20、上述技术方案的优点在于,这样沿着塔筒主体内壁的垂直方向分布,更贴合实际,提高浮式风机塔筒缩尺模型的刚度调节方法所得到结果的准确性。
21、作为一种实施方式,所述滑轨的数量至少一条;当滑轨的数量至少为两条时,滑轨均匀分布在塔筒主体的内壁上。
22、上述技术方案的优点在于,这样更贴合实际,提高浮式风机塔筒缩尺模型的刚度调节方法所得到结果的准确性。
23、本发明的第二个方面提供一种采用如上述所述的可变刚度浮式风机塔筒缩尺模型的刚度调节方法。
24、一种采用如上述所述的可变刚度浮式风机塔筒缩尺模型的刚度调节方法,其包括:
25、根据实际浮式风机塔筒主体的已知尺寸,制备其缩尺模型,即塔筒主体;
26、将与塔筒主体内壁形状相匹配、长度和承载能力符合刚度调节需求的滑轨安装在塔筒主体内壁上;
27、自滑轨上端的开口,将连接刚度模块的滑块自上而下地装入塔筒主体内部的滑轨中,再将刚度模块锁定在目标位置上;
28、对安装完毕的塔筒主体进行刚度验证,根据塔筒主体的实际刚度与设计刚度要求之间的差异,调整刚度模块的刚度模块的数量或位置,直至塔筒主体的刚度完全符合试验要求。
29、作为一种实施方式,若塔筒主体实际刚度超过设计刚度要求,则减少刚度模块的或调整刚度模块至其他位置来降低刚度;
30、若塔筒主体的实际刚度小于设计刚度要求,则增加刚度模块的数量或调整刚度模块至其他位置。
31、上述技术方案的优点在于,通过安装模块化刚度单元(由刚度模块与滑块构成),调节模块化刚度单元的安装位置和尺寸大小,调节浮式风机塔筒缩尺模型的刚度,解决了塔筒结构刚度不满足试验要求的问题。
32、本发明的有益效果是:
33、本发明提出了一种可调刚度的浮式风机塔筒缩尺模型及其刚度调节方法,在确保满足几何相似准则以及准确的模拟塔影效应的前提下,利用刚度模块与滑块配合,使得滑块沿滑轨运动,通过塔筒主体的实际刚度与设计刚度要求之间的差异,调整刚度模块的刚度模块的数量或位置,进而实现塔筒主体刚度可调,解决了传统的缩尺模型加工完成,刚度不可调的问题。
34、本发明附加方面的优点将在下面的描述中部分给出,部分将从下面的描述中变得明显,或通过本发明的实践了解到。
技术特征:
1.一种可变刚度浮式风机塔筒缩尺模型,其特征在于,包括塔筒主体、塔筒合页、滑轨、刚度模块及滑块;
2.如权利要求1所述的可变刚度浮式风机塔筒缩尺模型,其特征在于,所述滑块侧面设置有公卡槽,所述刚度模块的侧面设置有母卡槽,所述母卡槽与公卡槽匹配连接。
3.如权利要求1所述的可变刚度浮式风机塔筒缩尺模型,其特征在于,所述刚度模块的外形为与塔筒主体内径相匹配的半圆锥形结构。
4.如权利要求1所述的可变刚度浮式风机塔筒缩尺模型,其特征在于,所述滑轨的顶端设有开口,所述滑块的滑动接口从所述开口滑入到滑轨中。
5.如权利要求1所述的可变刚度浮式风机塔筒缩尺模型,其特征在于,所述滑轨与塔筒主体的内壁采用螺纹连接固定。
6.如权利要求1所述的可变刚度浮式风机塔筒缩尺模型,其特征在于,所述滑块通过锁定元件与滑轨固定锁止。
7.如权利要求1所述的可变刚度浮式风机塔筒缩尺模型,其特征在于,所述滑轨与塔筒主体的内壁之间设置有缓冲元件;或所述滑轨为长直条形状。
8.如权利要求1所述的可变刚度浮式风机塔筒缩尺模型,其特征在于,所述滑轨的数量至少一条;当滑轨的数量至少为两条时,滑轨均匀分布在塔筒主体的内壁上。
9.一种采用如权利要求1-8中任一项所述的可变刚度浮式风机塔筒缩尺模型的刚度调节方法,其特征在于,包括:
10.如权利要求9所述刚度调节方法,其特征在于,若塔筒主体实际刚度超过设计刚度要求,则减少刚度模块的或调整刚度模块至其他位置来降低刚度;
技术总结
本发明属于浮式风机模型试验领域,提供了一种可变刚度浮式风机塔筒缩尺模型及其刚度调节方法。其中,可变刚度浮式风机塔筒缩尺模型包括塔筒主体、塔筒合页、滑轨、刚度模块及滑块;所述塔筒主体为实际浮式风机塔筒的缩尺模型;所述塔筒主体沿纵向分成第一塔筒主体部分和第二塔筒主体部分;所述第一塔筒主体部分和第二塔筒主体部分的一端通过塔筒合页固定连接,另一端可绕塔筒合页开合;所述滑轨纵向固定在塔筒主体的内壁上;所述刚度模块固定在滑块上,所述滑块可沿所述滑轨运动。
技术研发人员:杨华,刘龙辉,张洪达,王勇,安杰,亓乐,马刚,张浩,杨可新,李天昊
受保护的技术使用者:山东电力工程咨询院有限公司
技术研发日:
技术公布日:2024/9/2
技术研发人员:杨华,刘龙辉,张洪达,王勇,安杰,亓乐,马刚,张浩,杨可新,李天昊
技术所有人:山东电力工程咨询院有限公司
备 注:该技术已申请专利,仅供学习研究,如用于商业用途,请联系技术所有人。
声 明 :此信息收集于网络,如果你是此专利的发明人不想本网站收录此信息请联系我们,我们会在第一时间删除
