储藏库、电器产品以及储藏库系统的生产方法与流程

本公开涉及一种储藏库、电器产品以及储藏库系统的生产方法。
背景技术:
1、虽然一直以来使用使用过的树脂的再生材料(再生树脂),但由于对“可持续的开发目标”(sdgs)的关注的提高,正在尝试增大家电产品中的再生树脂的使用量。专利文献1的权利要求1中记载了“一种再生树脂成形品,其特征在于,具备:再生材料,其将使用过的产品分解或者解体,并将回收的塑料部件熔融并再生;树脂成形品,其使用将所述再生材料成形而得到的再循环树脂材料作为外观设计零件或者外观零件;以及再生零件,其在所述树脂成形品上显示由所述再生材料制造的所述树脂成形品的重量,并以能够再生的方式组装于产品。”。
2、现有技术文献
3、专利文献
4、专利文献1:日本特开2006-150946号公报
技术实现思路
1、发明所要解决的课题
2、专利文献1中记载了将塑料制零件的再生树脂用于冰箱的箱内收纳盒(第0035段)。再生树脂通常包括在再生过程中生成或者混入的异物。但是,在专利文献1所记载的技术中,只不过记载了使异物不可见的技术,没有考虑以使异物可见为前提。
3、本公开所要解决的课题在于,提供一种储藏库、电器产品以及储藏库系统的生产方法,即使在实际观察到异物的情况下也不易给使用者带来不适感。
4、用于解决课题的方案
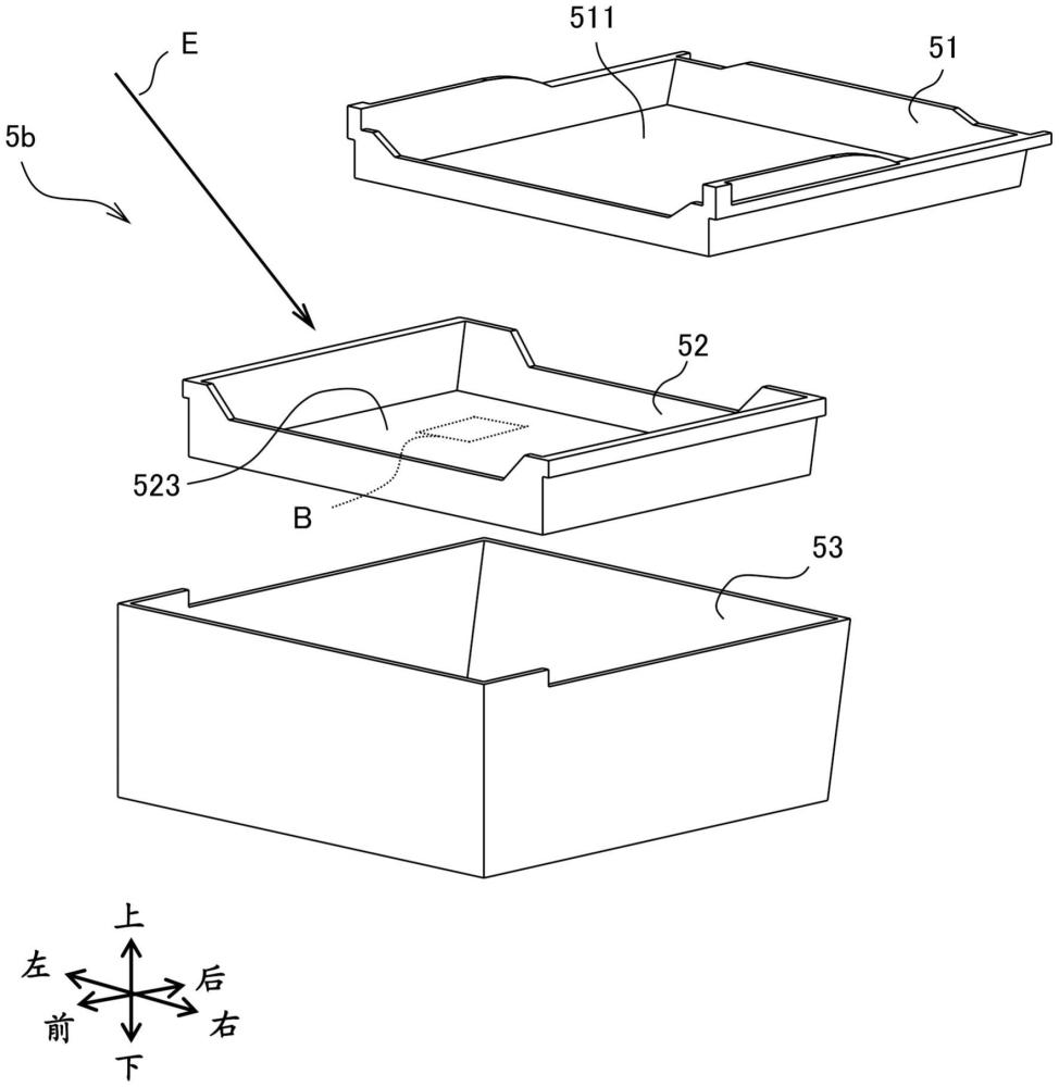
5、本公开的储藏库具备:储藏室,其在前方具有开口且具备壁面;以及树脂部件,其在所述壁面的前方或者上方与所述壁面分离地配置在所述储藏室内,并且由包括异物的再生材料构成为具有透光性,对所述树脂部件实施了相对于通过目视所述树脂部件而看见所述异物的使用者抑制所述异物显眼的加工。其他的解决方案在具体实施方式中后述。
技术特征:
1.一种储藏库,其特征在于,
2.根据权利要求1所述的储藏库,其特征在于,
3.根据权利要求2所述的储藏库,其特征在于,
4.根据权利要求1所述的储藏库,其特征在于,
5.根据权利要求4所述的储藏库,其特征在于,
6.根据权利要求1所述的储藏库,其特征在于,
7.根据权利要求1所述的储藏库,其特征在于,
8.根据权利要求1所述的储藏库,其特征在于,
9.根据权利要求1所述的储藏库,其特征在于,
10.根据权利要求9所述的储藏库,其特征在于,
11.一种电器产品,其特征在于,
12.一种储藏库系统的生产方法,其特征在于,
技术总结
本发明提供一种储藏库,即使在实际观察异物的情况下也难以给使用者带来不适感。为了解决该课题,储藏库(1)具备:储藏室,其在前方具有开口且具备壁面;以及容器(52),其在所述壁面的前方或者上方与所述壁面分离地配置于所述储藏室内,并且由包括异物的再生材料构成为具有透光性,对容器(52)实施了相对于通过视线(E)目视容器(52)而所述异物进入视野的使用者抑制所述异物显眼的加工。
技术研发人员:加纳奖一,渡边浩俊,森野厚司,佐藤知彦
受保护的技术使用者:日立环球生活方案株式会社
技术研发日:
技术公布日:2024/9/2
技术研发人员:加纳奖一,渡边浩俊,森野厚司,佐藤知彦
技术所有人:日立环球生活方案株式会社
备 注:该技术已申请专利,仅供学习研究,如用于商业用途,请联系技术所有人。
声 明 :此信息收集于网络,如果你是此专利的发明人不想本网站收录此信息请联系我们,我们会在第一时间删除
