飞行器机翼及飞行器

本发明涉及飞行设备,特别是涉及一种飞行器机翼及飞行器。
背景技术:
1、飞行器机翼包括固定翼和旋翼,其中,固定翼主要通过空气动力学原理产生升力,旋翼主要通过旋翼的旋转产生升力。旋翼飞行器通过旋翼旋转提供向上的推力,使得飞行器可以实现垂直起降的功能,因此旋翼飞行器不需要长跑道来起飞,可以在大多数区域进行起飞、降落。旋翼飞行器在空中具备较好的悬停性能,能够更好地完成特定区域的观察或监测任务。固定翼飞行器通常具有较长的航时,能够以相对高速飞行,能够在一次飞行中覆盖更大的区域。然而,固定翼飞行器通常需要较长的跑道来进行起降,易受空间限制;且固定翼飞行器不具备空中悬停的功能,限制了其在某些环境中的灵活性。
2、目前,针对飞行器同时具备垂直起降、空中悬停和大速度飞行的功能,各学者已经展开较多的的研究,其中,复合式直升机等复合式的飞行器,通过在带旋翼的飞行器上安装固定翼和推力装置,使其具备旋翼飞行器和固定翼飞行器两者的优点。如中国专利cn109178301a提供的固定翼旋翼混合无人机,其包括第一机翼、第二机翼、第一旋翼组件、第二旋翼组件、第三旋翼组件和第四旋翼组件,第一旋翼组件和第三旋翼组件分别通过电机座与第一旋翼臂连接,第二旋翼组件和第四旋翼组件分别通过电机座与第二旋翼臂连接,第一旋翼臂外挂于第一机翼的下表面,并通过螺栓固定,第二旋翼臂外挂于第二机翼的下表面,并通过螺栓固定。该固定翼旋翼混合无人机等复合式的飞行器,旋翼和固定翼的气动干扰对全机配平和飞行性能影响较大,复合式的飞行器的旋翼和固定翼的气动干扰能够导致旋翼和固定翼组合体的等效阻力增加达20%,导致飞行效率较低。
技术实现思路
1、本发明的目的是提供一种飞行器机翼及飞行器,以解决上述现有技术存在的问题,能够增加飞行器的可操纵性,改善飞行器的气动性能,减小阻力和噪声,实现较高速飞行。
2、为实现上述目的,本发明提供了如下方案:
3、本发明提供一种飞行器机翼,包括固定翼组件、旋翼组件和第一驱动装置,其中:
4、所述固定翼组件为两个;
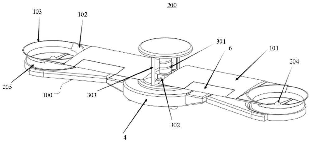
5、所述旋翼组件为两个,各所述旋翼组件包括连接件和旋翼本体,各所述旋翼本体包括第一固定件、桨叶组件、第一涵道和第二驱动装置,各所述连接件的一端与一个所述第一固定件连接,各所述连接件的另一端用于与机身连接,各所述桨叶组件与各所述第一固定件转动连接,各所述第二驱动装置与各所述第一固定件连接,各所述第一涵道与各所述第二驱动装置连接,各所述第一固定件的上表面设置有第一收纳腔,各所述第一涵道的一端设置于各所述第一收纳腔内,各所述第二驱动装置能够带动各所述第一涵道沿平行于所述飞行器的立轴的方向移动,且各所述第二驱动装置通过带动各所述第一涵道沿平行于所述飞行器的立轴的方向移动能够使各所述第一涵道伸出至各所述第一收纳腔外或隐藏于各所述第一收纳腔内;
6、所述第一驱动装置用于与所述机身连接,各所述固定翼组件与所述第一驱动装置固定连接,所述第一驱动装置能够驱动各所述固定翼组件绕所述机身的立轴转动,且所述第一驱动装置能够带动各所述固定翼组件运动至与一个所述旋翼组件重叠。
7、优选的,各所述固定翼组件包括固定翼本体、第二固定件、第二涵道和第三驱动装置,各所述第二固定件和各所述第二涵道均呈弧形,各所述固定翼本体的一端与所述第一驱动装置固定连接,各所述固定翼本体的另一端与第二固定件固定连接,各所述第三驱动装置与各所述第二固定件连接,各所述第二固定件长度方向的一个端面上设置有沿所述第二固定件长度方向延伸的第二收纳腔,各所述第二涵道的一端设置于所述第二收纳腔内,各所述第三驱动装置能够驱动各所述第二涵道沿各所述第二收纳腔伸缩,且各所述第三驱动装置通过驱动各所述第二涵道沿各所述第二收纳腔伸缩能够使各所述第二涵道伸出各所述第二收纳腔或隐藏于各所述第二收纳腔内,且各所述第二涵道伸出至各所述第二收纳腔外时各所述第二涵道和各所述第二固定件能够围成环形结构。
8、优选的,各所述第一固定件和各所述第一涵道均呈环形,各所述第一涵道伸出至各所述第一收纳腔外且各所述第二涵道伸出至各所述第二收纳腔外时,各所述第一涵道远离所述第一固定件的一端能够与各所述环形结构的外侧壁接触。
9、优选的,各所述连接件沿所述机身的纵轴方向设置,各所述旋翼本体与各所述连接件能够形成绕第一轴线的转动连接,各所述第一轴线与所述机身的横轴相互平行。
10、优选的,至少一个所述连接件与所述机身形成有绕第二轴线的转动连接,各所述第二轴线与所述机身的纵轴相互平行。
11、优选的,所述第一驱动装置包括转轴、固定块和限位件,所述转轴用于与所述机身转动连接,所述固定块与所述转轴螺纹连接,所述限位件用于与所述机身固定连接,所述限位件能够与所述固定块接触且能够限制所述固定块绕所述转轴轴线的转动。
12、优选的,各所述第二驱动装置包括第一弹性件和至少一个第一驱动组件,各所述第一驱动组件包括第一驱动本体、第一槽轮、第一连接绳,各所述旋翼本体的各所述第一连接绳的一端与各所述旋翼本体的所述第一涵道固定连接,各所述旋翼本体的各所述第一连接绳的另一端与各所述旋翼本体的一个所述第一槽轮固定连接,各所述第一槽轮与一个所述第一驱动本体的输出端固定连接,各所述第一弹性件设置于各所述第一收纳腔内,各所述旋翼本体的各所述第一弹性件能够与各所述旋翼本体的所述第一涵道抵接,各所述第一驱动本体能够驱动对应的所述第一槽轮绕对应的所述第一槽轮的轴线正转或反转,各所述第一槽轮能够通过绕自身轴线正转或反转使对应的第一连接绳缠绕至各所述第一槽轮上,且各所述第一槽轮能够通过绕自身轴线正转或反转使对应的各所述第一涵道隐藏至对应的各第一收纳腔内,各所述第一槽轮绕自身轴线反转或正转时,对应的各所述第一弹性件能够推动对应的各所述第一涵道伸出至对应的各所述第一收纳腔外。
13、优选的,各第三驱动装置包括第二弹性件和至少一个第二驱动组件,各所述第二驱动组件包括第二驱动本体、第二槽轮、第二连接绳,各所述固定翼组件的各所述第二连接绳的一端与各所述固定翼组件的所述第二涵道固定连接,各所述固定翼组件的各所述第二连接绳的另一端与各所述固定翼组件的一个所述第二槽轮固定连接,各所述第二槽轮与一个所述第二驱动本体的输出端固定连接,各所述第二弹性件设置于各所述第二收纳腔内,各所述固定翼组件的各所述第二弹性件能够与各所述固定翼组件的所述第二涵道抵接,各所述第二驱动本体能够驱动对应的所述第二槽轮绕对应的所述第二槽轮的轴线正转或反转,各所述第二槽轮能够通过绕自身轴线正转或反转使对应的第二连接绳缠绕至对应的各所述第二槽轮上,且各所述第二槽轮能够通过绕自身轴线正转或反转使对应的各所述第二涵道隐藏至对应的各第二收纳腔内,各所述第二槽轮绕自身轴线反转或正转时,对应的各所述第二弹性件能够推动对应的各所述第二涵道伸出至对应的各所述第二收纳腔外。
14、本发明提供一种飞行器,包括所述机身和所述的飞行器机翼,各所述连接件远离各所述旋翼本体的一端与机身连接,所述第一驱动装置与所述机身连接。
15、本发明相对于现有技术取得了以下技术效果:
16、本发明提供一种飞行器机翼及飞行器,包括固定翼组件、旋翼组件和第一驱动装置,各所述旋翼组件包括连接件和旋翼本体,各所述固定翼组件与所述第一驱动装置固定连接,所述第一驱动装置能够带动各所述固定翼组件绕所述机身的立轴转动,且所述第一驱动装置能够带动各所述固定翼组件运动至与一个所述旋翼组件重叠。通过第一驱动装置带动固定翼组件绕所述机身的立轴转动,使固定翼组件能够重叠于对应的旋翼组件的正上方,使机翼呈旋翼模式,实现垂直起降和空中悬停,增加了飞行器的可操纵性;且能够使各固定翼组件展开至两个旋翼组件之间的位置,使机翼呈固定翼模式。当机翼切换为旋翼模式时,通过第二驱动装置驱动第一涵道伸出至第一收纳腔外,实现了涵道飞行,改善了旋翼组件的气动性能,减小了阻力和噪声。当机翼切换为固定翼模式时,通过第二驱动装置驱动第一涵道隐藏至第一收纳腔内,以减小飞行阻力,实现较高速飞行。
技术研发人员:陈希,倪传泽,朱清华,招启军,鲍为成,林沐阳,张夏阳,赵国庆
技术所有人:南京航空航天大学
备 注:该技术已申请专利,仅供学习研究,如用于商业用途,请联系技术所有人。
声 明 :此信息收集于网络,如果你是此专利的发明人不想本网站收录此信息请联系我们,我们会在第一时间删除
