一种蒸汽锅炉用尾气余热回收设备的制作方法

本技术涉及蒸汽锅炉余热,具体为一种蒸汽锅炉用尾气余热回收设备。
背景技术:
1、蒸汽锅炉指的是生产蒸汽的锅炉设备,其属于特种设备。
2、现有的蒸汽锅炉用尾气余热回收设备可参考授权公告号为cn218721630u的中国实用新型专利,其公开了一种生物质蒸汽锅炉尾气余热回收设备,“包括锅炉组件,所述锅炉组件包括生物质蒸汽锅炉体、进料斗、排烟管和输料管;余热回收机构,所述余热回收机构包括高温循环泵、换热管、保温管、换热板。本实用新型通过高温循环泵利用引水管将保温水箱内的水吸入换热管的内部,然后利用排烟管内的生物质蒸汽锅炉高温尾气对换热管内的水进行加热,然后通过保温管将换热管内加热后的水导入输料管内,然后通过换热板利用加热后的水对输料管内生物质燃料进行预加热处理,从而使生物质燃料在进入生物质蒸汽锅炉后可以快速的进行燃烧,提高了燃烧效率,且提高了生物质蒸汽锅炉尾气中热能的利用率,减少热能资源的浪费”
3、上述装置在使用时,现有的装置利用加热后的水对输料管内生物质燃料进行预加热处理,从而使生物质燃料在进入生物质蒸汽锅炉后可以快速的进行燃烧,提高了燃烧效率,现有的装置在余热回收利用上,为生物质的燃烧效率做出了提升,但现有的装置没有将余热回收并转化成电力的能力,因此装置不适应于不同的余热回收再利用场景,且装置在利用蒸汽的方式进行余热回收时,会出现蒸汽压力时大时小的问题,因此需要一种解决上述问题的蒸汽锅炉用尾气余热回收设备。
技术实现思路
1、针对现有技术的不足,本实用新型提供了一种蒸汽锅炉用尾气余热回收设备,具备实用性强、转化成电能、恒定压力等的优点,解决了上述背景技术所提出的问题。
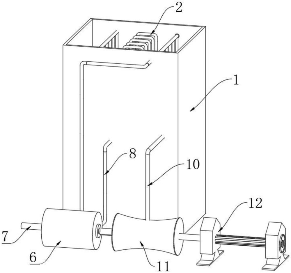
2、本实用新型提供如下技术方案:一种蒸汽锅炉用尾气余热回收设备,包括尾气管,所述尾气管的内腔设有蒸发器管,所述蒸发器管的一端固定连接有加水管,所述蒸发器管的另一端固定连接有出气管,所述出气管的外壁固定装配有调节控制阀,所述出气管远离加水管的一端固定连接有高压汽轮机,所述高压汽轮机的内腔活动套接有转动轴,所述高压汽轮机的外壁固定连接有回路管,所述回路管远离高压汽轮机的一端固定连接有再生热机构,所述再生热机构的外壁固定连接有输气管,所述输气管远离再生热机构的一端固定连接有低压汽轮机,所述转动轴远离高压汽轮机、低压汽轮机的一端固定装配有发电机。
3、作为本实用新型的一种优选技术方案,所述蒸发器管的数量为若干个尾气管,且若干个蒸发器管均排列在尾气管的内腔中。
4、作为本实用新型的一种优选技术方案,所述蒸发器管通过加水管与外接的水箱相连接,且蒸发器管通过出气管与高压汽轮机实现连接。
5、作为本实用新型的一种优选技术方案,所述调节控制阀设置在出气管的外壁上靠近高压汽轮机的一处,且调节控制阀对出气管内腔的流量进行控制。
6、作为本实用新型的一种优选技术方案,所述高压汽轮机通过回路管与再生热机构相连接,且再生热机构在蒸发器管的内腔中再次进行加热。
7、作为本实用新型的一种优选技术方案,所述再生热机构通过输气管与低压汽轮机相连接,且由低压汽轮机带动转动轴进行旋转。
8、与现有技术对比,本实用新型具备以下有益效果:
9、1、该蒸汽锅炉用尾气余热回收设备,通过装置上的高压汽轮机、低压汽轮机和转动轴、发电机的相互配合使用,使得装置上的高压汽轮机和低压汽轮机在高温、高速的蒸汽驱动下推动叶片转动时,再利用高压汽轮机、低压汽轮机带动转动轴进行旋转,从而让转动轴的旋转使发电机进入发电状态。
10、2、该蒸汽锅炉用尾气余热回收设备,通过装置上的出气管、调节控制阀、高压汽轮机的相互配合使用,使得装置上的调节控制阀对出气管内腔中的蒸汽流量进行一个调节作用,并使出气管传递至高压汽轮机内腔中的蒸汽进入恒定的压力和恒定的流速,从而使余热回收过程中蒸汽压力时大时小的问题被避免。
技术特征:
1.一种蒸汽锅炉用尾气余热回收设备,包括尾气管(1),其特征在于:所述尾气管(1)的内腔设有蒸发器管(2),所述蒸发器管(2)的一端固定连接有加水管(3),所述蒸发器管(2)的另一端固定连接有出气管(4),所述出气管(4)的外壁固定装配有调节控制阀(5),所述出气管(4)远离加水管(3)的一端固定连接有高压汽轮机(6),所述高压汽轮机(6)的内腔活动套接有转动轴(7),所述高压汽轮机(6)的外壁固定连接有回路管(8),所述回路管(8)远离高压汽轮机(6)的一端固定连接有再生热机构(9),所述再生热机构(9)的外壁固定连接有输气管(10),所述输气管(10)远离再生热机构(9)的一端固定连接有低压汽轮机(11),所述转动轴(7)远离高压汽轮机(6)、低压汽轮机(11)的一端固定装配有发电机(12)。
2.根据权利要求1所述的一种蒸汽锅炉用尾气余热回收设备,其特征在于:所述蒸发器管(2)的数量为若干个尾气管(1),且若干个蒸发器管(2)均排列在尾气管(1)的内腔中。
3.根据权利要求1所述的一种蒸汽锅炉用尾气余热回收设备,其特征在于:所述蒸发器管(2)通过加水管(3)与外接的水箱相连接,且蒸发器管(2)通过出气管(4)与高压汽轮机(6)实现连接。
4.根据权利要求1所述的一种蒸汽锅炉用尾气余热回收设备,其特征在于:所述调节控制阀(5)设置在出气管(4)的外壁上靠近高压汽轮机(6)的一处,且调节控制阀(5)对出气管(4)内腔的流量进行控制。
5.根据权利要求1所述的一种蒸汽锅炉用尾气余热回收设备,其特征在于:所述高压汽轮机(6)通过回路管(8)与再生热机构(9)相连接,且再生热机构(9)在蒸发器管(2)的内腔中再次进行加热。
6.根据权利要求1所述的一种蒸汽锅炉用尾气余热回收设备,其特征在于:所述再生热机构(9)通过输气管(10)与低压汽轮机(11)相连接,且由低压汽轮机(11)带动转动轴(7)进行旋转。
技术总结
本技术涉及蒸汽锅炉余热技术领域,且公开了一种蒸汽锅炉用尾气余热回收设备,包括尾气管,所述尾气管的内腔设有蒸发器管,所述蒸发器管的一端固定连接有加水管,所述蒸发器管的另一端固定连接有出气管,所述出气管的外壁固定装配有调节控制阀,所述出气管远离加水管的一端固定连接有高压汽轮机,所述高压汽轮机的内腔活动套接有转动轴,该蒸汽锅炉用尾气余热回收设备,通过装置上的高压汽轮机、低压汽轮机和转动轴、发电机的相互配合使用,使得装置上的高压汽轮机和低压汽轮机在高温、高速的蒸汽驱动下推动叶片转动时,再利用高压汽轮机、低压汽轮机带动转动轴进行旋转,从而让转动轴的旋转使发电机进入发电状态。
技术研发人员:郭建平,李晓东
受保护的技术使用者:昆明檀樾新能源有限公司
技术研发日:20240111
技术公布日:2024/9/2
技术研发人员:郭建平,李晓东
技术所有人:昆明檀樾新能源有限公司
备 注:该技术已申请专利,仅供学习研究,如用于商业用途,请联系技术所有人。
声 明 :此信息收集于网络,如果你是此专利的发明人不想本网站收录此信息请联系我们,我们会在第一时间删除
