一种锅炉给水除氧装置的制作方法

本技术涉及除氧设备,具体地说,涉及一种锅炉给水除氧装置。
背景技术:
1、在锅炉给水的处理工艺中,除氧是一个非常关键的环节。因为锅炉给水中存在的氧,不仅会腐蚀锅炉设备,使锅炉设备产生穿孔,也会腐蚀锅炉的给水系统,而腐蚀产物会进入锅炉内,沉积或附着在锅炉管壁和受热面上,形成传热不良的铁垢,并且腐蚀也会造成管道内壁出现点坑,使阻力系数增大,管道腐蚀严重时,甚至会发生管道爆管事故。
2、锅炉给水除氧装置的原理主要为热力除氧。热力除氧就是向水中引入具有一定压力的蒸汽,将水加热至沸腾状态,这样水中溶解的氧就会因温度升高而溶解度变小,达到锅炉给水除氧的目的。但是经热力除氧后水温较高(一般为104℃左右),所需的蒸汽量较大,会造成蒸汽的浪费。
3、如授权公告号为cn 218115052 u的专利,公开了一种热力除氧器,包括:除氧水箱、除氧塔以及雾化给水管。除氧水箱用于将内部的水加热产生蒸汽,蒸汽在除氧塔内将进入的给水加热到104℃,使溶解气体从水中逸出。该除氧器能够去除给水中的氧气,但是除氧后水温较高,消耗的蒸汽量较大,成本较高。
技术实现思路
1、为解决上述问题,本实用新型提供了一种锅炉给水除氧装置,利用高温除氧水与低温待除氧水进行热交换,进而减少蒸汽量消耗量,提高了经济效益。
2、本实用新型解决上述问题的技术方案如下:
3、一种锅炉给水除氧装置,包括具有进水口和出水口的壳体,所述壳体的内部设有将所述壳体分隔为储水箱和加热水箱的第一隔板;所述第一隔板上贯穿设置有连通所述储水箱和加热水箱的连通管道;还包括贯穿所述加热水箱设置的蒸汽换热管。
4、作为优选,所述储水箱内设置有与所述加热水箱连通的出水管;所述出水管具有多个。
5、作为优选,所述储水箱内设置有孔板,所述孔板上设置有供所述出水管穿置的孔。
6、作为优选,所述加热水箱设置在所述储水箱的上方;所述蒸汽换热管在所述加热水箱内水平向布置。
7、作为优选,所述加热水箱内还设置有布水器,所述布水器的入口端设置在所述加热水箱的腰位以上;所述多个出水管的进水端与所述布水器的出口端相连。
8、作为优选,所述第一隔板为第一多孔板,所述多个出水管的进水端与所述第一多孔板的孔道一一对应固定;所述布水器罩设在所述第一多孔板上。
9、作为优选,所述多个出水管在所述储水箱内竖向布置,所述储水箱的底部设置有第二隔板,所述第二隔板为第二多孔板,所述多个出水管的出水端与所述第二多孔板上的孔道一一对应固定;所述壳体的底部还设置有用于汇集所述多个出水管的出水的回水总管。
10、作为优选,所述壳体上设置有与所述蒸汽换热管的第一端连接的第一水室和与所述蒸汽换热管的第二端连接的第二水室。
11、作为优选,所述连通管道的上端设置有喷淋器。
12、作为优选,所述壳体的一端设置有贯穿所述壳体、在除氧装置停止工作后用于回收所述加热水箱内剩余水的回收组件。
13、本实用新型具有以下有益效果:
14、1、本实用新型锅炉给水除氧装置,通过设置多回程的蒸汽换热管,增强换热效果,提高除氧效率;
15、2、本实用新型锅炉给水除氧装置,利用高温除氧水与低温待除氧水进行热交换,使待除氧水温度升高,进而将其加热到特定温度所消耗的蒸汽量减少,使更多的蒸汽能够投入到后续生产中,提高了经济效益;
16、3、本实用新型锅炉给水除氧装置,除氧水最终温度较低,这可以使锅炉余热器凝结更多的冷凝水,降低排烟温度,进而降低锅炉系统的运行成本;
17、4、本实用新型锅炉给水除氧装置,设计巧妙,装置结构紧凑、便于操作。
技术特征:
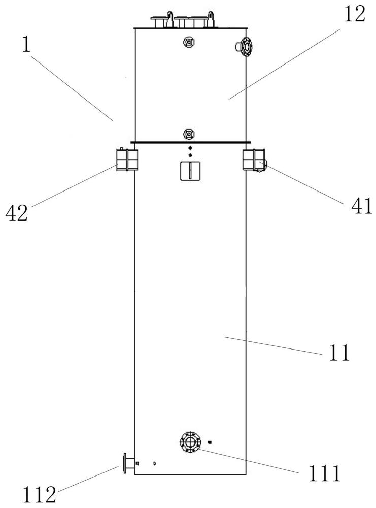
1.一种锅炉给水除氧装置,包括具有进水口(111)和出水口(112)的壳体(1),其特征在于:所述壳体(1)的内部设有将所述壳体(1)分隔为储水箱(11)和加热水箱(12)的第一隔板(2);所述第一隔板(2)上贯穿设置有连通所述储水箱(11)和加热水箱(12)的连通管道(3);还包括贯穿所述加热水箱(12)设置的蒸汽换热管(4)。
2.根据权利要求1所述的一种锅炉给水除氧装置,其特征在于:所述储水箱(11)内设置有与所述加热水箱(12)连通的出水管(113);所述出水管(113)具有多个。
3.根据权利要求2所述的一种锅炉给水除氧装置,其特征在于:所述储水箱(11)内设置有孔板(114),所述孔板(114)上设置有供所述出水管(113)穿置的孔。
4.根据权利要求1所述的一种锅炉给水除氧装置,其特征在于:所述加热水箱(12)设置在所述储水箱(11)的上方;所述蒸汽换热管(4)在所述加热水箱(12)内水平向布置。
5.根据权利要求2所述的一种锅炉给水除氧装置,其特征在于:所述加热水箱(12)内还设置有布水器(121),所述布水器(121)的入口端设置在所述加热水箱(12)的腰位以上;所述多个出水管(113)的进水端与所述布水器(121)的出口端相连。
6.根据权利要求5所述的一种锅炉给水除氧装置,其特征在于:所述第一隔板(2)为第一多孔板,所述多个出水管(113)的进水端与所述第一多孔板的孔道一一对应固定;所述布水器(121)罩设在所述第一多孔板上。
7.根据权利要求5所述的一种锅炉给水除氧装置,其特征在于:所述多个出水管(113)在所述储水箱(11)内竖向布置,所述储水箱(11)的底部设置有第二隔板(21),所述第二隔板(21)为第二多孔板,所述多个出水管(113)的出水端与所述第二多孔板上的孔道一一对应固定;所述壳体(1)的底部还设置有用于汇集所述多个出水管(113)的出水的回水总管。
8.根据权利要求1所述的一种锅炉给水除氧装置,其特征在于:所述壳体(1)上设置有与所述蒸汽换热管(4)的第一端连接的第一水室(41)和与所述蒸汽换热管(4)的第二端连接的第二水室(42)。
9.根据权利要求1所述的一种锅炉给水除氧装置,其特征在于:所述连通管道(3)的上端设置有喷淋器(31)。
10.根据权利要求1所述的一种锅炉给水除氧装置,其特征在于:所述壳体(1)的一端设置有贯穿所述壳体(1)、在除氧装置停止工作后用于回收所述加热水箱(12)内剩余水的回收组件(122)。
技术总结
本技术公开了一种锅炉给水除氧装置,包括一个壳体,壳体底端设置有供待除氧的水进入壳体的进水口,和便于除氧水流出的出水口,壳体内设有通过第一隔板分隔开的储水箱和加热水箱。本技术锅炉给水除氧装置,利用高温除氧水与低温待除氧水进行热交换,使待除氧水温度升高,进而将其加热到特定温度所消耗的蒸汽量减少,使更多的蒸汽能够投入到后续生产中,提高了经济效益。
技术研发人员:王永强,胡奇民,张林杰,陈先乐,李云腾,吴蕾蕾,华栋亮,徐大魏,金瑜捷,刘亚涛
受保护的技术使用者:浙江力聚热能装备股份有限公司
技术研发日:20231208
技术公布日:2024/9/2
技术研发人员:王永强,胡奇民,张林杰,陈先乐,李云腾,吴蕾蕾,华栋亮,徐大魏,金瑜捷,刘亚涛
技术所有人:浙江力聚热能装备股份有限公司
备 注:该技术已申请专利,仅供学习研究,如用于商业用途,请联系技术所有人。
声 明 :此信息收集于网络,如果你是此专利的发明人不想本网站收录此信息请联系我们,我们会在第一时间删除
