一种蒸汽发生器的制作方法

本技术涉及蒸汽发生器,更具体的说,尤其涉及一种蒸汽发生器。
背景技术:
1、蒸汽发生器也叫蒸汽热源机是利用燃料或其他能源的热能把水加热成为热水或蒸汽的机械设备,蒸汽发生器广泛地应用于各种家电产品中,如挂烫机、消毒柜、洗碗机、蒸柜等产品中。
2、现有的蒸汽发生器在使用时,为提高了加热室的加热效率,一般需要在蒸汽发生器外部设置预加热装置对凉水首次进行预加热,结构较为复杂,并且电加热在加热室内对水进行加热时,电加热外壁以及蒸发器内部容易集结水垢,电加热的外壁集结较厚的水垢后,会直接影响电加热的加热效率。
3、有鉴于此,针对现有的问题予以研究改良,提供一种蒸汽发生器,旨在通过该技术,达到解决问题与提高实用价值性的目的。
技术实现思路
1、本实用新型的目的在于提供一种蒸汽发生器,以解决上述背景技术中提出的问题和不足。
2、为实现上述目的,本实用新型提供了一种蒸汽发生器,由以下具体技术手段所达成:
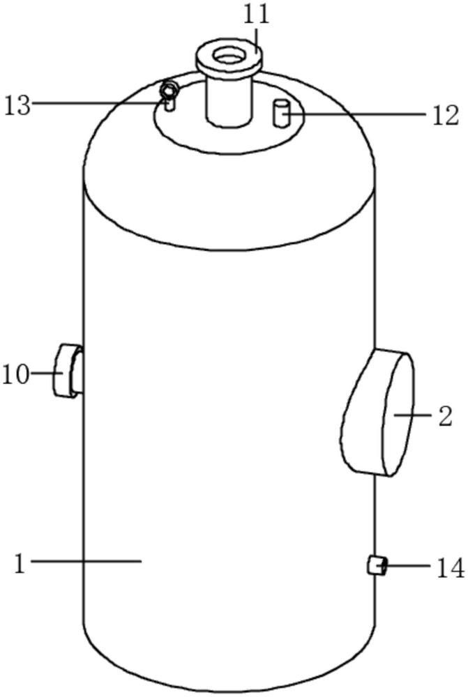
3、一种蒸汽发生器,包括:外胆、控制器、电加热、连接座、内胆、底座、振动马达、水泵、排污管、堵头、排气管、压力控制器、安全阀、加水管;所述控制器安装在外胆一侧的外壁上,且控制器与外胆通过螺栓固定连接;所述电加热固定安装在控制器的一端;所述连接座安装在外胆上部的内壁上,且连接座与外胆焊接连接;所述内胆安装在连接座的内壁上,且内胆与连接座焊接连接;所述底座安装在内胆下部的内壁上,且底座与内胆焊接连接;所述振动马达通过电机座固定安装在底座的底部;所述水泵安装在外胆底部的内壁上,且水泵与外胆通过螺栓固定连接;所述排污管安装在内胆的内壁上,且排污管与内胆焊接连接;所述堵头通过螺纹旋转的方式安装在排污管的一端;所述排气管焊接安装在外胆顶端的中间位置;所述压力控制器固定安装在外胆的顶端一侧;所述安全阀固定安装在外胆顶端的另一侧;所述加水管安装在内胆的下部的外壁上,且加水管与内胆通过螺纹旋转的方式相连接。
4、作为本技术方案的进一步优化,本实用新型一种蒸汽发生器所述连接座为圆形环状结构,且内胆通过连接座焊接安装在外胆上部的内壁上。
5、作为本技术方案的进一步优化,本实用新型一种蒸汽发生器所述内胆下部的内壁上焊接安装有圆盘状的底座。
6、作为本技术方案的进一步优化,本实用新型一种蒸汽发生器所述底座的中间位置通过水管连接有水泵,且水泵的输入端通过水管贯穿内胆的下部。
7、作为本技术方案的进一步优化,本实用新型一种蒸汽发生器所述底座的底部通过电机座固定安装有振动马达,且振动马达在底座的底部呈对称状分布有两处。
8、由于上述技术方案的运用,本实用新型与现有技术相比具有下列优点:
9、1、本实用新型连接座为圆形环状结构,且内胆通过连接座焊接安装在外胆上部的内壁上,内胆下部的内壁上焊接安装有圆盘状的底座,底座的中间位置通过水管连接有水泵,且水泵的输入端通过水管贯穿内胆的下部的设置,当加水管接通水源时,凉水首先进入到外胆和内胆之间的区域,而内胆内部电加热加热时产生的热量可以通过内胆传递到外胆和内胆之间凉水中,从而对外胆和内胆之间的水进行预热,预热后的水通过水泵排入到底座顶端,并通过电加热进行加热,节约了能耗,提高了热效率。
10、2、本实用新型底座的底部通过电机座固定安装有振动马达,且振动马达在底座的底部呈对称状分布有两处的设置,底座的底部两侧安装有两处振动马达,使底座和上方的电加热能同时产生震动,能使水垢不易在底座和电加热聚集,提高了加热效果。
11、3、本实用新型通过对一种蒸汽发生器的改进,具有结构设计合理,能耗底,热效率高,不易产生水垢,加热效果好的优点,从而有效的解决了现有技术与设备中的问题和不足。
技术特征:
1.一种蒸汽发生器,包括:外胆(1)、控制器(2)、电加热(3)、连接座(4)、内胆(5)、底座(6)、振动马达(7)、水泵(8)、排污管(9)、堵头(10)、排气管(11)、压力控制器(12)、安全阀(13)、加水管(14);其特征在于:所述控制器(2)安装在外胆(1)一侧的外壁上,且控制器(2)与外胆(1)通过螺栓固定连接;所述电加热(3)固定安装在控制器(2)的一端;所述连接座(4)安装在外胆(1)上部的内壁上,且连接座(4)与外胆(1)焊接连接;所述内胆(5)安装在连接座(4)的内壁上,且内胆(5)与连接座(4)焊接连接;所述底座(6)安装在内胆(5)下部的内壁上,且底座(6)与内胆(5)焊接连接;所述振动马达(7)通过电机座固定安装在底座(6)的底部;所述水泵(8)安装在外胆(1)底部的内壁上,且水泵(8)与外胆(1)通过螺栓固定连接;所述排污管(9)安装在内胆(5)的内壁上,且排污管(9)与内胆(5)焊接连接;所述堵头(10)通过螺纹旋转的方式安装在排污管(9)的一端;所述排气管(11)焊接安装在外胆(1)顶端的中间位置;所述压力控制器(12)固定安装在外胆(1)的顶端一侧;所述安全阀(13)固定安装在外胆(1)顶端的另一侧;所述加水管(14)安装在内胆(5)的下部的外壁上,且加水管(14)与内胆(5)通过螺纹旋转的方式相连接。
2.根据权利要求1所述的一种蒸汽发生器,其特征在于:所述连接座(4)为圆形环状结构,且内胆(5)通过连接座(4)焊接安装在外胆(1)上部的内壁上。
3.根据权利要求1所述的一种蒸汽发生器,其特征在于:所述内胆(5)下部的内壁上焊接安装有圆盘状的底座(6)。
4.根据权利要求1所述的一种蒸汽发生器,其特征在于:所述底座(6)的中间位置通过水管连接有水泵(8),且水泵(8)的输入端通过水管贯穿内胆(5)的下部。
5.根据权利要求1所述的一种蒸汽发生器,其特征在于:所述底座(6)的底部通过电机座固定安装有振动马达(7),且振动马达(7)在底座(6)的底部呈对称状分布有两处。
技术总结
本技术涉及蒸汽发生器技术领域,更具体的说,尤其涉及一种蒸汽发生器,包括:外胆、控制器、电加热、连接座、内胆、底座、振动马达、水泵、排污管、堵头、排气管、压力控制器、安全阀、加水管;所述控制器安装在外胆一侧的外壁上,且控制器与外胆通过螺栓固定连接;所述电加热固定安装在控制器的一端;所述连接座安装在外胆上部的内壁上,且连接座与外胆焊接连接;所述内胆安装在连接座的内壁上,且内胆与连接座焊接连接;本技术通过对一种蒸汽发生器的改进,具有结构设计合理,能耗底,热效率高,不易产生水垢,加热效果好的优点,从而有效的解决了现有技术与设备中的问题和不足。
技术研发人员:王磊
受保护的技术使用者:诸城市瑞盈机械有限公司
技术研发日:20240115
技术公布日:2024/9/2
技术研发人员:王磊
技术所有人:诸城市瑞盈机械有限公司
备 注:该技术已申请专利,仅供学习研究,如用于商业用途,请联系技术所有人。
声 明 :此信息收集于网络,如果你是此专利的发明人不想本网站收录此信息请联系我们,我们会在第一时间删除
