一种防爆型燃气锅炉的制作方法

本技术涉及锅炉设备,特别是涉及一种防爆型燃气锅炉。
背景技术:
1、锅炉作为使用非常广泛的加热设备同时其燃料燃烧所产生的废气和余热更是大气污染的重要来源,因此努力提高锅炉燃料利用率是锅炉行业生产者一直在不断改进创新的一个重要基点;锅炉加热过程中容易产生热气体,但是现有的锅炉存在对热能利用效率低,热量损失大,能耗高的缺点,此外由于锅炉内有大量的热气体,如不及时排出,极易造成爆炸,给生产和生活带来巨大的损失。
技术实现思路
1、鉴于以上所述现有技术的缺点,本实用新型的目的在于提供一种防爆型燃气锅炉,用于解决现有技术中锅炉热能利用率低、热气体不能及时排出造成爆炸的问题。
2、为实现上述目的及其他相关目的,本实用新型提供如下技术方案:
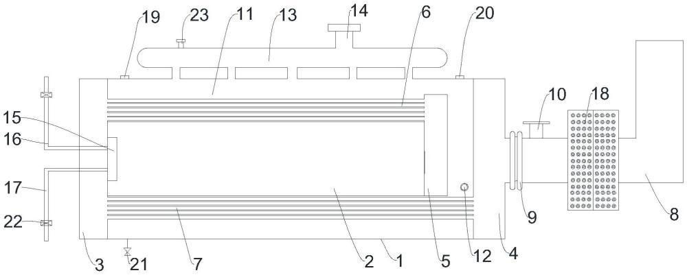
3、一种防爆型燃气锅炉,包括炉体、设置在所述炉体内腔中的燃烧室、所述炉体的一端设有前烟箱、所述炉体的另一端设有后烟箱,所述燃烧室上连通有集烟箱,所述集烟箱与所述前烟箱之间连通有若干个第一回烟管、所述前烟箱与所述后烟箱之间连通有若干个第二回烟管;所述后烟箱上设有排烟管、所述排烟管上设有伸缩节和防爆门;所述炉体所述燃烧室之间形成加热腔,所述炉体上设有连通所述加热腔的进水口,所述炉体的上方设有与所述加热腔连通的蒸汽包、所述蒸汽包上设有蒸汽出口。
4、实现上述技术方案,本申请中通过燃烧室燃烧将加热腔中的水进行加热,燃烧后的高温气体通过所述集烟管进入所述第一回烟管中,第一回烟管中的高温气体对水进行再加热,第一回烟管中的气体经过前烟箱进入第二回烟管,第二回烟管继续对水进行加热,然后第二回烟管中的气体进过所述后烟箱进入排烟管,排烟管中伸缩节的中可以减缓管道的变形和位移,当排烟管中的气体达到一定的压力,防爆门可以在压力作用下自动打开或者人工打开,蒸汽包能够有效的将汽水进行分离,保证蒸汽锅炉的品质;本申请通过第一回烟管和第二回烟管的设置能够大大提高热能的利用效率,通过伸缩节的设置能够减小排烟管的位移,防爆门在排烟管中的压力过大时能够自动打开泄压,防止爆炸造成人员伤亡。
5、于本实用新型的一实施例中,所述燃烧室的进口处设有燃烧器、所述燃烧器上连接有氧气管和燃气管。
6、实现上述技术方案,燃气管用于提供可燃气体,氧气管用于提供可燃气体燃烧需要的氧气,燃烧器用于将可燃气体点火燃烧,在申请中的氧气管可以替换为压缩空气。
7、于本实用新型的一实施例中,所述排烟管上设有换热器。
8、实现上述技术方案,换热器可以将排烟管气体中的余温进行回收,并将气体降低到常温后排出。
9、于本实用新型的一实施例中,所述炉体上设有液位计和温度计。
10、实现上述技术方案,液位计用于检测加热腔中的水位,水位需要在设置值的范围内,不能过高或者过低,温度计用于检测加热腔中水的温度是否达标,液位计和温度计可以设置报警功能来提醒工作人员异常运行情况,并对锅炉及时作出调整。
11、于本实用新型的一实施例中,所述炉体的下端设有排液阀。
12、实现上述技术方案,当锅炉加热腔中的水位超过了设定的值之后,工作人员可以打开排液阀将锅炉内的水排出一部分,保证锅炉的正常安全运行。
13、于本实用新型的一实施例中,所述氧气管和所述燃气管上均设有电磁阀。
14、实现上述技术方案,电磁阀的设置可以调整氧气或者燃气的供给量,从而改变燃烧器的明火大小来改变燃烧室的温度。
15、于本实用新型的一实施例中,所述蒸汽包上设有安全阀。
16、实现上述技术方案,当蒸汽包中的压力大于设定的值,安全阀可以自动打开来释放压力,减少锅炉处于高压的风险。
17、如上所述,本实用新型的一种防爆型燃气锅炉,具有以下有益效果:本申请通过第一回烟管和第二回烟管的设置能够大大提高热能的利用效率,排烟管中的伸缩节能够减缓排烟管的变形或者移位,提高排烟管的使用寿命,排烟管上防爆门的设置能够在排烟管中压力达到设定值时自动打开自动泄压,防止事故发生,蒸汽包能够有效的将汽水进行分离,保证蒸汽锅炉的品质;电磁阀的设置可以调整氧气或者燃气的供给量,从而改变燃烧室的温度,当蒸汽包中的压力大于设定的值,安全阀可以自动打开来释放压力,减少锅炉处于高压的风险。
技术特征:
1.一种防爆型燃气锅炉,包括炉体(1)、设置在所述炉体(1)内腔中的燃烧室(2)、所述炉体(1)的一端设有前烟箱(3)、所述炉体(1)的另一端设有后烟箱(4),其特征在于:所述燃烧室(2)上连通有集烟箱(5),所述集烟箱(5)与所述前烟箱(3)之间连通有若干个第一回烟管(6)、所述前烟箱(3)与所述后烟箱(4)之间连通有若干个第二回烟管(7);
2.根据权利要求1所述的一种防爆型燃气锅炉,其特征在于:所述燃烧室(2)的进口处设有燃烧器(15)、所述燃烧器(15)上连接有氧气管(16)和燃气管(17)。
3.根据权利要求1所述的一种防爆型燃气锅炉,其特征在于:所述排烟管(8)上设有换热器(18)。
4.根据权利要求1所述的一种防爆型燃气锅炉,其特征在于:所述炉体(1)上设有液位计(19)和温度计(20)。
5.根据权利要求1所述的一种防爆型燃气锅炉,其特征在于:所述炉体(1)的下端设有排液阀(21)。
6.根据权利要求2所述的一种防爆型燃气锅炉,其特征在于:所述氧气管(16)和所述燃气管(17)上均设有电磁阀(22)。
7.根据权利要求1所述的一种防爆型燃气锅炉,其特征在于:所述蒸汽包(13)上设有安全阀(23)。
技术总结
本技术提供一种防爆型燃气锅炉,通过燃烧室燃烧将加热腔中的水进行加热,燃烧后的高温气体通过所述集烟管进入所述第一回烟管中,第一回烟管中的高温气体对水进行再加热,第一回烟管中的气体经过前烟箱进入第二回烟管,第二回烟管继续对水进行加热,然后第二回烟管中的气体进过所述后烟箱进入排烟管,排烟管中伸缩节的中可以减缓管道的变形和位移,当排烟管中的气体达到一定的压力,防爆门可以在压力作用下自动打开,通过第一回烟管和第二回烟管的设置能够大大提高热能的利用效率,通过伸缩节的设置能够减小排烟管的位移,防爆门在排烟管中的压力过大时能够自动打开泄压,防止爆炸造成人员伤亡。
技术研发人员:黄兴华,王东风
受保护的技术使用者:无锡嘉源锅炉制造有限责任公司
技术研发日:20231108
技术公布日:2024/9/2
技术研发人员:黄兴华,王东风
技术所有人:无锡嘉源锅炉制造有限责任公司
备 注:该技术已申请专利,仅供学习研究,如用于商业用途,请联系技术所有人。
声 明 :此信息收集于网络,如果你是此专利的发明人不想本网站收录此信息请联系我们,我们会在第一时间删除
