首页  专利技术  农业,林业,园林,畜牧业,肥料饲料的机械,工具制造及其应用技术

一种用于林业治理的高效打药机的制作方法

2025-12-18 14:20:08 102次浏览
一种用于林业治理的高效打药机的制作方法与工艺

本发明涉及一种打药机,特别涉及一种用于林业治理的高效打药机,属于机械设备技术领域。



背景技术:

打药机适用于森林、苗圃、果园、茶园的病虫害防治,棉花、小麦、水稻、玉米等大田作物及大面积草场的病虫害防治,城市、郊区的园林花木、蔬菜园地和料大棚中植物的病虫害防治,医院、会议室、影剧院、体育场馆、码头、车站、公交车、客运列车的卫生消毒,城市下水道及暖气通道、地下室、防空洞和各种货物仓库的消毒杀菌处理。

对于处理园林中高低不同的植物病虫害的问题,适用灌木类的喷洒的打药机,则不适用高大的树木,若是高管的喷头,则不方便喷洒灌木类,给使用者带来不便,不方便管理,也不易于存放打药机。



技术实现要素:

本发明提出了一种用于林业治理的高效打药机,解决了现有技术中用灌木类的喷洒的打药机,则不适用高大的树木,若是高管的喷头,则不方便喷洒灌木类,给使用者带来不便,不方便管理,也不易于存放打药机的问题。

为了解决上述技术问题,本发明提供了如下的技术方案:

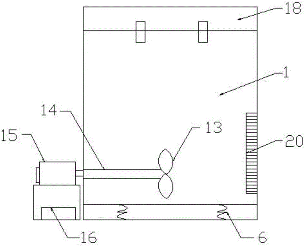
本发明一种用于林业治理的高效打药机,包括箱体、机架、卷管器、输送管和手持杆,所述箱体通过减震器与所述机架连接,所述箱体内部的底端设有水泵,所述水泵上设有过滤罩,所述水泵通过所述输送管与所述卷管器连接,所述输送管的一端设有喷头,所述喷头的底端设有卡环,所述卡环通过卡槽与所述手持杆连接,所述箱体的顶端设有储药箱,所述储药箱的一侧设有手动阀门,所述箱体的内壁上设有液位传感器,所述箱体的内部设有轮叶,所述轮叶通过转轴与电机连接。所述电机的一端设有消音器,所述电机的底端设有支撑架,所述电机与定时器电性连接,所述箱体顶端的一侧设有进水口,所述进水口的顶部设有阀门,所述箱体的表面上设有指示灯。

作为本发明的一种优选技术方案,所述箱体的顶部设有密封盖,所述密封盖上设有若干锁紧器。

作为本发明的一种优选技术方案,所述机架的顶端设有扶手支撑杆,所述扶手支撑杆的一侧设有凹槽,所述机架的底端设有滚轮。

作为本发明的一种优选技术方案,所述卷管器通过支撑架与所述机架固定连接。

作为本发明的一种优选技术方案,所述轮叶上设有条形缝隙,所述轮叶为流水线形。

作为本发明的一种优选技术方案,所述储药箱瓶身透明。

本发明所达到的有益效果是:本发明,有效的将药液与水充分的混合,使得喷洒效果更好,通过滚轮,便于移动打药机,节约人力,电机与定时器连接,能够使得电机定时工作,节约电能,比较环保,电机底端架空,能够及时散发热量,增加电机的使用寿命,喷头借由手持杆能够伸缩,使得喷洒效率提高,节约时间,操作简单,易于推广。

附图说明

附图用来提供对本发明的进一步理解,并且构成说明书的一部分,与本发明的实施例一起用于解释本发明,并不构成对本发明的限制。在附图中:

图1是本发明的主观结构示意图;

图2是本发明的箱体结构示意图;

图中:1、箱体;2、机架;3、卷管器;4、输送管;5、手持杆;6、减震器;7、水泵;8、过滤罩;9、喷头;10、卡环;11、储药箱;12、手动阀门;13、轮叶;14、转轴;15、电机;16、定时器;17、进水口;18、密封盖;19、扶手支撑杆;20、液位传感器。

具体实施方式

以下结合附图对本发明的优选实施例进行说明,应当理解,此处所描述的优选实施例仅用于说明和解释本发明,并不用于限定本发明。

实施例1

如图1-2所示,本发明提供一种用于林业治理的高效打药机,包括箱体1、机架2、卷管器3、输送管4和手持杆5,箱体1通过减震器6与机架2连接,箱体1内部的底端设有水泵7,水泵7上设有过滤罩8,水泵7通过输送管4与卷管器3连接,输送管4的一端设有喷头9,喷头9的底端设有卡环10,卡环10通过卡槽与手持杆5连接,箱体1的顶端设有储药箱11,储药箱11的一侧设有手动阀门12,箱体1的内壁上设有液位传感器20,箱体1的内部设有轮叶13,轮叶13通过转轴14与电机15连接,电机15的一端设有消音器,电机15的底端设有支撑架,电机15与定时器16电性连接,箱体1顶端的一侧设有进水口17,进水口17的顶部设有阀门,箱体1的表面上设有指示灯。

箱体1的顶部设有密封盖18,密封盖18上设有若干锁紧器,密封盖18的顶部周侧使用密封圈,能够通过锁紧器锁紧密封盖18,保障箱体1内的混合药水不会流出。

机架2的顶端设有扶手支撑杆19,扶手支撑杆19的一侧设有凹槽,机架2的底端设有滚轮,便于使用者操作,能够推行或是拖行机架2,以便方便对林木喷洒药物,凹槽内能够放置手持杆5,便于放置。

卷管器3通过支撑架与机架2固定连接,能够使得卷管器3能够稳定放置在机架上,使得卷管器3便于收放输送管4。

轮叶13上设有条形缝隙,轮叶13为流水线形,减小阻力,降低能量的消耗。

储药箱11瓶身透明,便于查看药量的多少,便于及时补充药量。

具体使用时,箱体1内设有轮叶13,通过电机15带动转轴14使得轮叶13转动,搅动箱体1内的液体,使得药与水能够充分混合,电机15与定时器16连接,使得电机15定时工作,节约电量,比较环保,电机15的身侧设有消音器,防止噪声对环境和人体造成伤害,箱体1内的液位传感器20能够及时将箱体1内的液体量的多少传达出,使得使用者能够及时对其补充液体,通过储药箱11上设置的手动阀门12,控制药量的流量,将水管接入进水口17,调动进水口17上的阀门,便于控制水流的开关,混合后的液体,通过水泵7将液体由输送管4流出,通过喷头9喷洒出去,手持杆5支撑输送管4,手持杆5能够伸缩,通过卷管器3能够使得输送管4的长度发生变化,可以调控喷头9的高低,便于对不同的林木喷洒药水,使用比较方便。

本发明,有效的将药液与水充分的混合,使得喷洒效果更好,通过滚轮,便于移动打药机,节约人力,电机15与定时器16连接,能够使得电机15定时工作,节约电能,比较环保,电机15底端架空,能够及时散发热量,增加电机15的使用寿命,喷头9借由手持杆5能够伸缩,使得喷洒效率提高,节约时间,操作简单,易于推广。

最后应说明的是:以上所述仅为本发明的优选实施例而已,并不用于限制本发明,尽管参照前述实施例对本发明进行了详细的说明,对于本领域的技术人员来说,其依然可以对前述各实施例所记载的技术方案进行修改,或者对其中部分技术特征进行等同替换。凡在本发明的精神和原则之内,所作的任何修改、等同替换、改进等,均应包含在本发明的保护范围之内。

文档序号 : 【 12072754 】

技术研发人员:胡达春
技术所有人:胡达春

备 注:该技术已申请专利,仅供学习研究,如用于商业用途,请联系技术所有人。
声 明此信息收集于网络,如果你是此专利的发明人不想本网站收录此信息请联系我们,我们会在第一时间删除
胡达春胡达春
一种复配杀虫剂的制作方法 一种水泥池养殖菲牛蛭的防逃逸装置的制造方法
相关内容