一种具有防护机制的盐碱地治理用平整机的制作方法

本技术涉及平整机,具体为一种具有防护机制的盐碱地治理用平整机。
背景技术:
1、碱地治理中包括很多相关设备,例如翻土设备、检测设备、取样设备、平整设备等等。其中用于盐碱地治理的平整机的使用极为广泛,主要用于对翻土设备工作后的土壤进行平整作业。
2、现有的盐碱地治理用平整机,其主要用于安装在农机背后,进行驱动用于将高的土壤进行铲平并将土壤收集至铲斗内用于填平坑洼处,进而达到平整治理盐碱地的目的,但在使用的过程中盐碱地的土壤会直接与铲斗进行接触,长此以往会加快对铲斗的磨损,降低其使用寿命;同时由于平整机的铲斗的容量有限,从而使得收集至铲斗内的土壤极易从铲斗顶部无规则的溢出,从而使得工作人员需要往复多次进行整平作业,限制了其工作效率。
技术实现思路
1、本实用新型的目的在于提供一种具有防护机制的盐碱地治理用平整机,以解决上述背景技术中提出的问题。
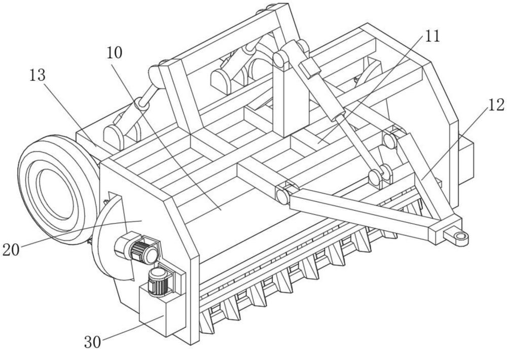
2、为了解决上述技术问题,本实用新型提供如下技术方案:一种具有防护机制的盐碱地治理用平整机,包括铲斗,侧板,承接箱,分散盘和锥形块,所述铲斗的两端通过焊接的方式连接所述侧板,所述侧板开设有矩形槽,所述矩形槽的内部活动连接有所述分散盘,所述侧板的一侧通过螺栓连接有伺服电机,所述承接箱通过焊接的方式连接所述侧板的一侧,所述铲斗的一侧设有第一联动杆,所述第一联动杆的一侧设有第二联动杆,所述第一联动杆与所述第二联动杆的下方均通过焊接的方式连接有所述锥形块,所述锥形块均匀分布在所述第一联动杆与所述第二联动杆的下方,所述承接箱的上方通过螺栓的方式连接有驱动电机,所述驱动电机的输出端环绕有驱动皮带。
3、优选地,所述承接箱的内部开设有空腔,所述第一联动杆与所述第二联动杆的两端均洞穿滑动连接所述侧板,所述驱动皮带活动连接所述空腔的内部。
4、优选地,所述驱动皮带的一侧套接有第一z形杆,所述驱动皮带远离所述第一z形杆的一侧套接有第二z形杆,所述第一z形杆的底部洞穿活动连接所述第一联动杆,所述第二z形杆的底端洞穿活动连接所述第二联动杆。
5、优选地,所述伺服电机的输出端环绕有传动皮带,所述传动皮带远离所述伺服电机的一侧环绕所述分散盘。
6、优选地,所述分散盘远离所述伺服电机的一侧通过焊接的方式连接有分散斗。
7、优选地,所述分散斗均匀环绕分布所述分散盘的一侧。
8、优选地,所述铲斗的上方通过焊接的方式连接有衔接架,所述衔接架通过焊接的方式连接所述侧板,所述衔接架的一侧活动连接有安装架,所述衔接架远离所述安装架的一侧活动连接有移动托架。
9、与现有技术相比,本实用新型所达到的有益效果是:
10、第一,本实用新型通过设置铲斗,侧板和承接箱,当通过衔接架与安装架将整个物件安装至农机并进行整平作业时,可通过外部的控制器操纵驱动电机的运作,从而通过其输出端的驱动皮带使得第一z形杆与第二z形杆旋转,由于第一z形杆与第二z形杆的底端分别都洞穿活动连接了第一联动杆与第二联动杆,且第一联动杆与第二联动杆的两端都是贯穿滑动连接侧板,进而能让第一联动杆与第二联动杆带着底部的锥形块进行交错往复运动,最终能让锥形块对盐碱地的土壤进行初步的松懈,再由铲斗进行接触并进行平整处理,进而对铲斗进行防护,增加其使用寿命。
11、第二,本实用新型通过设置侧板,当盐碱地的土壤配合农机的行驶被铲入铲斗的一侧,此时通过外部的控制器使得侧板一侧的伺服电机运作,从而通过传动皮带使得分散盘的轴带着分散盘在矩形槽的内部高速旋转,进而使得分散斗对铲斗一侧的土壤进行挂取并在离心的作用下降土壤甩出,最终能对铲斗收集的盐碱土壤进行分散甩出,从而使得盐碱土壤分散均匀,更加方便进行平整处理,进而提高工作效率。
技术特征:
1.一种具有防护机制的盐碱地治理用平整机,包括铲斗(10),侧板(20),承接箱(30),分散盘(22)和锥形块(38),其特征在于:所述铲斗(10)的两端通过焊接的方式连接所述侧板(20),所述侧板(20)开设有矩形槽(21),所述矩形槽(21)的内部活动连接有所述分散盘(22),所述侧板(20)的一侧通过螺栓连接有伺服电机(24),所述承接箱(30)通过焊接的方式连接所述侧板(20)的一侧,所述铲斗(10)的一侧设有第一联动杆(36),所述第一联动杆(36)的一侧设有第二联动杆(37),所述第一联动杆(36)与所述第二联动杆(37)的下方均通过焊接的方式连接有所述锥形块(38),所述锥形块(38)均匀分布在所述第一联动杆(36)与所述第二联动杆(37)的下方,所述承接箱(30)的上方通过螺栓的方式连接有驱动电机(32),所述驱动电机(32)的输出端环绕有驱动皮带(33)。
2.根据权利要求1所述的一种具有防护机制的盐碱地治理用平整机,其特征在于:所述承接箱(30)的内部开设有空腔(31),所述第一联动杆(36)与所述第二联动杆(37)的两端均洞穿滑动连接所述侧板(20),所述驱动皮带(33)活动连接所述空腔(31)的内部。
3.根据权利要求1所述的一种具有防护机制的盐碱地治理用平整机,其特征在于:所述驱动皮带(33)的一侧套接有第一z形杆(34),所述驱动皮带(33)远离所述第一z形杆(34)的一侧套接有第二z形杆(35),所述第一z形杆(34)的底部洞穿活动连接所述第一联动杆(36),所述第二z形杆(35)的底端洞穿活动连接所述第二联动杆(37)。
4.根据权利要求1所述的一种具有防护机制的盐碱地治理用平整机,其特征在于:所述伺服电机(24)的输出端环绕有传动皮带(25),所述传动皮带(25)远离所述伺服电机(24)的一侧环绕所述分散盘(22)。
5.根据权利要求4所述的一种具有防护机制的盐碱地治理用平整机,其特征在于:所述分散盘(22)远离所述伺服电机(24)的一侧通过焊接的方式连接有分散斗(23)。
6.根据权利要求5所述的一种具有防护机制的盐碱地治理用平整机,其特征在于:所述分散斗(23)均匀环绕分布所述分散盘(22)的一侧。
7.根据权利要求1所述的一种具有防护机制的盐碱地治理用平整机,其特征在于:所述铲斗(10)的上方通过焊接的方式连接有衔接架(11),所述衔接架(11)通过焊接的方式连接所述侧板(20),所述衔接架(11)的一侧活动连接有安装架(12),所述衔接架(11)远离所述安装架(12)的一侧活动连接有移动托架(13)。
技术总结
本技术涉及平整机技术领域,且公开了一种具有防护机制的盐碱地治理用平整机。该一种具有防护机制的盐碱地治理用平整机,包括铲斗,侧板,承接箱,分散盘和锥形块,所述铲斗的两端通过焊接的方式连接所述侧板,所述侧板开设有矩形槽,所述矩形槽的内部活动连接有所述分散盘,所述侧板的一侧通过螺栓连接有伺服电机,所述承接箱通过焊接的方式连接所述侧板的一侧,所述铲斗的一侧设有第一联动杆;最终能让锥形块对盐碱地的土壤进行初步的松懈,再由铲斗进行接触并进行平整处理,进而对铲斗进行防护,增加其使用寿命;最终能对铲斗收集的盐碱土壤进行分散甩出,从而使得盐碱土壤分散均匀,更加方便进行平整处理,进而提高工作效率。
技术研发人员:任志鹏,刘俊杰,李毓峰,许讯,解浩瀚,赵硕
受保护的技术使用者:中恒农发(厦门)科技开发有限公司
技术研发日:20230923
技术公布日:2024/5/29
技术研发人员:任志鹏,刘俊杰,李毓峰,许讯,解浩瀚,赵硕
技术所有人:中恒农发(厦门)科技开发有限公司
备 注:该技术已申请专利,仅供学习研究,如用于商业用途,请联系技术所有人。
声 明 :此信息收集于网络,如果你是此专利的发明人不想本网站收录此信息请联系我们,我们会在第一时间删除
