一种农业机械农药喷砂装置的制作方法

本技术涉及农药喷砂装置,具体为一种农业机械农药喷砂装置。
背景技术:
1、农业机械是指在作物种植业和畜牧业生产过程中,以及农、畜产品初加工和处理过程中所使用的各种机械,农业机械包括农用动力机械、农田建设机械、土壤耕作机械、种植和施肥机械、植物保护机械、农田排灌机械、作物收获机械、农产品加工机械、畜牧业机械和农业运输机械等,广义的农业机械还包括林业机械、渔业机械和蚕桑、养蜂、食用菌类培植等农村副业机械,农业机械属于相对概念,指用于农业、畜牧业、林业和渔业所有机械的总称,农业机械属于农机具的范畴,推广使用农业机械称为农业机械化,农业机械一般按用途分类,其中大部分机械是根据农业的特点和各项作业的特殊要求而专门设计制造的,如土壤耕作机械、种植和施肥机械和植物保护机械等,另一部分农业机械则与其他行业通用,可以根据农业的特点和需要直接选用。
2、在中国实用新型专利申请公开说明书cn 112471112 a公开的一种农业机械用农药喷洒装置,包括框体、农药筒和外壳,所述外壳的内部设置有调节机构,所述调节机构的顶部固定连接有空心板,且空心板的内部设置有转动机构,所述调节机构包括环形板,所述环形板的两侧均固定连接有滑块,且滑块远离环形板的一侧通过滑轨与外壳内壁的一侧滑动连接,所述环形板内壁的两侧均固定连接有齿牙,本发明涉及农业机械技术领域。该农业机械用农药喷洒装置,通过启动第一电机,带动齿轮进行转动,齿轮通过齿牙带动环形板向上移动,能够对喷头的高度进行调节,便于对不同高度的农作物进行喷洒,适用范围更广,同时启动水泵,通过喷头自动对农药进行喷洒,减轻了农民的劳动量,节省了人力。
3、但是该农药喷洒装置设置的喷嘴较为单一且过少,在日常的工作时,由于需要给大量的农作物喷洒药水,这种单一的喷嘴会导致工作量的增加,喷洒的面积较少,因此大大的减少了工作的效率问题。
技术实现思路
1、本实用新型的目的在于提供一种农业机械农药喷砂装置,以解决上述背景技术中提出的问题。
2、为实现上述目的,本实用新型提供如下技术方案:
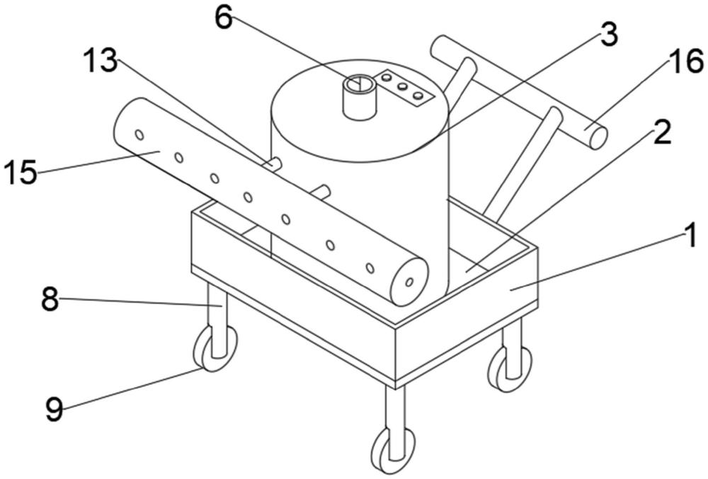
3、一种农业机械农药喷砂装置,挡板,所述挡板底部固定连接有垫板,所述垫板底部固定连接有移动机构,外桶内部固定连接有储药桶,所述储药桶内底部固定连接有搅拌机构,所述搅拌机构包括有电机、转轴、转叶,所述电机顶部插接有转轴,所述转轴一侧固定连接有转叶;
4、出水管,所述出水管顶部固定连接有抽水机,所述抽水机顶部固定连接有喷洒机构,所述喷洒机构包括有抽水机、注水管、压力阀、喷水柱,所述抽水机一侧插接有注水管,所述喷水柱内部固定连接有压力阀,所述注水管一侧插接有喷水柱。
5、优选的,所述移动机构包括有垫板、支撑柱、滑轮,所述垫板底部固定连接有支撑柱,所述支撑柱内部插接有滑轮。
6、优选的,所述挡板一侧固定连接有把手。
7、优选的,所述外桶顶部固定连接有注药孔。
8、与现有技术相比,本实用新型的有益效果是:
9、该一种农业机械农药喷砂装置,通过挡板、垫板、支撑柱、滑轮、把手的设置,使用时,工作人员将喷洒装置放置在垫板上面,通过挡板的设置,可以很好的防止该装置发生侧翻的情况,同时工作人员通过推动把手,在通过底部滑轮的设置,从而达到了移动喷洒药水的目的,避免了老式的背桶不仅储药量有限而且浪费体力,在通过注药孔、储药桶、抽水机、注水管、喷水柱的设置,使用时工作人员将需要喷洒的农药通过注药孔储存到储药桶的内部,然后通过内部的抽水机将内部的药水通过注水管抽到喷水柱的内部,然后在喷洒出去,从而达到了自动化的目的,避免了老式需要人力加压的方式,该种方式节省了体力同时也提高的工作的效率,大容量储药桶的设置,在和移动机构相配合,可以实现较大面积的喷洒,避免了频繁的注入药水降低了工作的效率,在通过喷水柱内部的压力阀的设置,使用时,当药水通过注水管时,会通过压力阀加压,从而达到了喷洒时实现喷出水雾的目的,从而进一步的节约药水并且喷出更大的面积,从而进一步的提高了工作的效率。该一种农业机械农药喷砂装置,通过电机、转轴、转叶的设置,使用时,当工作人员需要在储药桶内部注入多种药时,该设备启动电机转动带动转轴的转动,同时转轴转动带动转叶的转动,从而达到了给内部药水搅拌的作用,充分的均匀搅拌可以使药水起到更好的除草和除虫的作用,通过外桶顶部的注药孔的设置,也方便了工作人员的注入,不需要借助任何工具倒入储药箱的内部即可。
技术特征:
1.一种农业机械农药喷砂装置,其特征在于:包括
2.根据权利要求1所述的一种农业机械农药喷砂装置,其特征在于:所述移动机构包括有垫板(2)、支撑柱(8)、滑轮(9),所述垫板(2)底部固定连接有支撑柱(8),所述支撑柱(8)内部插接有滑轮(9)。
3.根据权利要求1所述的一种农业机械农药喷砂装置,其特征在于:所述挡板(1)一侧固定连接有把手(16)。
4.根据权利要求1所述的一种农业机械农药喷砂装置,其特征在于:所述外桶(3)顶部固定连接有注药孔(6)。
技术总结
本技术涉及农药喷砂装置技术领域,具体为一种农业机械农药喷砂装置,挡板,所述挡板底部固定连接有垫板,所述垫板底部固定连接有移动机构,外桶内部固定连接有储药桶,所述储药桶内底部固定连接有搅拌机构,所述搅拌机构包括有电机、转轴、转叶,所述电机顶部插接有转轴,通过挡板、垫板、支撑柱、滑轮、把手的设置,使用时,工作人员将喷洒装置放置在垫板上面,通过挡板的设置,防止发生侧翻的情况,通过推动把手,在通过底部滑轮的设置,达到移动喷洒药水的目的,避免了老式的背桶不仅储药量有限而且浪费体力,将需要喷洒的农药通过注药孔储存到储药桶的内部,通过内部的抽水机将内部的药水通过注水管抽到喷水柱的内部。
技术研发人员:王记英
受保护的技术使用者:五莲县松柏镇农业综合服务中心
技术研发日:20231101
技术公布日:2024/9/2
技术研发人员:王记英
技术所有人:五莲县松柏镇农业综合服务中心
备 注:该技术已申请专利,仅供学习研究,如用于商业用途,请联系技术所有人。
声 明 :此信息收集于网络,如果你是此专利的发明人不想本网站收录此信息请联系我们,我们会在第一时间删除
