带有根须切断结构的无土栽培种植筒的制作方法

本发明涉及无土栽培技术领域,更确切的说是一种带有根须切断结构的无土栽培种植筒。
背景技术:
无土栽培是一种使用培养液来栽培植物的种植方式,它在栽培植物时不需要使用土,具有占地较少,产量较高等优点。但是由于无土栽培的过程中没有土来固定植物,需要在无土栽培装置中安装固根器,植物在生长的过程中,根系会逐渐插入固根器上的孔中接触培养液来吸取养分,大量的根系插入固根器上的孔中后即可达到固定植株的目的。但是植物衰老后,需要从固根器中拔出时,由于植物的根系与固根器连接较为紧密,存在难以拔出植物、固根器被损坏、大量的根系残留在种植筒内堵塞种植筒等技术问题,为解决这些技术问题,现有技术中采用一次性固根器,这种一次性固根器与种植筒为相互分离结构,将植物的根系连同一次性固根器一起取出即可。但是一次性定植器往往采用难以被自然环境所降解的塑料制成,对环境危害较为严重,而且植物的根系在定植器下方也会纵横交错在一起,部分与植物根系紧密连接在一起的一次性定植器仍然较难被拔出。此外部分植物的植株较为高大,重量也较大,受到大风吹动时,很容易将固根器从种植筒内拔出,不仅不利于植物正常生长,而且种植筒多放置在阳台、露台等较高的位置,植物从高处坠落也容易砸伤人,使用不够安全。
技术实现要素:
本发明主要是解决现有技术所存在的技术问题,从而提供一种带有根须切断筒,在取出固根器的过程中可以切断根须,便于将固根器取出,同时也便于将固根器与植物分离,固根器可重复使用,因而对环境较为友好的带有根须切断结构的无土栽培种植筒。
本发明通过下述技术方案来解决现有技术中所存在的技术问题:
一种带有根须切断结构的无土栽培种植筒,包括一个种植筒本体和多个固根器,所述的种植筒本体本体为水平放置的筒形结构、上侧设置有多个种植孔,所述的固根器为桶形结构、表面均匀布置有穿根孔、上端边沿设置有第一突缘,所述的带有根须切断结构的无土栽培种植筒还包括多个根须切断筒,所述的种植孔上设置有一连接筒,所述的连接筒的内表面上设置有螺纹,所述的根须切断筒的外表面设置有螺纹、上端边沿设置有一第二突缘,所述的第二突缘为六角形结构,所述的根须切断筒与所述的连接筒螺纹连接,所述的固根器的高度大于所述的根须切断筒的高度,所述的固根器的外直径与所述的根须切断筒的内直径相等;所述的固根器布置在所述的根须切断筒内;所述的固根器及所述的根须切断筒均由不锈钢制成。
作为本发明较佳的实施例,所述的固根器的外表面设置有螺纹,所述的第一突缘为六角形结构;所述的根须切断筒的内表面设置有螺纹,所述的固根器与所述的根须切断筒螺纹连接。
作为本发明较佳的实施例,所述的根须切断筒的下端开设有切割刃。
本发明的带有根须切断结构的无土栽培种植筒的优点是:带有根须切断筒,在取出固根器的过程中可以切断根须,便于将固根器取出,同时也便于将固根器与植物分离,固根器可重复使用,因而对环境较为友好。
附图说明
为了更清楚地说明本发明实施例或现有技术中的技术方案,下面将对实施例或现有技术描述中所需要使用的附图作简单地介绍,显而易见地,下面描述中的附图仅仅是本发明的一些实施例,对于本领域普通技术人员来讲,在不付出创造性劳动的前提下,还可以根据这些附图获得其他的附图。
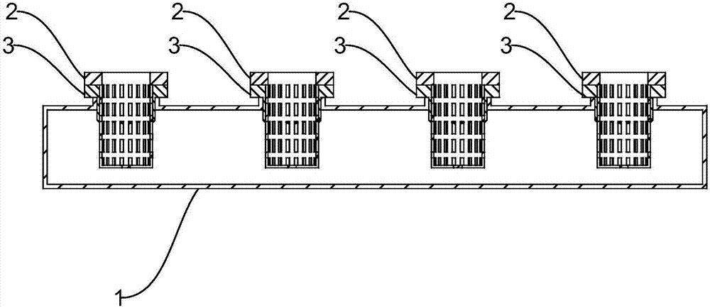
图1为本发明的带有根须切断结构的无土栽培种植筒的结构示意图;
图2为图1中的带有根须切断结构的无土栽培种植筒的剖视图,此时视角为主视;
图3为图1中的带有根须切断结构的无土栽培种植筒的爆炸结构示意图;
图4为图1中的种植筒本体的立体结构示意图;
图5为图1中的固根器的立体结构示意图;
图6为图1中的根须切断筒的立体结构示意图;
其中:
1、种植筒本体;11、种植孔;12、连接筒;
2、固根器;21、穿根孔;22、第一突缘;
3、根须切断筒;31、第二突缘;32、切割刃。
具体实施方式
下面对本发明的优选实施例进行详细阐述,以使本发明的优点和特征能更易于被本领域技术人员理解,从而对本发明的保护范围做出更为清楚明确的界定。
本发明的带有根须切断结构的无土栽培种植筒的优点是:带有根须切断筒,在取出固根器的过程中可以切断根须,便于将固根器取出,同时也便于将固根器与植物分离,固根器可重复使用,因而对环境较为友好。
实施例一:
如图1、图2、图3所示,一种带有根须切断结构的无土栽培种植筒,包括一个种植筒本体1、多个固根器2和多个根须切断筒3;
如图4所示,该种植筒本体1本体为水平放置的筒形结构、上侧设置有多个种植孔11,该种植孔11上设置有一连接筒12,该连接筒12的内表面上设置有螺纹;
如图5所示,该固根器2为桶形结构、表面均匀布置有穿根孔21、上端边沿设置有第一突缘22;
如图6所示,该根须切断筒3的外表面设置有螺纹、上端边沿设置有一第二突缘31,该第二突缘31为六角形结构,
如图2、图3所示,该根须切断筒3与该连接筒12螺纹连接,该固根器2的高度大于该根须切断筒3的高度,该固根器2的外直径与该根须切断筒3的内直径相等;该固根器2布置在该根须切断筒3内;该固根器2及该根须切断筒3均由不锈钢制成。
当植物衰老以后需要拔出时,拔出该固根器2的同时该根须切断筒3的下端即可切断根须,因而较容易拔出固根器2,拔出固根器2以后,由于没有根须穿插在固根器2的穿根孔21中,因此也较容易将固根器从植物的根须上取下,以便重复利用;残留在该种植筒本体1内被切下的根须较为短小,使用高速水流即可将其冲出种植筒本体1,因此种植筒本体1也不容易被堵塞,使用寿命较长。采用不锈材料制作该固根器2和该根须切断筒3而不用钢材制作是为了防止固根器2和根须切断筒3长时间处于潮湿环境下锈在一起而无法打开。
实施例一中,植株受大风吹动后,很可能将固根器2从该种植筒本体1中拔出,不利于植物的生长,而且也不够案例;而且某些植物的根须较为粗壮,该根须切断筒3难以将其根须切断,从而使用户仍然难以将固根器2从种植筒1中拔出。为解决这两个技术问题,本发明提供了实施例二;
实施例二:
在实施例一的基础上,如图5所示,该固根器2的外表面设置有螺纹,该第一突缘22为六角形结构;该根须切断筒3的内表面设置有螺纹,该固根器2与该根须切断筒3螺纹连接。通过设置这一螺纹连接结构,可以防止该固根器2被意外拔出;而且使用六角形结构的第一突缘2,便于用户使用扳手旋转该固根器2,从而可以切断较为粗壮的根须。
如图6所示,该根须切断筒3的下端开设有切割刃32。设置该切割丸32以后,可以进一步提高该根须切断筒3切断根须的能力。
以上仅仅是本发明的部分实施方式的设计思路,在系统允许的情况下,本发明可以扩展为同时外接更多的功能模块,从而最大限度扩展其功能。
以上所述,仅为本发明的具体实施方式,但本发明的保护范围并不局限于此,任何不经过创造性劳动想到的变化或替换,都应涵盖在本发明的保护范围之内。因此,本发明的保护范围应该以权利要求书所限定的保护范围为准。
技术研发人员:朱光来,王权,徐欣
技术所有人:江苏农牧科技职业学院
备 注:该技术已申请专利,仅供学习研究,如用于商业用途,请联系技术所有人。
声 明 :此信息收集于网络,如果你是此专利的发明人不想本网站收录此信息请联系我们,我们会在第一时间删除