一种蔬菜防倒伏装置的制作方法

本实用属于蔬菜种植,具体涉及一种蔬菜防倒伏装置。
背景技术:
1、蔬菜种植是指将蔬菜种子进行播种,并对其进行培育、管理,最终收获蔬菜的过程,在蔬菜种植过程中,蔬菜上进入盛果期,也就是结了很多果实,在蔬菜进入盛果期后,它们的重量和结构可能会使它们在风雨中容易倒伏。倒伏的蔬菜可能会导致机械性损伤,使得病原体更容易侵入并导致腐烂。
2、现有技术中农民通常会采取一系列的措施对西红柿的枝丫进行支撑,例如申请号为cn201821610906.5的专利,包括支撑杆和所述支撑杆上设置的用于对植物的枝干进行限位的限位装置,所述限位装置包括能够沿所述支撑杆滑动的滑动部和与所述滑动部连接的用于与所述植物的枝干连接的限位部。
3、但是这样方式支撑杆不稳固,因为重心偏移的时候会向一边偏移,这个时候底部的固定杆容易翘起,造成底部固定不牢固,容易发生倾倒的现象。
4、现有的防倒伏装置大多功能单一,农民还需要弯腰进行浇水、打药和加入营养剂,这样就加大了农民的劳动力。
5、为此,我们提出了一种蔬菜防倒伏装置,不仅能够达到防倒伏的效果,同时集浇水和喷药、营养供给于一体,能够方便人们进行种植蔬菜,降低人们的劳动力。
技术实现思路
1、本实用的目的是提供一种蔬菜防倒伏装置,不仅能够达到防倒伏的效果,同时集浇水和喷药、营养供给于一体,能够方便人们进行种植蔬菜,降低人们的劳动力。
2、本实用采取的技术方案具体如下:
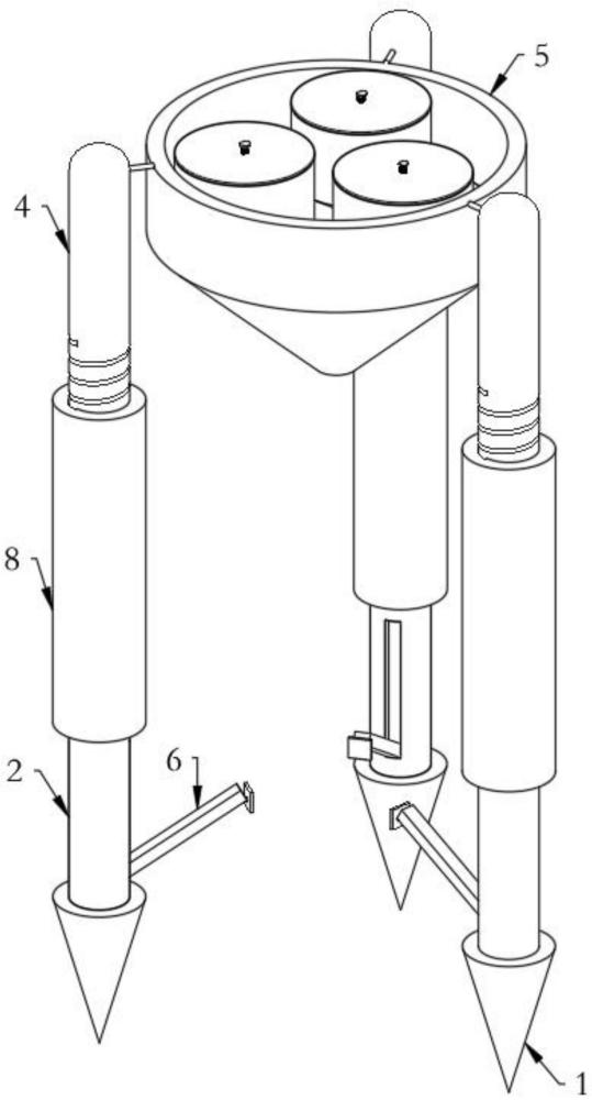
3、一种蔬菜防倒伏装置,包括三个插头,每个所述插头顶部均固定设置有第一连接杆,所述第一连接杆上开设有凹槽,所述凹槽内部设置有支撑组件,且所述第一连接杆顶部设置有高度调节组件,所述高度调节组件上设置有第二连接杆,所述第二连接杆顶部设置有第一固定杆,所述第一固定杆一侧安装有第一圆锥形筒,所述第一圆锥形筒内部设置有种植组件;
4、所述支撑组件包括铰接设置在凹槽内部的伸缩杆,所述伸缩杆另一端铰接有第一支撑杆,所述第一支撑杆远离所述伸缩杆的一端安装有弧形支撑块。
5、进一步的,三个所述插头呈等腰三角形分布。
6、进一步的,所述高度调节组件包括转动设置在所述第一连接杆顶部的第三连接杆,所述第三连接杆顶部开设有螺纹孔,所述第二连接杆上设置有螺纹,所述螺纹与所述螺纹孔相匹配。
7、进一步的,所述种植组件包括固定设置在所述第一圆锥形筒内部的圆锥形盛水筒、圆锥形药剂筒和圆锥形营养液筒,所述圆锥形盛水筒、所述圆锥形药剂筒和所述圆锥形营养液筒顶部均螺纹设置有密封盖,且所述圆锥形盛水筒、所述圆锥形药剂筒和所述圆锥形营养液筒内部均设置有圆锥形块,所述圆锥形块顶部安装有第四连接杆,所述第四连接杆顶部贯穿出所述密封盖并安装有限位盘,且所述第四连接杆贯穿套设有弹簧,所述弹簧位于所述限位盘和所述密封盖之间。
8、进一步的,所述第一圆锥形筒出水口安装有喷洒头。
9、进一步的,所述圆锥形盛水筒、所述圆锥形药剂筒和所述圆锥形营养液筒上均设置有刻度。
10、本实用取得的技术效果为:
11、1、首先通过插杆插在土地里,使整个装置套在蔬菜上,然后使三个伸缩杆转动,转动一定的角度的时候使伸缩杆伸长,从而使弧形支撑块与蔬菜颈接触,然后转动弧形支撑块与蔬菜颈贴合,从而进行支撑,从而达到蔬菜防倒伏的现象。
12、2、在进行种植的时候,人们不用弯腰,只需拉动第四连接杆,第四连接杆带动圆锥形块向上移动,从而使圆锥形盛水筒、圆锥形药剂筒和圆锥形营养液筒内部的液体通过第一圆锥形筒出口排出,从而滴落在蔬菜上,水进入蔬菜进行浇水,药剂筒喷洒药剂,从而达到防虫的效果,营养液喷洒在蔬菜上,从而提供蔬菜所需的营养。能够集浇水和喷药、营养供给于一体,能够方便人们进行种植蔬菜,降低人们的劳动力。
技术特征:
1.一种蔬菜防倒伏装置,包括三个插头(1),其特征在于:每个所述插头(1)顶部均固定设置有第一连接杆(2),所述第一连接杆(2)上开设有凹槽(3),所述凹槽(3)内部设置有支撑组件,且所述第一连接杆(2)顶部设置有高度调节组件,所述高度调节组件上设置有第二连接杆(4),所述第二连接杆(4)顶部设置有第一固定杆,所述第一固定杆一侧安装有第一圆锥形筒(5),所述第一圆锥形筒(5)内部设置有种植组件;
2.根据权利要求1所述的一种蔬菜防倒伏装置,其特征在于:三个所述插头(1)呈等腰三角形分布。
3.根据权利要求1所述的一种蔬菜防倒伏装置,其特征在于:所述高度调节组件包括转动设置在所述第一连接杆(2)顶部的第三连接杆(8),所述第三连接杆(8)顶部开设有螺纹孔,所述第二连接杆(4)上设置有螺纹,所述螺纹与所述螺纹孔相匹配。
4.根据权利要求1所述的一种蔬菜防倒伏装置,其特征在于:所述种植组件包括固定设置在所述第一圆锥形筒(5)内部的圆锥形盛水筒(9)、圆锥形药剂筒(10)和圆锥形营养液筒(11),所述圆锥形盛水筒(9)、所述圆锥形药剂筒(10)和所述圆锥形营养液筒(11)顶部均螺纹设置有密封盖(14),且所述圆锥形盛水筒(9)、所述圆锥形药剂筒(10)和所述圆锥形营养液筒(11)内部均设置有圆锥形块(12),所述圆锥形块(12)顶部安装有第四连接杆(13),所述第四连接杆(13)顶部贯穿出所述密封盖(14)并安装有限位盘,且所述第四连接杆(13)贯穿套设有弹簧(15),所述弹簧(15)位于所述限位盘和所述密封盖(14)之间。
5.根据权利要求1所述的一种蔬菜防倒伏装置,其特征在于:所述第一圆锥形筒(5)出水口安装有喷洒头。
6.根据权利要求4所述的一种蔬菜防倒伏装置,其特征在于:所述圆锥形盛水筒(9)、所述圆锥形药剂筒(10)和所述圆锥形营养液筒(11)上均设置有刻度。
技术总结
本实用属于蔬菜种植技术领域,具体涉及一种蔬菜防倒伏装置,包括三个插头,每个插头顶部均固定设置有第一连接杆,第一连接杆上开设有凹槽,凹槽内部设置有支撑组件,且第一连接杆顶部设置有高度调节组件,高度调节组件上设置有第二连接杆,第二连接杆顶部设置有第一固定杆,第一固定杆一侧安装有第一圆锥形筒,第一圆锥形筒内部设置有种植组件,支撑组件包括铰接设置在凹槽内部的伸缩杆,伸缩杆另一端铰接有第一支撑杆,第一支撑杆远离伸缩杆的一端安装有弧形支撑块,三个插头呈等腰三角形分布。该装置不仅能够达到防倒伏的效果,同时集浇水和喷药、营养供给于一体,能够方便人们进行种植蔬菜,降低人们的劳动力。
技术研发人员:何勇,李翠萍
受保护的技术使用者:四川膳源农业开发有限公司
技术研发日:20231205
技术公布日:2024/7/11
技术研发人员:何勇,李翠萍
技术所有人:四川膳源农业开发有限公司
备 注:该技术已申请专利,仅供学习研究,如用于商业用途,请联系技术所有人。
声 明 :此信息收集于网络,如果你是此专利的发明人不想本网站收录此信息请联系我们,我们会在第一时间删除
