食用菌种植架

本技术涉及食用菌种植,特别涉及食用菌种植架。
背景技术:
1、食用菌是指子实体硕大、可供食用的(大型真菌),通称为蘑菇。中国已知的食用菌有350多种,其中多属担子菌亚门,常见的有:香菇、草菇、蘑菇、木耳、银耳、猴头、竹荪、(松茸)、口蘑、红菇、灵芝、虫草、松露、白灵菇和牛肝菌等;少数属于子囊菌亚门,其中有:羊肚菌、马鞍菌、块菌等。上述真菌分别生长在不同的地区、不同的生态环境中;
2、食用菌在培育的过程中培养基需要保持一定的湿度,现有的食用菌种植,在使用的过程中,会出现对培养基喷水不方便或者喷水不均匀的问题;且在食用菌采摘完成后,不方便对种植架的拆卸与清洗,因此需要提供一种食用菌种植架来解决上述问题。
技术实现思路
1、本实用新型的主要目的在于提供食用菌种植架,可以有效解决背景技术中的问题。
2、为实现上述目的,本实用新型采取的技术方案为:
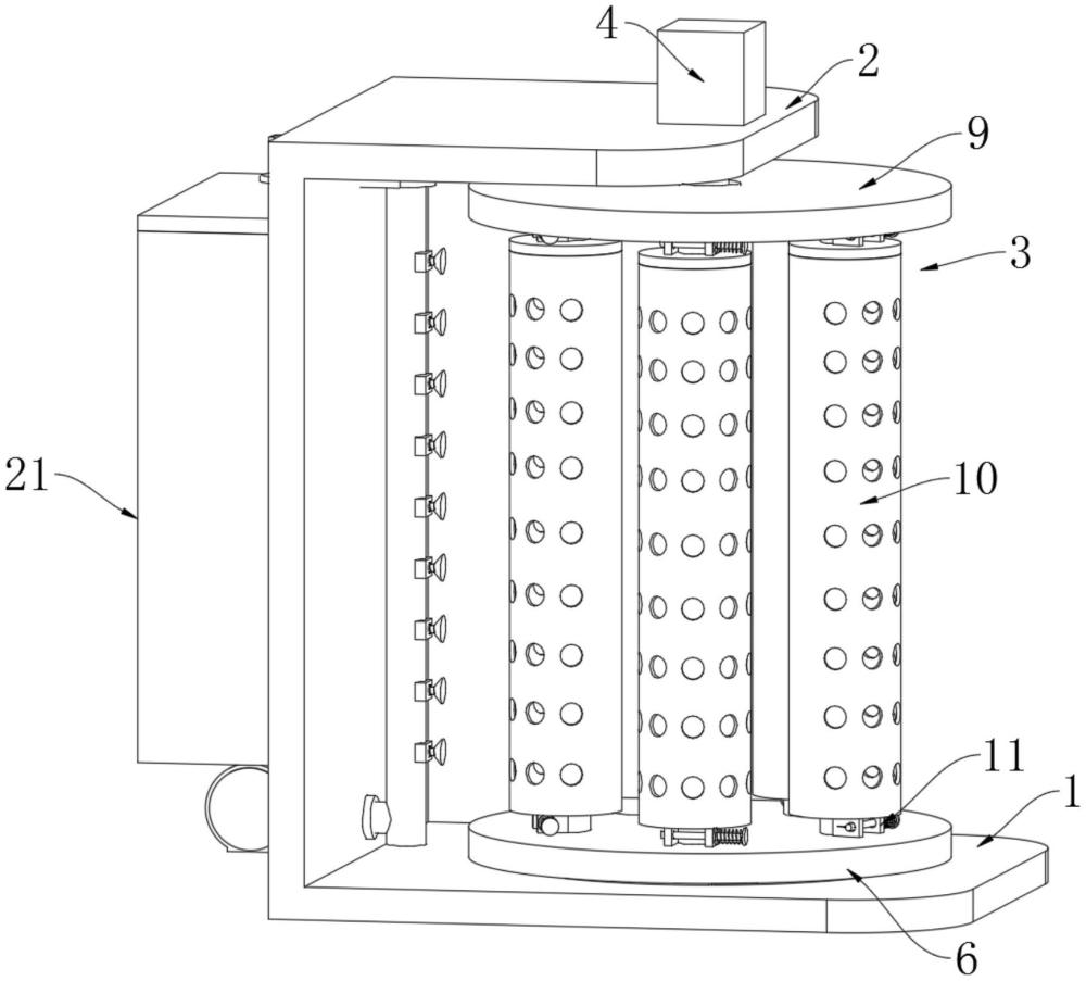
3、食用菌种植架,包括l形承载架,所述l形承载架的顶端设置有安装顶板,且安装顶板的底部设置有种植组件,所述l形承载架的侧面设置有喷洒组件,且喷洒组件与种植组件对应设置;
4、种植组件包括旋转盘,所述旋转盘的顶部设置有安装组件,且安装组件的顶端设置有种植筒,所述种植筒的顶端设置顶板,所述顶板的中间设置有旋转杆,所述旋转杆的顶端设置有驱动电机;
5、安装组件包括卡接环,所述卡接环的侧面设置有连接耳板,所述连接耳板的中间设置有限位滑杆,所述限位滑杆的一端外壁上设置有连接弹簧,且限位滑杆的另一端设置有限位滑轨;
6、喷洒组件包括蓄水箱,所述蓄水箱的底部设置有水泵,所述水泵的侧面设置有出水管,所述出水管的一端设置有连接竖管,且连接竖管的侧面设置有雾化喷头。
7、优选的,所述驱动电机的底部通过螺栓连接在安装顶板的顶部,且驱动电机位于安装顶板远离l形承载架的一侧顶部,所述驱动电机的输出端与旋转杆传动连接,且旋转杆靠近驱动电机的一端通过轴承安装在安装顶板的中间,所述旋转杆远离驱动电机的一端通过轴承安装在l形承载架的底部内壁上。
8、优选的,所述旋转杆靠近l形承载架的一端与旋转盘通过螺栓连接,且旋转盘套设在旋转杆的外部,所述旋转盘的底部固定安装有弧形支撑板,且弧形支撑板有四个,分别均匀分布在旋转盘的底部,所述弧形支撑板的底部与l形承载架相接触,且l形承载架的底部内壁上开设有环形限位槽,所述弧形支撑板滑动连接在环形限位槽的内部,所述旋转杆靠近安装顶板的一端通过螺栓与顶板连接,且顶板与旋转盘在旋转杆的两端对称设置,所述顶板与旋转盘之间设置有种植筒,且种植筒有多个,分别均匀分布在旋转盘与顶板之间。
9、优选的,所述安装组件有多组,分别对称分布在旋转盘的顶部与顶板的底部,且每两组安装组件与一个种植筒对应设置,所述卡接环的底部固定安装在旋转盘的顶部,所述卡接环远离旋转杆的一侧与连接耳板固定连接,且连接耳板有两个,分别对称分布在卡接环的两侧,所述连接耳板的中间开设有通孔,且通孔与连接耳板对应设置,所述连接耳板与限位滑杆滑动连接,且限位滑杆贯穿通孔。
10、优选的,所述限位滑杆连接两个连接耳板,且其中一个连接耳板的侧面与连接弹簧卡接连接,另一侧连接耳板的侧面开设有滑槽,所述滑槽的内部滑动连接有限位滑轨,且限位滑轨插接在限位滑杆的中间,所述滑槽与连接弹簧在两个连接耳板的两侧对称设置,所述连接弹簧套设在限位滑杆的外壁上,所述限位滑杆远离连接耳板的一端固定安装有定位板,且定位板靠近限位滑杆的一侧与连接弹簧连接,所述连接弹簧位于定位板与连接耳板之间。
11、优选的,所述卡接环的中间卡接有安装杆,且安装杆位于卡接环与限位滑杆之间,所述安装杆远离卡接环的一端通过螺栓与种植筒连接,所述安装杆有多个,分别均匀分布在旋转盘的顶部与顶板的底部,且每两个安装杆对称安装在种植筒的两端。
12、优选的,所述蓄水箱的侧面通过螺栓安装在l形承载架的侧面,所述蓄水箱的底部安装有水泵,且水泵与l形承载架相邻设置,所述水泵的侧面安装有出水管,所述出水管贯穿l形承载架,所述出水管远离水泵的一端安装有连接竖管,且连接竖管设置在l形承载架远离蓄水箱的一侧,所述连接竖管与种植筒相邻设置,且连接竖管靠近种植筒的一侧安装有雾化喷头,所述雾化喷头有多个,分别均匀分布在连接竖管的侧面。
13、与现有技术相比,本实用新型具有如下有益效果:
14、1、通过设置的安装组件实现对种植筒的安装与拆卸,通过设置的卡接环与限位滑杆实现对安装杆与种植筒的限位,从而实现对种植筒的安装,方便快捷,便于后续的拆卸与清洗,通过设置的限位滑轨插接在限位滑杆的内部,从而实现对限位滑杆的限位,防止在旋转的过程中限位滑杆发生滑动,影响限位的稳定性;
15、2、通过设置的喷洒组件与种植组件相邻设置,从而方便对种植筒的灌溉作用,通过设置的驱动电机带动旋转杆、旋转盘与顶板旋转,从而使种植筒跟随旋转盘与顶板进行匀速旋转,在旋转的过程中种植筒匀速经过雾化喷头,从而实现对种植筒内部的食用菌的均匀灌溉,提高装置的实用性。
技术特征:
1.食用菌种植架,包括l形承载架(1),其特征在于:所述l形承载架(1)的顶端设置有安装顶板(2),且安装顶板(2)的底部设置有种植组件(3),所述l形承载架(1)的侧面设置有喷洒组件(21),且喷洒组件(21)与种植组件(3)对应设置;
2.根据权利要求1所述的食用菌种植架,其特征在于:所述驱动电机(4)的底部通过螺栓连接在安装顶板(2)的顶部,且驱动电机(4)位于安装顶板(2)远离l形承载架(1)的一侧顶部,所述驱动电机(4)的输出端与旋转杆(5)传动连接,且旋转杆(5)靠近驱动电机(4)的一端通过轴承安装在安装顶板(2)的中间,所述旋转杆(5)远离驱动电机(4)的一端通过轴承安装在l形承载架(1)的底部内壁上。
3.根据权利要求2所述的食用菌种植架,其特征在于:所述旋转杆(5)靠近l形承载架(1)的一端与旋转盘(6)通过螺栓连接,且旋转盘(6)套设在旋转杆(5)的外部,所述旋转盘(6)的底部固定安装有弧形支撑板(7),且弧形支撑板(7)有四个,分别均匀分布在旋转盘(6)的底部,所述弧形支撑板(7)的底部与l形承载架(1)相接触,且l形承载架(1)的底部内壁上开设有环形限位槽(8),所述弧形支撑板(7)滑动连接在环形限位槽(8)的内部,所述旋转杆(5)靠近安装顶板(2)的一端通过螺栓与顶板(9)连接,且顶板(9)与旋转盘(6)在旋转杆(5)的两端对称设置,所述顶板(9)与旋转盘(6)之间设置有种植筒(10),且种植筒(10)有多个,分别均匀分布在旋转盘(6)与顶板(9)之间。
4.根据权利要求1所述的食用菌种植架,其特征在于:所述安装组件(11)有多组,分别对称分布在旋转盘(6)的顶部与顶板(9)的底部,且每两组安装组件(11)与一个种植筒(10)对应设置,所述卡接环(13)的底部固定安装在旋转盘(6)的顶部,所述卡接环(13)远离旋转杆(5)的一侧与连接耳板(14)固定连接,且连接耳板(14)有两个,分别对称分布在卡接环(13)的两侧,所述连接耳板(14)的中间开设有通孔(18),且通孔(18)与连接耳板(14)对应设置,所述连接耳板(14)与限位滑杆(15)滑动连接,且限位滑杆(15)贯穿通孔(18)。
5.根据权利要求4所述的食用菌种植架,其特征在于:所述限位滑杆(15)连接两个连接耳板(14),且其中一个连接耳板(14)的侧面与连接弹簧(17)卡接连接,另一侧连接耳板(14)的侧面开设有滑槽(20),所述滑槽(20)的内部滑动连接有限位滑轨(19),且限位滑轨(19)插接在限位滑杆(15)的中间,所述滑槽(20)与连接弹簧(17)在两个连接耳板(14)的两侧对称设置,所述连接弹簧(17)套设在限位滑杆(15)的外壁上,所述限位滑杆(15)远离连接耳板(14)的一端固定安装有定位板(16),且定位板(16)靠近限位滑杆(15)的一侧与连接弹簧(17)连接,所述连接弹簧(17)位于定位板(16)与连接耳板(14)之间。
6.根据权利要求5所述的食用菌种植架,其特征在于:所述卡接环(13)的中间卡接有安装杆(12),且安装杆(12)位于卡接环(13)与限位滑杆(15)之间,所述安装杆(12)远离卡接环(13)的一端通过螺栓与种植筒(10)连接,所述安装杆(12)有多个,分别均匀分布在旋转盘(6)的顶部与顶板(9)的底部,且每两个安装杆(12)对称安装在种植筒(10)的两端。
7.根据权利要求1所述的食用菌种植架,其特征在于:所述蓄水箱(22)的侧面通过螺栓安装在l形承载架(1)的侧面,所述蓄水箱(22)的底部安装有水泵(23),且水泵(23)与l形承载架(1)相邻设置,所述水泵(23)的侧面安装有出水管(24),所述出水管(24)贯穿l形承载架(1),所述出水管(24)远离水泵(23)的一端安装有连接竖管(25),且连接竖管(25)设置在l形承载架(1)远离蓄水箱(22)的一侧,所述连接竖管(25)与种植筒(10)相邻设置,且连接竖管(25)靠近种植筒(10)的一侧安装有雾化喷头(26),所述雾化喷头(26)有多个,分别均匀分布在连接竖管(25)的侧面。
技术总结
本技术公开了食用菌种植架,涉及食用菌种植技术领域,包括L形承载架,所述L形承载架的顶端设置有安装顶板,且安装顶板的底部设置有种植组件,所述L形承载架的侧面设置有喷洒组件,且喷洒组件与种植组件对应设置,所述L形承载架的顶部设置有旋转盘,且旋转盘的顶部设置有安装组件。本技术所述的食用菌种植架,通过设置的安装组件实现对种植筒的安装与拆卸,通过设置的卡接环与限位滑杆实现对安装杆与种植筒的限位,从而实现对种植筒的安装,方便快捷,便于后续的拆卸与清洗,通过设置的限位滑轨插接在限位滑杆的内部,从而实现对限位滑杆的限位,防止在旋转的过程中限位滑杆发生滑动,影响限位的稳定性。
技术研发人员:李亚娇,王海燕,郭九峰,孙国琴,于传宗,庞杰,刘瑞,王宇胜,乌仁塔娜,张雪梅,鲁亚楠,吴媛,刘晓蕊
受保护的技术使用者:内蒙古自治区农牧业科学院
技术研发日:20231211
技术公布日:2024/7/9
技术研发人员:李亚娇,王海燕,郭九峰,孙国琴,于传宗,庞杰,刘瑞,王宇胜,乌仁塔娜,张雪梅,鲁亚楠,吴媛,刘晓蕊
技术所有人:内蒙古自治区农牧业科学院
备 注:该技术已申请专利,仅供学习研究,如用于商业用途,请联系技术所有人。
声 明 :此信息收集于网络,如果你是此专利的发明人不想本网站收录此信息请联系我们,我们会在第一时间删除
