一种农业用撒肥装置的制作方法

本发明涉及农业机械技术领域,具体是一种农业用撒肥装置。
背景技术:
农业是利用动植物的生长发育规律,通过人工培育来获得产品的产业。农业属于第一产业,研究农业的科学是农学。农业的劳动对象是有生命的动植物,获得的产品是动植物本身。农业提供支撑国民经济建设与发展的基础产品。
我国农业种植具有悠久的历史,在农业种植中常常会对种植物进行施肥以促进种植物的生长,由于肥料在生产、加工、储存和运输过程中,时常会出现结块的问题,给储存、运输和使用带来不少困难,化肥严重结块难以破碎,化肥部分结块对机械施肥不利,容易将喷头堵住,这些都会给施肥带来不便,而肥料粉碎后才能够使植物对肥料肥力进行充分吸收,但现在的施肥装置存在着结块肥料破碎不均匀,破碎速度慢,同时,还存在着施肥面积较小,施肥不均匀的问题,不利于种植物的生长,且施肥劳动强度大。
技术实现要素:
本发明所要解决的技术问题是提供一种农业用撒肥装置,其能够解决上述现在技术中的问题。
本发明是通过以下技术方案来实现的:本发明的一种农业用撒肥装置,包括撒肥车体以及安装在所述撒肥车体顶部的破碎箱,所述撒肥车体顶部端面内设有向下延伸设置的漏斗入料腔,所述漏斗入料腔底部相连通设有向左右两侧延伸设置的第一空腔,所述第一空腔下方的所述撒肥车体内设有第二空腔,所述第二空腔内底壁设有贯穿所述撒肥车体底部端面的排料口,所述第一空腔与所述第二空腔之间的所述撒肥车体内设有第三空腔,所述第三空腔左侧的所述撒肥车体内设有上下延伸设置的下料通道,所述下料通道顶部延伸末端与所述第一空腔左侧延伸末端相连通设置,所述下料通道底部延伸末端与所述第二空腔相连通设置,所述第三空腔右侧的所述撒肥车体内设有第四空腔,所述第四空腔位于所述第二空腔右侧延伸段的上方位置,所述第二空腔内设有撒肥机构,所述撒肥机构内顶部端面内设有储肥槽,所述撒肥机构左侧的所述第二空腔内设有顶压弹簧,所述撒肥机构右侧的所述第二空腔内设有往复推动机构,所述第三空腔内设有上下延伸设置的第一转动轴,所述第一转动轴顶部延伸段贯穿所述第三空腔与所述第一空腔之间的所述撒肥车体内壁体且转动配合连接,所述第一转动轴顶部延伸末端伸入所述第一空腔内且末端固设有离心转动盘,所述第一转动轴底部延伸段贯穿所述第三空腔与所述第二空腔之间的所述撒肥车体内壁体且转动配合连接,所述第一转动轴底部延伸末端伸入所述储肥槽内且末端固设有防堵搅拌叶,所述第三空腔内的所述第一转动轴外表面上周向固设有第一锥轮,所述第三空腔与所述第四空腔之间的所述撒肥车体内设有用以分别与所述第一锥轮和所述往复推动机构配合连接的驱进机构。
作为优选地技术方案,所述破碎箱内设有破碎腔,所述破碎腔内左右对称设有转动破碎机构,左右两侧所述转动破碎机构之间的所述破碎箱内顶壁设有进料口,所述破碎箱顶部端面设有底部与所述进料口顶部相连通设置的进料斗。
作为优选地技术方案,所述驱进机构包括电机以及配合连接设置在所述电机左右两侧且分别向远离所述电机一侧延伸设置的第二转动轴,所述电机左侧的所述第二转动轴远离所述电机一侧延伸段贯穿所述第三空腔右侧内壁且转动配合连接,所述电机左侧的所述第二转动轴远离所述电机一侧延伸末端伸入所述第三空腔内且末端固设有与所述第一锥轮啮合连接的第二锥轮,所述电机右侧的所述第二转动轴远离所述电机一侧延伸段贯穿所述第四空腔左侧内壁且转动配合连接,所述电机右侧的所述第二转动轴远离所述电机一侧延伸末端伸入所述第四空腔内且末端固设有第三锥轮。
作为优选地技术方案,所述储肥槽内底壁设有多组等距排布且贯穿所述撒肥机构底部端面的施肥孔。
作为优选地技术方案,所述往复推动机构包括上下延伸设置的第三转动轴,所述第三转动轴顶部延伸段贯穿所述第四空腔与所述第二空腔之间的所述撒肥机构内壁体且转动配合连接,所述第三转动轴顶部延伸末端伸入所述第四空腔内且末端固设有与所述第三锥轮啮合连接的第四锥轮,所述第三转动轴底部延伸末端与所述第二空腔内底壁转动配合连接,所述第二空腔内的所述第三转动轴上周向固设有与所述撒肥机构右侧外端面顶压滑动配合连接的偏心轮。
作为优选地技术方案,所述下料通道左侧内壁设有多组等距排布的破碎齿。
本发明的有益效果是:
1.通过撒肥机构左侧的第二空腔内设顶压弹簧,撒肥机构右侧的第二空腔内设往复推动机构,第三空腔内设上下延伸设置的第一转动轴,第一转动轴顶部延伸段贯穿第三空腔与第一空腔之间的撒肥车体内壁体且转动配合连接,第一转动轴顶部延伸末端伸入第一空腔内且末端固设离心转动盘,第一转动轴底部延伸段贯穿第三空腔与第二空腔之间的撒肥车体内壁体且转动配合连接,第一转动轴底部延伸末端伸入储肥槽内且末端固设防堵搅拌叶,第三空腔内的第一转动轴外表面上周向固设第一锥轮,第三空腔与第四空腔之间的撒肥车体内设用以分别与第一锥轮和往复推动机构配合连接的驱进机构,从而实现自动控制带动施肥以及破碎工作,提高施肥工作效率以及施肥质量,延长设备使用寿命。
2.通过驱进机构包括电机以及配合连接设置在电机左右两侧且分别向远离电机一侧延伸设置的第二转动轴,电机左侧的第二转动轴远离电机一侧延伸段贯穿第三空腔右侧内壁且转动配合连接,电机左侧的第二转动轴远离电机一侧延伸末端伸入第三空腔内且末端固设与第一锥轮啮合连接的第二锥轮,电机右侧的第二转动轴远离电机一侧延伸段贯穿第四空腔左侧内壁且转动配合连接,电机右侧的第二转动轴远离电机一侧延伸末端伸入第四空腔内且末端固设第三锥轮,从而实现自动控制离心转动盘转动,使落入离心转动盘上的肥料经离心转动盘转动并甩入下料通道与第一空腔相连处的下料通道内,通过下料通道上的破碎齿进而二次破碎工作,同时,自动控制储肥槽内的防堵搅拌叶持续转动工作,防止肥料过多堆积在储肥槽内而造成施肥孔堵塞,同时,自动控制往复推动机构工作。
3.通过往复推动机构包括上下延伸设置的第三转动轴,第三转动轴顶部延伸段贯穿第四空腔与第二空腔之间的撒肥机构内壁体且转动配合连接,第三转动轴顶部延伸末端伸入第四空腔内且末端固设与第三锥轮啮合连接的第四锥轮,第三转动轴底部延伸末端与第二空腔内底壁转动配合连接,第二空腔内的第三转动轴上周向固设与撒肥机构右侧外端面顶压滑动配合连接的偏心轮,从而实现带动撒肥机构往复左右移动,实现均匀施肥工作。
4.本发明结构简单,操作方便,能实现自动控制离心转动盘转动,使落入离心转动盘上的肥料经离心转动盘转动并甩入下料通道与第一空腔相连处的下料通道内,通过下料通道上的破碎齿进而二次破碎工作,同时,自动控制储肥槽内的防堵搅拌叶持续转动工作,防止肥料过多堆积在储肥槽内而造成施肥孔堵塞,同时,自动控制往复推动机构工作,提高施肥工作效率以及施肥质量,延长设备使用寿命。
附图说明
为了易于说明,本发明由下述的具体实施例及附图作以详细描述。
图1为本发明的一种农业用撒肥装置外部结构示意图;
图2为本发明的一种农业用撒肥装置内部结构示意图;
图3为本发明图2中“a-a”的剖视图;
图4为本发明的偏心轮最大程度远离第三转动轴中心线一侧的外表面与撒肥机构右侧外端面抵压滑动配合连接时的结构示意图。
具体实施方式
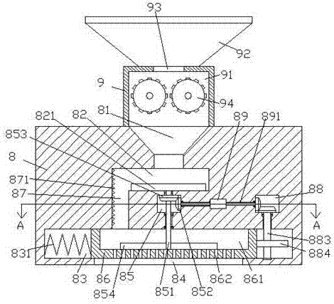
如图1-图4所示,本发明的一种农业用撒肥装置,包括撒肥车体8以及安装在所述撒肥车体8顶部的破碎箱9,所述撒肥车体8顶部端面内设有向下延伸设置的漏斗入料腔81,所述漏斗入料腔81底部相连通设有向左右两侧延伸设置的第一空腔82,所述第一空腔82下方的所述撒肥车体8内设有第二空腔83,所述第二空腔83内底壁设有贯穿所述撒肥车体8底部端面的排料口84,所述第一空腔82与所述第二空腔83之间的所述撒肥车体8内设有第三空腔85,所述第三空腔85左侧的所述撒肥车体8内设有上下延伸设置的下料通道87,所述下料通道87顶部延伸末端与所述第一空腔82左侧延伸末端相连通设置,所述下料通道87底部延伸末端与所述第二空腔83相连通设置,所述第三空腔85右侧的所述撒肥车体8内设有第四空腔88,所述第四空腔88位于所述第二空腔83右侧延伸段的上方位置,所述第二空腔83内设有撒肥机构86,所述撒肥机构86内顶部端面内设有储肥槽861,所述撒肥机构86左侧的所述第二空腔83内设有顶压弹簧831,所述撒肥机构86右侧的所述第二空腔83内设有往复推动机构,所述第三空腔85内设有上下延伸设置的第一转动轴851,所述第一转动轴851顶部延伸段贯穿所述第三空腔85与所述第一空腔82之间的所述撒肥车体8内壁体且转动配合连接,所述第一转动轴851顶部延伸末端伸入所述第一空腔82内且末端固设有离心转动盘821,所述第一转动轴851底部延伸段贯穿所述第三空腔85与所述第二空腔83之间的所述撒肥车体8内壁体且转动配合连接,所述第一转动轴851底部延伸末端伸入所述储肥槽861内且末端固设有防堵搅拌叶854,所述第三空腔85内的所述第一转动轴851外表面上周向固设有第一锥轮853,所述第三空腔85与所述第四空腔88之间的所述撒肥车体8内设有用以分别与所述第一锥轮853和所述往复推动机构配合连接的驱进机构。
有益地,所述破碎箱9内设有破碎腔91,所述破碎腔91内左右对称设有转动破碎机构94,左右两侧所述转动破碎机构94之间的所述破碎箱91内顶壁设有进料口93,所述破碎箱91顶部端面设有底部与所述进料口93顶部相连通设置的进料斗92,从而通过控制左右两侧的转动破碎机构94相对转动,实现对经进料口93落入破碎腔91内的结块肥料进行初次破碎工作,提高结块肥料的破碎效率以及效率。
有益地,所述驱进机构包括电机89以及配合连接设置在所述电机89左右两侧且分别向远离所述电机89一侧延伸设置的第二转动轴891,所述电机89左侧的所述第二转动轴891远离所述电机89一侧延伸段贯穿所述第三空腔85右侧内壁且转动配合连接,所述电机89左侧的所述第二转动轴891远离所述电机89一侧延伸末端伸入所述第三空腔85内且末端固设有与所述第一锥轮853啮合连接的第二锥轮852,所述电机89右侧的所述第二转动轴891远离所述电机89一侧延伸段贯穿所述第四空腔88左侧内壁且转动配合连接,所述电机89右侧的所述第二转动轴891远离所述电机89一侧延伸末端伸入所述第四空腔88内且末端固设有第三锥轮881,从而实现自动控制离心转动盘821转动,使落入离心转动盘821上的肥料经离心转动盘821转动并甩入下料通道87与第一空腔82相连处的下料通道87内,通过下料通道87上的破碎齿871进而二次破碎工作,同时,自动控制储肥槽861内的防堵搅拌叶854持续转动工作,防止肥料过多堆积在储肥槽861内而造成施肥孔862堵塞,同时,自动控制往复推动机构工作。
有益地,所述储肥槽861内底壁设有多组等距排布且贯穿所述撒肥机构86底部端面的施肥孔862。
有益地,所述往复推动机构包括上下延伸设置的第三转动轴883,所述第三转动轴883顶部延伸段贯穿所述第四空腔88与所述第二空腔83之间的所述撒肥机构86内壁体且转动配合连接,所述第三转动轴883顶部延伸末端伸入所述第四空腔88内且末端固设有与所述第三锥轮881啮合连接的第四锥轮882,所述第三转动轴883底部延伸末端与所述第二空腔83内底壁转动配合连接,所述第二空腔83内的所述第三转动轴883上周向固设有与所述撒肥机构86右侧外端面顶压滑动配合连接的偏心轮884,从而实现带动撒肥机构86往复左右移动,实现均匀施肥工作。
有益地,所述下料通道87左侧内壁设有多组等距排布的破碎齿871。
当需要施肥工作时,首先将撒肥车体8移动至需要撒肥的位置处,让将肥料倒入进料斗92内,同时,控制左右两侧的转动破碎机构94相对转动以及控制电机89转动,此时,倒入进料斗92内的肥料经进料口93落入破碎腔91内,使左右两侧的转动破碎机构94对落入破碎腔91内的部分结块肥料进行初次破碎工作,同时,经左右两侧的转动破碎机构94破碎后的肥料以及其余肥料经左右两侧转动破碎机构94之间的空隙落入漏斗入料腔81内,落入漏斗入料腔81内的肥料经漏斗入料腔81内的漏斗斜面滑落至第一空腔82内的离心转动盘821顶部端面,此时,由于电机89控制转动,并由电机89带动左右两侧的第二转动轴891转动,由电机89左侧的第二转动轴891带动第二锥轮852转动,进而由第二锥轮852带动第一锥轮853以及第一锥轮853上的第一转动轴851转动,此时,由第一转动轴851带动顶部的离心转动盘821以及底部的防堵搅拌叶854同时转动,使落入离心转动盘821顶部端面的肥料经离心转动盘821的转动被甩入下料通道87与第一空腔82相连处的下料通道87内,并使被离心转动盘821甩出的肥料与下料通道87左侧端面上的的破碎齿871相撞击,实现二次破碎工作,此时,撞击后的肥料经下料通道87落入储肥槽861内,并通过防堵搅拌叶854的持续转动,使落入储肥槽861内的肥料搅拌均匀,同时,使肥料通过施肥孔862实现自动撒肥工作,同时,由电机89右侧的第二转动轴891带动第三锥轮881转动,进而由第三锥轮881带动第四锥轮882以及第四锥轮882上的第三转动轴883转动,并由第三转动轴883上的偏心轮884与撒肥机构86右侧外表面顶压滑动配合转动,使撒肥机构86通过与偏心轮884以及顶压弹簧831顶压配合实现往复左右滑动,实现提高撒肥的范围提及均匀性,当偏心轮884最大程度远离第三转动轴883中心线一侧的外表面与撒肥机构86右侧外端面抵压滑动配合连接时,此时,使撒肥机构86最大程度克服顶压弹簧831的顶压最大程度滑动至第二空腔83内的左侧位置如图4所示。
本发明的有益效果是:
1.通过撒肥机构左侧的第二空腔内设顶压弹簧,撒肥机构右侧的第二空腔内设往复推动机构,第三空腔内设上下延伸设置的第一转动轴,第一转动轴顶部延伸段贯穿第三空腔与第一空腔之间的撒肥车体内壁体且转动配合连接,第一转动轴顶部延伸末端伸入第一空腔内且末端固设离心转动盘,第一转动轴底部延伸段贯穿第三空腔与第二空腔之间的撒肥车体内壁体且转动配合连接,第一转动轴底部延伸末端伸入储肥槽内且末端固设防堵搅拌叶,第三空腔内的第一转动轴外表面上周向固设第一锥轮,第三空腔与第四空腔之间的撒肥车体内设用以分别与第一锥轮和往复推动机构配合连接的驱进机构,从而实现自动控制带动施肥以及破碎工作,提高施肥工作效率以及施肥质量,延长设备使用寿命。
2.通过驱进机构包括电机以及配合连接设置在电机左右两侧且分别向远离电机一侧延伸设置的第二转动轴,电机左侧的第二转动轴远离电机一侧延伸段贯穿第三空腔右侧内壁且转动配合连接,电机左侧的第二转动轴远离电机一侧延伸末端伸入第三空腔内且末端固设与第一锥轮啮合连接的第二锥轮,电机右侧的第二转动轴远离电机一侧延伸段贯穿第四空腔左侧内壁且转动配合连接,电机右侧的第二转动轴远离电机一侧延伸末端伸入第四空腔内且末端固设第三锥轮,从而实现自动控制离心转动盘转动,使落入离心转动盘上的肥料经离心转动盘转动并甩入下料通道与第一空腔相连处的下料通道内,通过下料通道上的破碎齿进而二次破碎工作,同时,自动控制储肥槽内的防堵搅拌叶持续转动工作,防止肥料过多堆积在储肥槽内而造成施肥孔堵塞,同时,自动控制往复推动机构工作。
3.通过往复推动机构包括上下延伸设置的第三转动轴,第三转动轴顶部延伸段贯穿第四空腔与第二空腔之间的撒肥机构内壁体且转动配合连接,第三转动轴顶部延伸末端伸入第四空腔内且末端固设与第三锥轮啮合连接的第四锥轮,第三转动轴底部延伸末端与第二空腔内底壁转动配合连接,第二空腔内的第三转动轴上周向固设与撒肥机构右侧外端面顶压滑动配合连接的偏心轮,从而实现带动撒肥机构往复左右移动,实现均匀施肥工作。
4.本发明结构简单,操作方便,能实现自动控制离心转动盘转动,使落入离心转动盘上的肥料经离心转动盘转动并甩入下料通道与第一空腔相连处的下料通道内,通过下料通道上的破碎齿进而二次破碎工作,同时,自动控制储肥槽内的防堵搅拌叶持续转动工作,防止肥料过多堆积在储肥槽内而造成施肥孔堵塞,同时,自动控制往复推动机构工作,提高施肥工作效率以及施肥质量,延长设备使用寿命。
以上所述,仅为本发明的具体实施方式,但本发明的保护范围并不局限于此,任何不经过创造性劳动想到的变化或替换,都应涵盖在本发明的保护范围之内。因此,本发明的保护范围应该以权利要求书所限定的保护范围为准。
技术研发人员:方流生
技术所有人:宁波鄞州台本荣机械设备有限公司
备 注:该技术已申请专利,仅供学习研究,如用于商业用途,请联系技术所有人。
声 明 :此信息收集于网络,如果你是此专利的发明人不想本网站收录此信息请联系我们,我们会在第一时间删除
