一种林业树木驱虫装置的制作方法

本技术属于驱虫设备,具体涉及一种林业树木驱虫装置。
背景技术:
1、在园林中蚊虫较多,一般通过诱捕灯将昆虫吸引过来后,通过通电的导电网对蚊虫进行诱捕灭杀,但电网长时间使用过电网上容易粘连大量蚊虫的昆虫尸体,目前的驱虫设备在清理电网时需要对电网进行拆卸,对电网进行清理,操作过程十分不便,其中申请号为“cn202322027127.x”所公开的“一种园林和林业用驱虫装置”也是日益成熟的技术,通过拔掉限位插杆,拉动拉环,将u型限位杆拉出,u型限位杆脱离通电框架的顶部,从拉动把手,将导电网移出,使得通电框架底部的插头脱离安装架上的插座,从导电网断电,将通电框架和导电网拆卸出,从而对导电网上昆虫残渣进行清理,但是该装置还存在以下缺陷:在实际使用时,设备在安装时将安装架在地面,利用固定桩对设备进行固定,但在不同场地使用时需要将固定桩拆卸,移动设备并重新安装,影响设备在不同场地进行移动,同时安装过程不够便捷,在水泥地等场地需要地面钻孔安装,具有一定局限性。
技术实现思路
1、本实用新型的目的在于提供一种林业树木驱虫装置,旨在解决现有技术中设备在安装时将安装架在地面,利用固定桩对设备进行固定,但在不同场地使用时需要将固定桩拆卸,移动设备并重新安装,影响设备在不同场地进行移动,同时安装过程不够便捷,在水泥地等场地需要地面钻孔安装,具有一定局限性的问题。
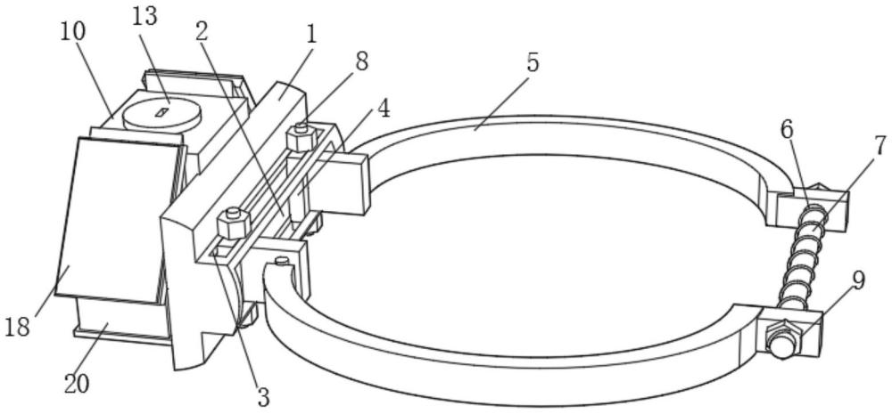
2、为实现上述目的,本实用新型提供如下技术方案:包括支撑横杆,所述支撑横杆一边侧开设有活动槽,所述活动槽内壁顶部与底部开设有滑槽,所述滑槽内滑动连接有t型架,所述t型架一侧铰接有抱箍环,所述抱箍环一端开设有闭合孔,所述闭合孔内螺纹连接有第一螺杆,所述t型架顶部与底部设有第二螺杆,所述第一螺杆与第二螺杆端头处设有防脱螺母,所述支撑横杆另一边侧设有限位筒,所述限位筒一边侧开设有吸引槽,所述吸引槽内壁顶部开设有螺纹孔,所述螺纹孔内螺纹连接有安装座,所述安装座底部设有诱捕灯。
3、本实用新型的一种林业树木驱虫装置实施方案中,所述安装座底部边侧设有电网。
4、在本方案中,通过诱捕灯对吸引林园飞虫进入吸引槽内,通过电网对飞入吸引槽内的飞虫进行消灭。
5、本实用新型的一种林业树木驱虫装置实施方案中,所述吸引槽内壁底部设有收集漏斗,所述限位筒底部螺纹连接有收集筒。
6、在本方案中,被电网消灭的飞虫落入收集漏斗内并落入收集筒内。
7、本实用新型的一种林业树木驱虫装置实施方案中,所述限位筒两侧设有光伏架,所述光伏架一边侧设有太阳能光伏板。
8、在本方案中,通过太阳能光伏板转化光能,使电网与诱捕灯正常使用。
9、本实用新型的一种林业树木驱虫装置实施方案中,所述太阳能光伏板底部设有蓄电池,所述安装座顶部开设有usb电源接口。
10、在本方案中,通过蓄电池对电能进行储存,将插头插入usb电源接口,用于连接蓄电池进行供电。
11、本实用新型的一种林业树木驱虫装置实施方案中,所述防脱螺母内侧设有防滑垫。
12、在本方案中,在使用过程中翻转抱箍环,通过防脱螺母固定抱箍环的连接状态,利用抱箍环将设备固定在灯柱或树木表面。
13、与现有技术相比,本实用新型的有益效果是:
14、通过滑动活动槽内滑槽中的t型架,提高抱箍环闭合宽度,通过拧紧防脱螺母,固定第二螺杆位置,翻转抱箍环,将抱箍环夹持在路灯或树木枝干处,安装第一螺杆并利用防脱螺母固定第一螺杆两端,抱箍环加紧路灯或树木枝干表面,对设备进行固定,设备便于安装于林园不同位置,不受场地限制。
技术特征:
1.一种林业树木驱虫装置,其特征在于:包括支撑横杆(1),所述支撑横杆(1)一边侧开设有活动槽(2),所述活动槽(2)内壁顶部与底部开设有滑槽(3),所述滑槽(3)内滑动连接有t型架(4),所述t型架(4)一侧铰接有抱箍环(5),所述抱箍环(5)一端开设有闭合孔(6),所述闭合孔(6)内螺纹连接有第一螺杆(7),所述t型架(4)顶部与底部设有第二螺杆(8),所述第一螺杆(7)与第二螺杆(8)端头处设有防脱螺母(9),所述支撑横杆(1)另一边侧设有限位筒(10),所述限位筒(10)一边侧开设有吸引槽(11),所述吸引槽(11)内壁顶部开设有螺纹孔(12),所述螺纹孔(12)内螺纹连接有安装座(13),所述安装座(13)底部设有诱捕灯(14)。
2.根据权利要求1所述的一种林业树木驱虫装置,其特征在于:所述安装座(13)底部边侧设有电网(15)。
3.根据权利要求1所述的一种林业树木驱虫装置,其特征在于:所述吸引槽(11)内壁底部设有收集漏斗(16),所述限位筒(10)底部螺纹连接有收集筒(17)。
4.根据权利要求1所述的一种林业树木驱虫装置,其特征在于:所述限位筒(10)两侧设有光伏架(18),所述光伏架(18)一边侧设有太阳能光伏板(19)。
5.根据权利要求4所述的一种林业树木驱虫装置,其特征在于:所述太阳能光伏板(19)底部设有蓄电池(20),所述安装座(13)顶部开设有usb电源接口(21)。
6.根据权利要求1所述的一种林业树木驱虫装置,其特征在于:所述防脱螺母(9)内侧设有防滑垫。
技术总结
本技术提供一种林业树木驱虫装置,属于驱虫设备技术领域,包括支撑横杆,支撑横杆一边侧开设有活动槽,活动槽内壁顶部与底部开设有滑槽,滑槽内滑动连接有T型架,T型架一侧铰接有抱箍环,抱箍环一端开设有闭合孔,闭合孔内螺纹连接有第一螺杆,T型架顶部与底部设有第二螺杆,第二螺杆端头处设有防脱螺母,支撑横杆另一边侧设有限位筒,限位筒一边侧开设有吸引槽,吸引槽内壁顶部开设有螺纹孔,螺纹孔内螺纹连接有安装座,安装座底部设有诱捕灯,本技术提供一种林业树木驱虫装置,通过滑动活动槽内滑槽中的T型架,将抱箍环夹持在路灯或树木枝干处,安装第一螺杆并利用防脱螺母固定第一螺杆两端,抱箍环夹紧路灯或树木枝干表面。
技术研发人员:李盈,宋宏进
受保护的技术使用者:李盈
技术研发日:20240110
技术公布日:2024/9/2
技术研发人员:李盈,宋宏进
技术所有人:李盈
备 注:该技术已申请专利,仅供学习研究,如用于商业用途,请联系技术所有人。
声 明 :此信息收集于网络,如果你是此专利的发明人不想本网站收录此信息请联系我们,我们会在第一时间删除
